lemon-mirror:
Home >> BMW >> 2006 >> M6 >> Repair and Diagnosis >> Electrical >> Charging Systems >> General Electrical System - Repair >> Plug Connection Terminal >> 61 13 ... Repairing ribbon cables

61 13 ... Repairing ribbon cables

Special tools required: 

NOTE: For special tools, refer to BODY ELECTRICAL - SPECIAL TOOLS - 645CI (E63) .

Place ribbon cables (1) in connector housing (2) and close cover (3).

Fig 1: Placing Ribbon Cables In Connector Housing
G03288125Courtesy of BMW OF NORTH AMERICA, INC.

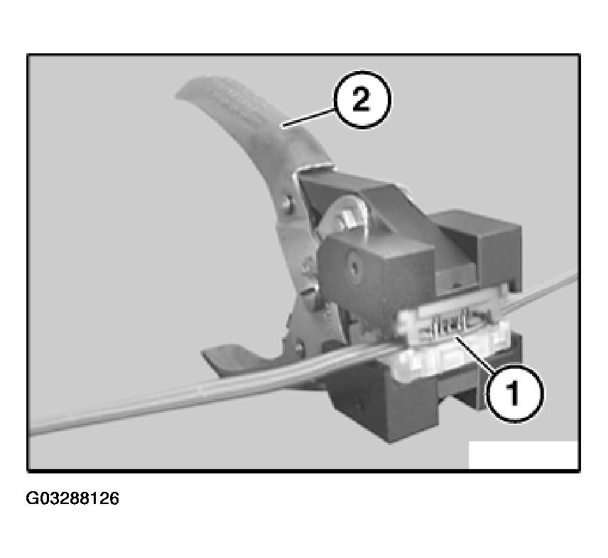
Place connector housing (1) in pliers (2) 61 1 190.

Close pliers (2).

Fig 2: Placing Connector Housing In Pliers
G03288126Courtesy of BMW OF NORTH AMERICA, INC.