lemon-mirror:
Home >> BMW >> 2011 >> 335d >> Repair and Diagnosis >> Electrical >> Charging Systems >> General Electrical System - Repair >> Plug Connection, Terminal, Fuse Box >> 6113... Relay carrier

6113... Relay carrier

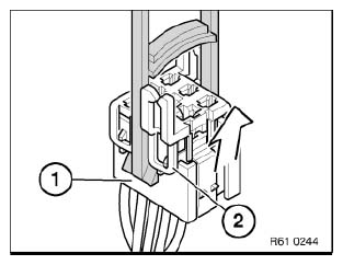
Place special tool 61 1 153 against relay carrier (1) and carefully pull in direction of arrow until the locking tabs (2) of the relay carrier are raised up.

Fig 1: Pulling Relay Carrier In Direction Of Arrow
G04727537Courtesy of BMW OF NORTH AMERICA, INC.

Pull relay carrier (2) in direction of arrow into the first catch (3).

Fig 2: Pulling Relay Carrier In Direction Of Arrow Into First Catch
G04727538Courtesy of BMW OF NORTH AMERICA, INC.

Press down arrester hook (4) of corresponding contact and pull out the cable with contact.

With special tool 61 1 136 or 61 1 137 (press out) press out dual spring contacts.

Fig 3: Pressing Down Arrester Hook Of Corresponding Contact
G04727539Courtesy of BMW OF NORTH AMERICA, INC.