lemon-mirror:
Home >> BMW >> 2012 >> 528i >> Repair and Diagnosis >> Body & Frame >> Windows >> General Electrical System - Repair >> Plug Connection, Terminal, Power Distribution Box >> 61 13... Crimping end wires

61 13... Crimping end wires

Special tools required: 

  1. Crimping contact sleeves for 4 mm 2  comb connectors and ignition cable contacts 

    Use special tool kit 12 1 080 to attach ignition cable contacts and crimp 4 mm2 contact sleeves for comb connectors.

    See repair instructions 

    Special tools for wiring harness repairs.

    Fig 1: Identifying Hand Pliers (12 1 081)
    G04727469Courtesy of BMW OF NORTH AMERICA, INC.

    Release special tool 12 1 081 :

    Squeeze grips (1) lightly and push release lever (2) in direction of arrow.

    Or:

    Compress handles until limit position, hand pliers unlock automatically.

    Fig 2: Pushing Release Lever
    G04727470Courtesy of BMW OF NORTH AMERICA, INC.

    Place 4 mm2 contact sleeve in nest with anti-twist safeguard (1) as far as possible.

    Fig 3: Locating Contact Sleeve With Anti-Twist Safeguard
    G04727471Courtesy of BMW OF NORTH AMERICA, INC.

    Preload contact by squeezing matrix in crimping tool. Grip contact (1) firmly only, do not crimp.

    Fig 4: Identifying Grip Contact And Crimping Tool
    G04727472Courtesy of BMW OF NORTH AMERICA, INC.
    NOTE: Follow procedure for cutting and stripping insulation from cables.

    Insert stripped end of wire (7) in the contact. Ensure insulation and stripped wire end are correctly laid in contact.

    Compress crimping tool to limit position.

    Crimping tool unlocks automatically.

    Take contact out of crimping tool.

    Fig 5: Inserting Stripped End Of Wire In Contact
    G04727473Courtesy of BMW OF NORTH AMERICA, INC.
  2. Checking crimping 

    Check insulation crimping (8) and wire crimp (9) against following illustrations to ensure crimps are correctly located.

    NOTE: Illustration shows butt connectors and contact sleeves for comb connectors knocked on one side. The crimping procedure is identical here.
    Fig 6: Identifying Insulation Crimping And Wire Crimp
    G04727474Courtesy of BMW OF NORTH AMERICA, INC.

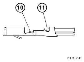
    Correct crimping: 

    Visible conductor end (10).

    Visible insulation end (11).

    Fig 7: Identifying Visible Conductor End And Visible Insulation End
    G04727475Courtesy of BMW OF NORTH AMERICA, INC.

    Incorrect crimping: 

    Conductor end (10) inserted too far.

    Insulation end (11) in wire crimp.

    If necessary, repeat crimping with a new contact.

    Fig 8: Identifying Conductor End In Wire Crimp Incorrect Position
    G04727476Courtesy of BMW OF NORTH AMERICA, INC.

    Incorrect crimping: 

    Conductor end (10) not visible.

    Insulation end (11) not visible.

    If necessary, repeat crimping with a new contact.

    Fig 9: Identifying Conductor End Incorrect Position
    G04727477Courtesy of BMW OF NORTH AMERICA, INC.