lemon-mirror:
Home >> Buick >> 2005 >> LeSabre Custom, 4T65E/MN3 >> Repair and Diagnosis >> Engine Performance >> System >> Engine Controls - Introduction >> Schematic and Routing Diagrams >> Engine Controls Schematics

Engine Controls Schematics

Fig 1: Module Power, Ground, Serial Data and MIL Schematics
GM886529Courtesy of GENERAL MOTORS CORP.
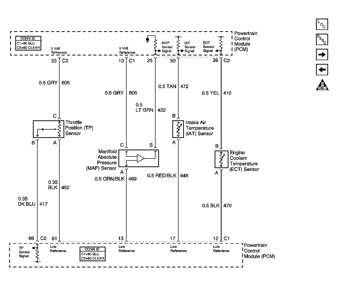
Fig 2: Engine Data Sensors - 5 Volt and Low Reference Schematics
GM886532Courtesy of GENERAL MOTORS CORP.
Fig 3: Engine Data Sensors - Pressure and Temperature Schematics
GM789171Courtesy of GENERAL MOTORS CORP.
Fig 4: Engine Data Sensors - MAF, VSS and Extended Brake Travel Switch Schematics
GM886537Courtesy of GENERAL MOTORS CORP.
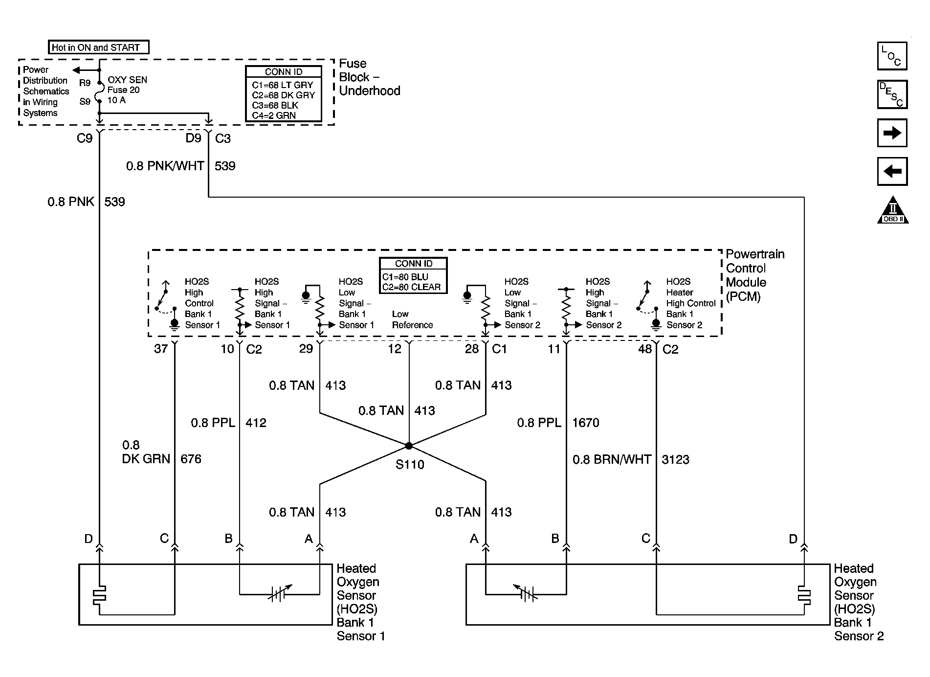
Fig 5: Engine Data Sensors - HO2S Schematics
GM1326867Courtesy of GENERAL MOTORS CORP.
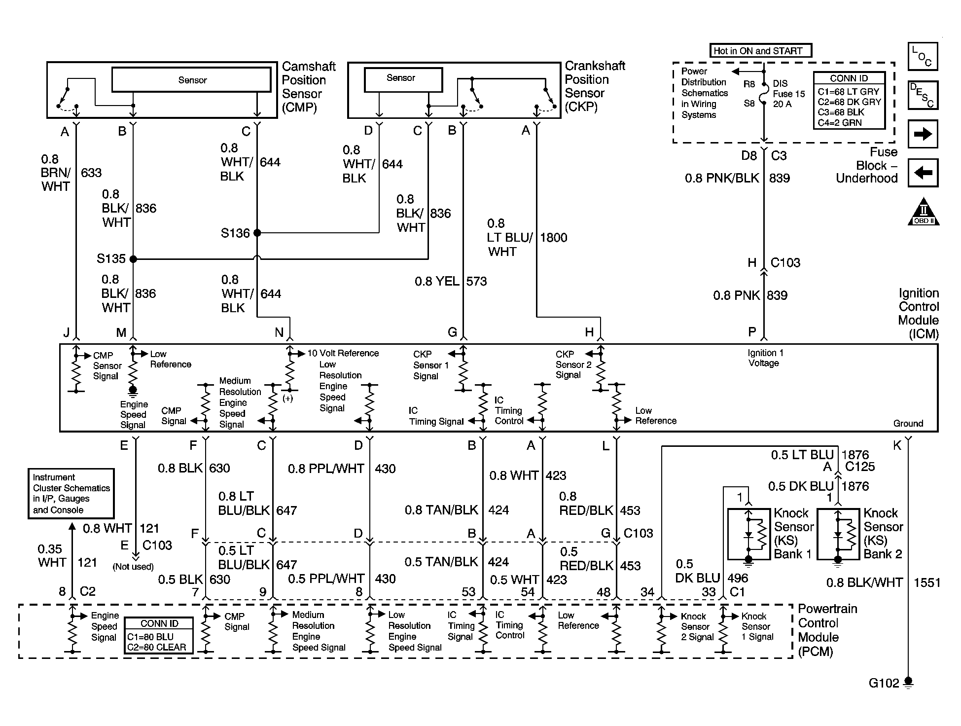
Fig 6: Ignition Controls - Ignition System Sensors Schematics
GM886534Courtesy of GENERAL MOTORS CORP.
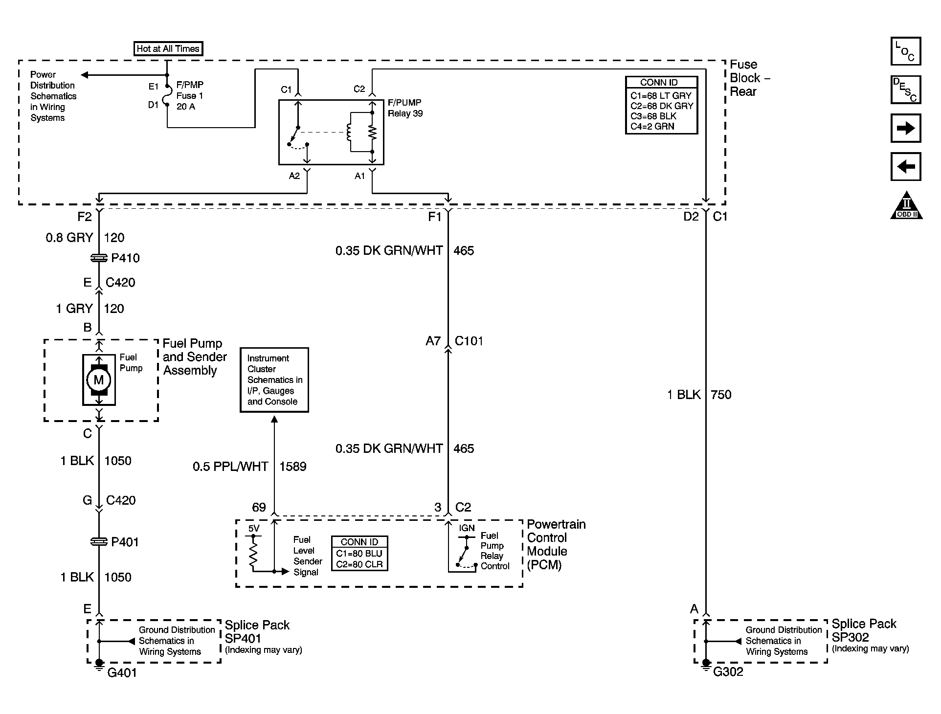
Fig 7: Fuel Controls - Fuel Pump Controls Schematics
GM886541Courtesy of GENERAL MOTORS CORP.
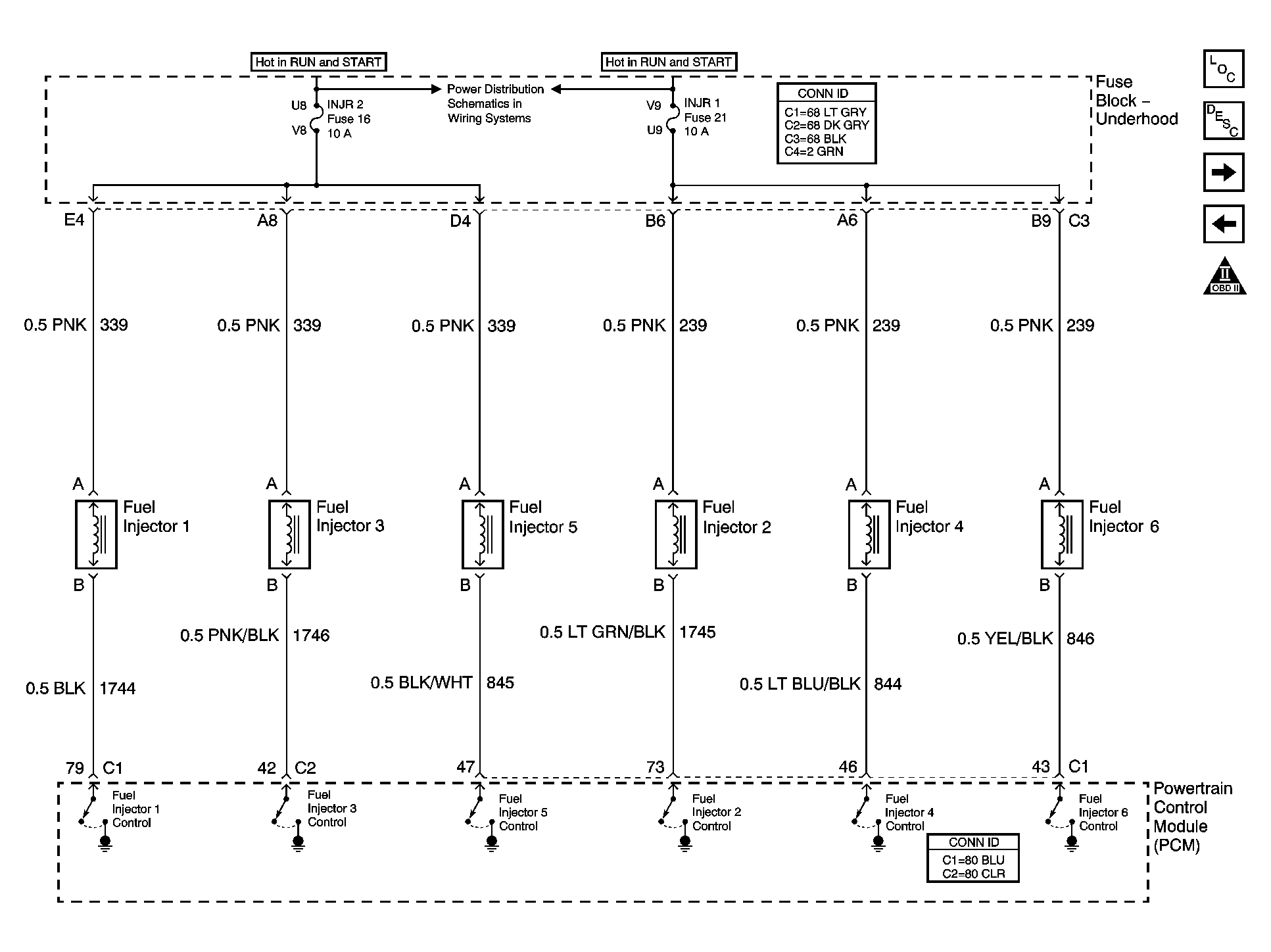
Fig 8: Fuel Controls - Fuel Injectors Schematics
GM886542Courtesy of GENERAL MOTORS CORP.
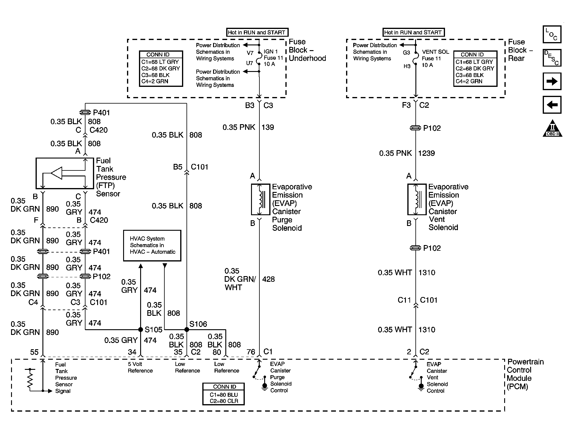
Fig 9: Fuel Controls - EVAP Controls Schematics
GM886546Courtesy of GENERAL MOTORS CORP.
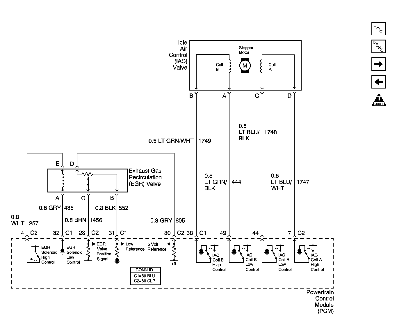
Fig 10: Device Controls - EGR & IAC Schematics
GM870122Courtesy of GENERAL MOTORS CORP.
Fig 11: Controlled/Monitored Subsystem References
GM1545395Courtesy of GENERAL MOTORS CORP.
Fig 12: Transmission Controls - A/T Schematics
GM789192Courtesy of GENERAL MOTORS CORP.