lemon-mirror:
Home >> Cadillac >> 1983 >> Cimarron Automatic >> Repair and Diagnosis >> Engine Performance >> System >> TBI Tests W/Codes >> Code 13: Open Oxygen (O2) Sensor Circuit

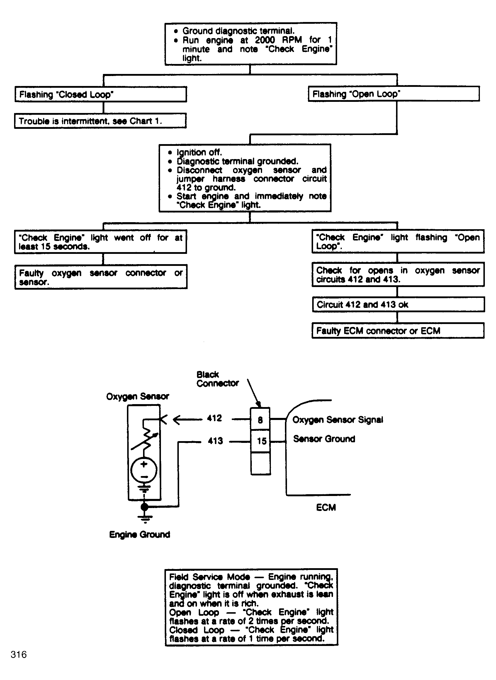
Code 13: Open Oxygen (O2) Sensor Circuit

Fig 1: Code 13: Open Oxygen (O2) Sensor Circuit Flow Chart
G316
Fig 2: Code 13: Open Oxygen (O2) Sensor Circuit Flow Chart
GB0045663