lemon-mirror:
Home >> Cadillac >> 1988 >> Seville Base >> Repair and Diagnosis >> Engine Performance >> System >> DFI BCM Tests W/Codes >> BCM Code B420 - Relay Circuits >> Notes On INTERMITTENTS

Notes On INTERMITTENTS

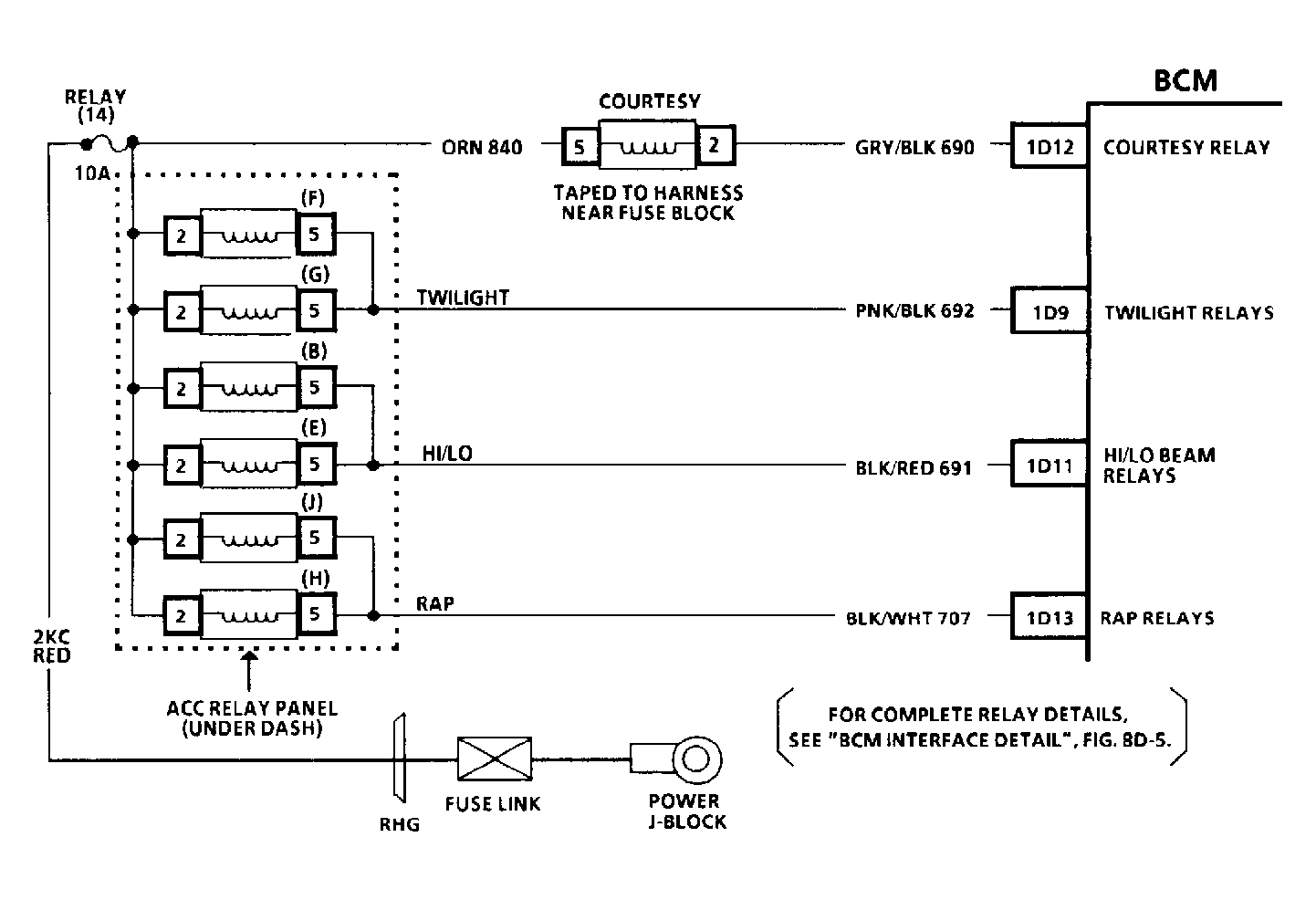
Since all 4 groups of relays can cause an intermittent condition, see NOTES ON INTERMITTENTS for courtesy light relay, twilight relays, high/low beam relays, or retained accessory power relays.

Fig 1: Code B420 Schematic, Relay Circuits
G57424
Fig 2: Code B420 Flow Chart, Relay Circuits
G57426
Fig 3: Code B420 Flow Chart, Relay Circuits
GB0048584