lemon-mirror:
Home >> Cadillac >> 1990 >> Allante F7/ME9 >> Repair and Diagnosis >> Engine Performance >> System >> Engine Controls - System & Component Testing >> Ignition Systems >> Ignition System Components >> Module

Ignition System Components: Module

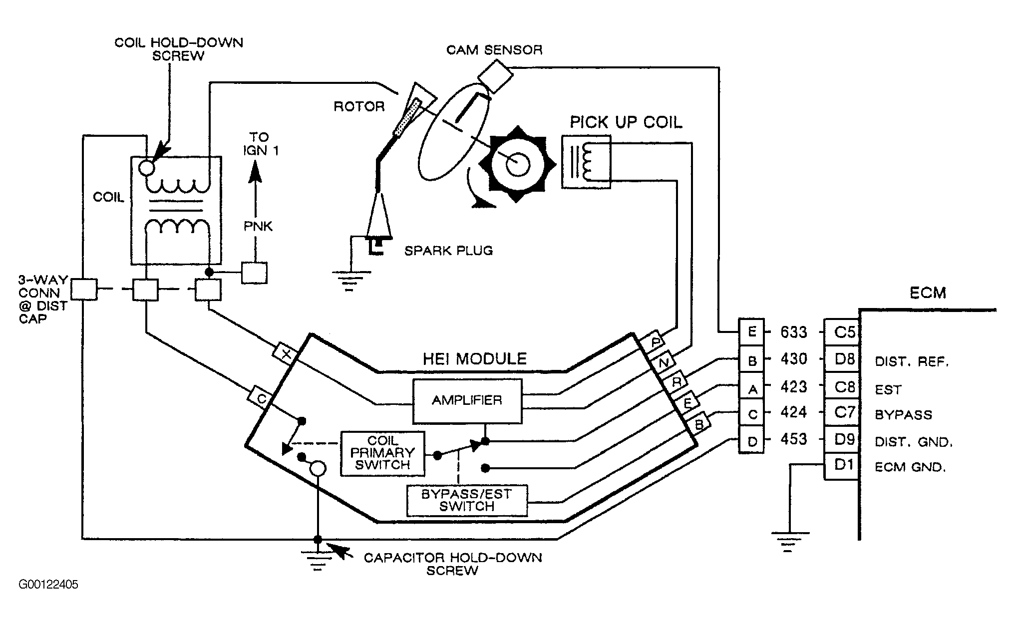
The EST system consists of distributor module, ECM, and connecting wires. The distributor has four wires that connect HEI module to ECM. The connector terminals are lettered as shown. See Fig 1 . These circuits perform following functions:

Fig 1: Testing Pick-Up CoilCircuit
G00122405Courtesy of GENERAL MOTORS CORP.