lemon-mirror:
Home >> Cadillac >> 1992 >> Allante F7/ME9 >> Repair and Diagnosis >> Body & Frame >> Body, Cab Control Systems >> Body Computer Module >> Operation >> OUTPUT SWITCHING MODULES (OSMs) >> Notes

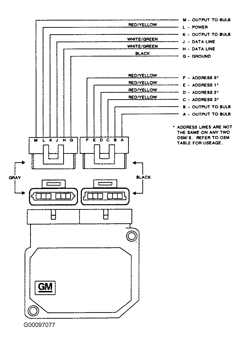
OUTPUT SWITCHING MODULES (OSMs): Notes

Each OSM is a solid state switching device that consists of:

  1. Four outputs to power lamps
  2. Address pins that will uniquely identify the OSM when connected to the vehicle harness
  3. Two data line inputs that are used to communicate with the BCM
  4. A power and ground connection
Based on the commands the OSM receives from the BCM, the OSM will turn on and off its outputs, which results in the headlamp, tail lamp, turn signal lamp, or courtesy lamp operation required under the particular operation condition. For a detailed general and specific bulbs, addresses, power and ground for each OSM, refer to illustrations. See Fig 1 and Figure .

Fig 1: Identifying Typical Output Switching Module & Wiring
G00097077Courtesy of GENERAL MOTORS CORP.