lemon-mirror:
Home >> Cadillac >> 1992 >> Seville Base >> Repair and Diagnosis >> Engine Performance >> System >> Engine Controls - Tests W/Codes >> Self-Diagnostic System >> Status Lights Display

Status Lights Display

Upon entering PCM system level of self-diagnostic mode, indicator lights on ECC panel automatically indicate operational status of Viscous Converter Clutch (VCC), certain emission control components and A/C compressor operation. Operational status of these components is indicated by corresponding status light being on or off. See Fig 1 .

Fig 1: Identifying PCM Status Indicators
G92D04896Courtesy of GENERAL MOTORS CORP.
Fig 2: SERVICE MODE Chart (1 of 2)
G92I04894Courtesy of GENERAL MOTORS CORP.
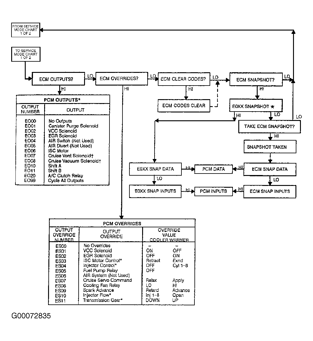
Fig 3: SERVICE MODE Chart (2 Of 2)
G00072835Courtesy of GENERAL MOTORS CORP.