lemon-mirror:
Home >> Cadillac >> 1993 >> Allante >> Repair and Diagnosis >> Engine Performance >> System >> Engine Controls - Self-Diagnostics >> Powertrain Charts >> Powertrain Chart 1: Powertrain System Check

Powertrain Chart 1: Powertrain System Check

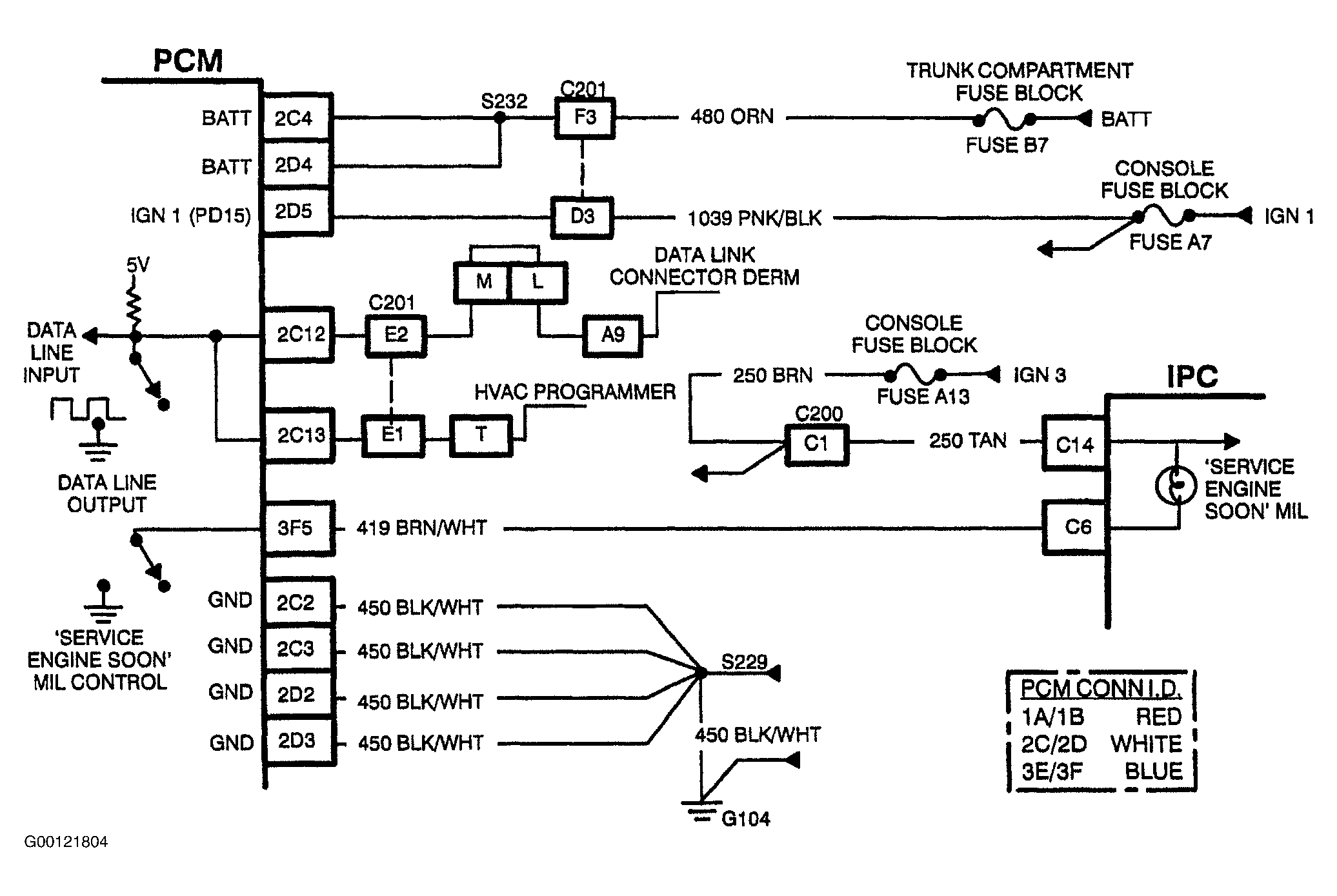
NOTE: Numbers in list refer to circled numbers in diagnostic flow chart, see Fig 1. For circuit identification see Fig 2.
  1. Checking if vehicle will enter diagnostics. If it will not, then there is an on-board diagnostic system fault that can be diagnosed by using the SELF-DIAGNOSTICS SYSTEM CHECK .
  2. Checking to see if the BCM is able to communicate with the PCM. If it is not, Code B334 will set or "NO PCM DATA" message will be displayed when using diagnostics.
  3. "SERVICE ENGINE SOON" MIL should be on when vehicle is in diagnostic mode.
  4. Checking if powertrain system is operational.
  5. Checking for PCM codes set that should be diagnosed.
  6. "SERVICE ENGINE SOON" MIL should be "OFF" with no codes set.
  7. Checking if a known customer complaint is causing the problem.
  8. If your complaint is not in the customer complaint list, perform the system check which you feel may apply to your situation.
Fig 1: Powertrain Chart 1: Powertrain System Check Flow Chart
G00121805Courtesy of GENERAL MOTORS CORP.
Fig 2: Powertrain System Check Flow Chart Circuit
G00121804Courtesy of GENERAL MOTORS CORP.