lemon-mirror:
Home >> Cadillac >> 1993 >> Seville Base >> Repair and Diagnosis >> Engine Mechanical >> Engine Cooling Fan >> Testing >> FLEETWOOD

Engine Cooling Fan: Testing: FLEETWOOD

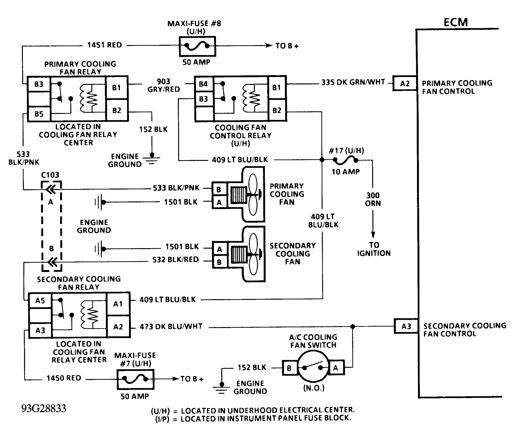
Fig 1: Chart C-12 - Wiring Diagram (1 Of 3)
G93G28833Courtesy of GENERAL MOTORS CORP.
Fig 2: Chart C-12, Cooling Fan Diagnosis - Flowchart (1 Of 3)
G93H28834Courtesy of GENERAL MOTORS CORP.
Fig 3: Chart C-12 - Wiring Diagram (2 Of 3)
G93G28833Courtesy of GENERAL MOTORS CORP.
Fig 4: Chart C-12, Cooling Fan Diagnosis - Flowchart (2 Of 3)
G93I28835Courtesy of GENERAL MOTORS CORP.
Fig 5: Chart C-12 - Wiring Diagram (3 Of 3)
G93G28833Courtesy of GENERAL MOTORS CORP.
Fig 6: Chart C-12, Cooling Fan Diagnosis - Flowchart (3 Of 3)
G93J28836Courtesy of GENERAL MOTORS CORP.
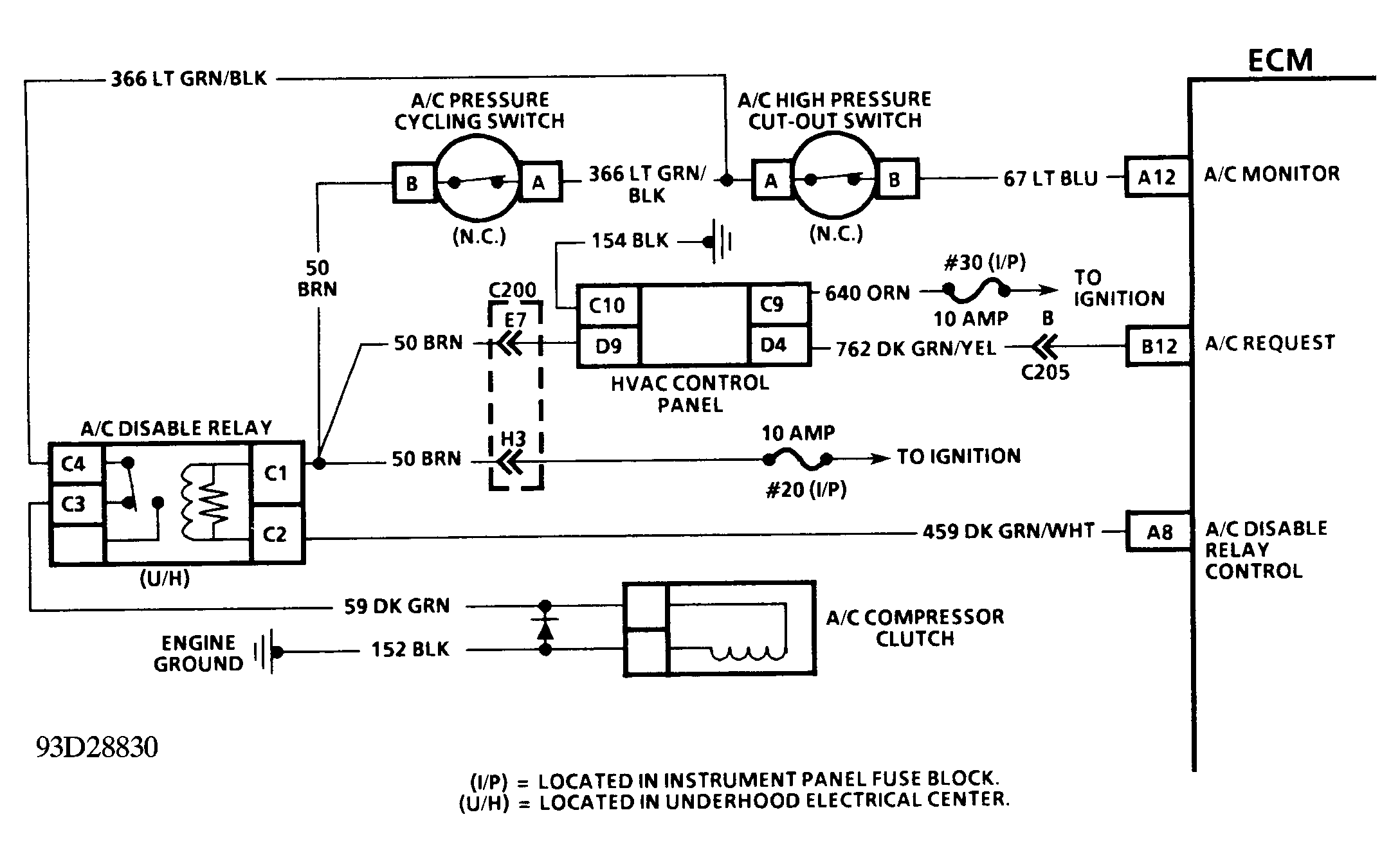
Fig 7: Chart C-10 - Wiring Diagram (1 Of 2)
G93D28830Courtesy of GENERAL MOTORS CORP.
Fig 8: Chart C-10, A/C Clutch Circuit Diagnosis - Flowchart (1 Of 2)
G93E28831Courtesy of GENERAL MOTORS CORP.
Fig 9: Chart C-10 - Wiring Diagram (2 Of 2)
G93D28830Courtesy of GENERAL MOTORS CORP.
Fig 10: Chart C-10, A/C Clutch Circuit Diagnosis - Flowchart (2 Of 2)
G93F28832Courtesy of GENERAL MOTORS CORP.