lemon-mirror:
Home >> Cadillac >> 1995 >> DeVille Base >> Repair and Diagnosis >> Engine Performance >> System >> Engine Controls - Tests W/Codes - 4.9L >> Pcm Code Charts >> Code P023, Ignition Control Circuit Problem >> Action

Code P023, Ignition Control Circuit Problem: Action

PCM turns on MIL and PCM-controlled spark is disabled for ignition cycle. PCM disables EGR solenoid.

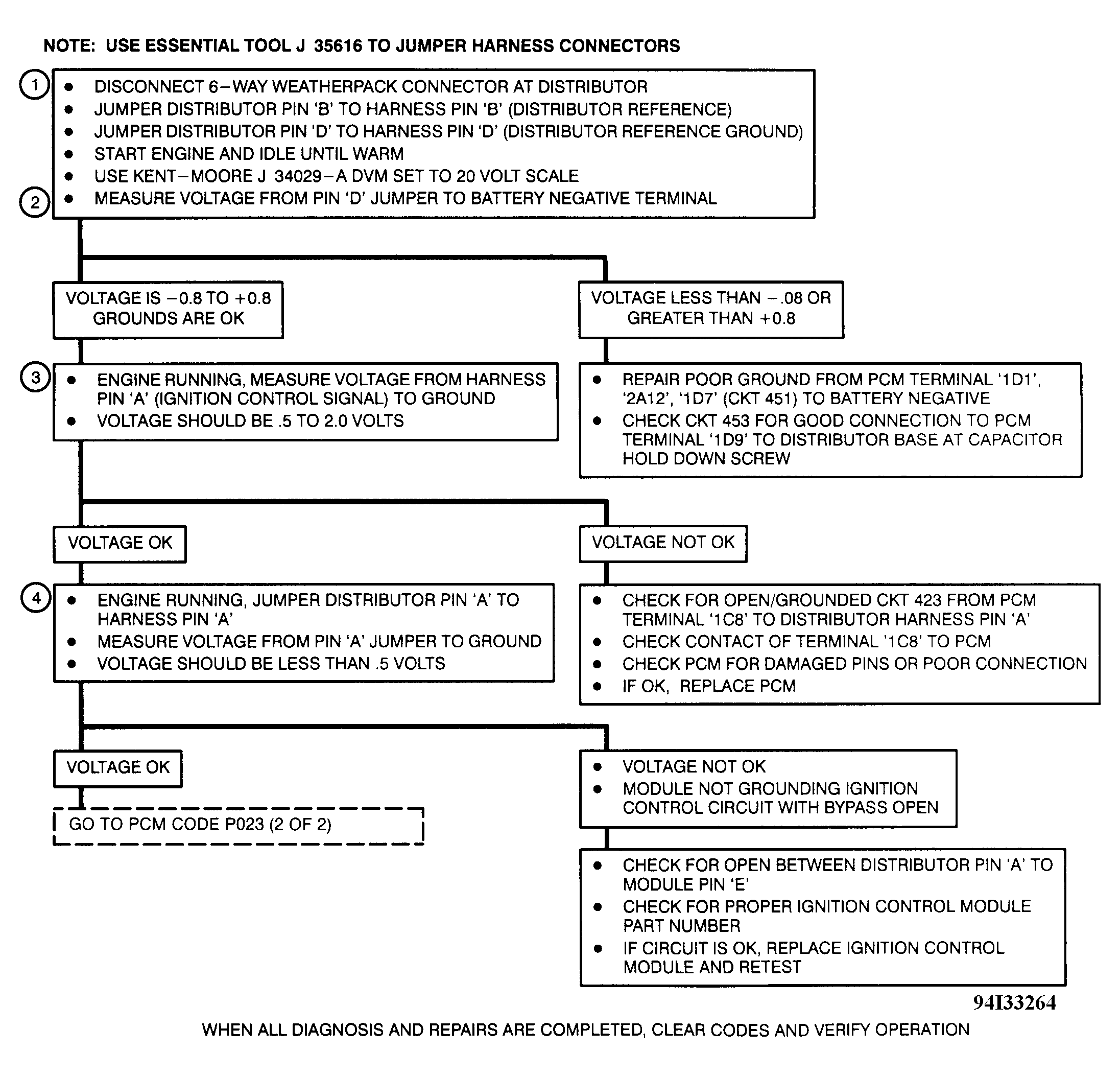
NOTE: Test numbers refer to numbers on diagnostic chart.
  1. When circuit No. 423 is shorted to ground, engine will start hard with long cranking periods. When PCM detects the grounded circuit, by-pass line will be shifted low.
  2. With distributor reference and distributor reference ground jumpered to PCM, engine will run on back-up spark. Checks for proper ground connection between PCM and engine, and PCM and ignition control module.
  3. Checks if PCM is providing an ignition control output on circuit No. 423.
  4. Checks if ignition control module is able to ground ignition control signal with an open by-pass circuit.
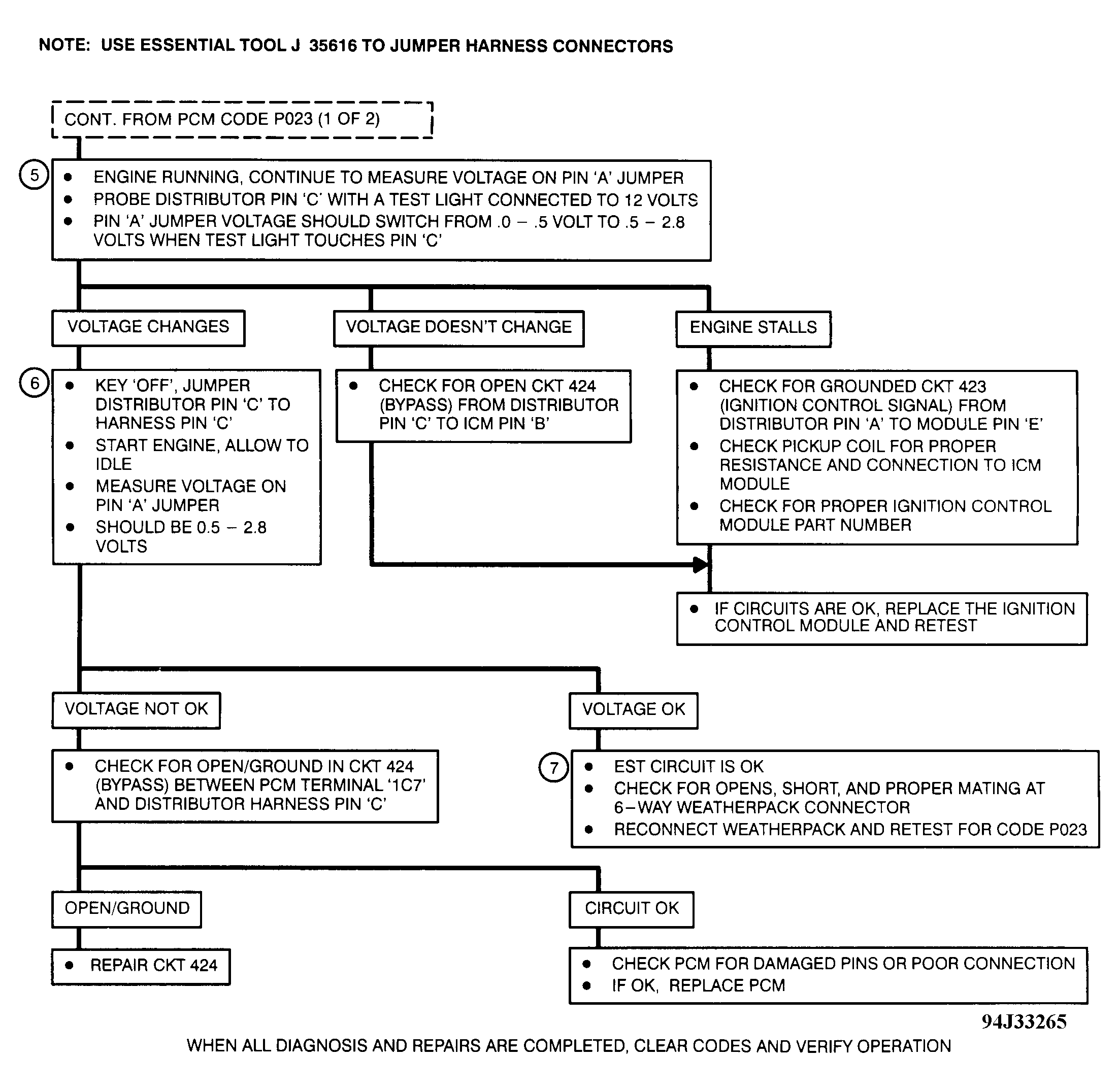
  5. Checks if ignition control module is able to recognize a voltage on by-pass circuit and stop grounding ignition control (PCM-controlled timing).
  6. Checks if by-pass signal being sent by PCM is being received by ignition control module and if module is interpreting by-pass voltage correctly by switching off the ground circuit to ignition control.
  7. If ignition control circuit is okay, then fault may exist in 6-way weatherpack connector. Check for proper connector mating and for pins backing out of weatherpack. If connector is okay, reconnect connector, clear codes and retest.
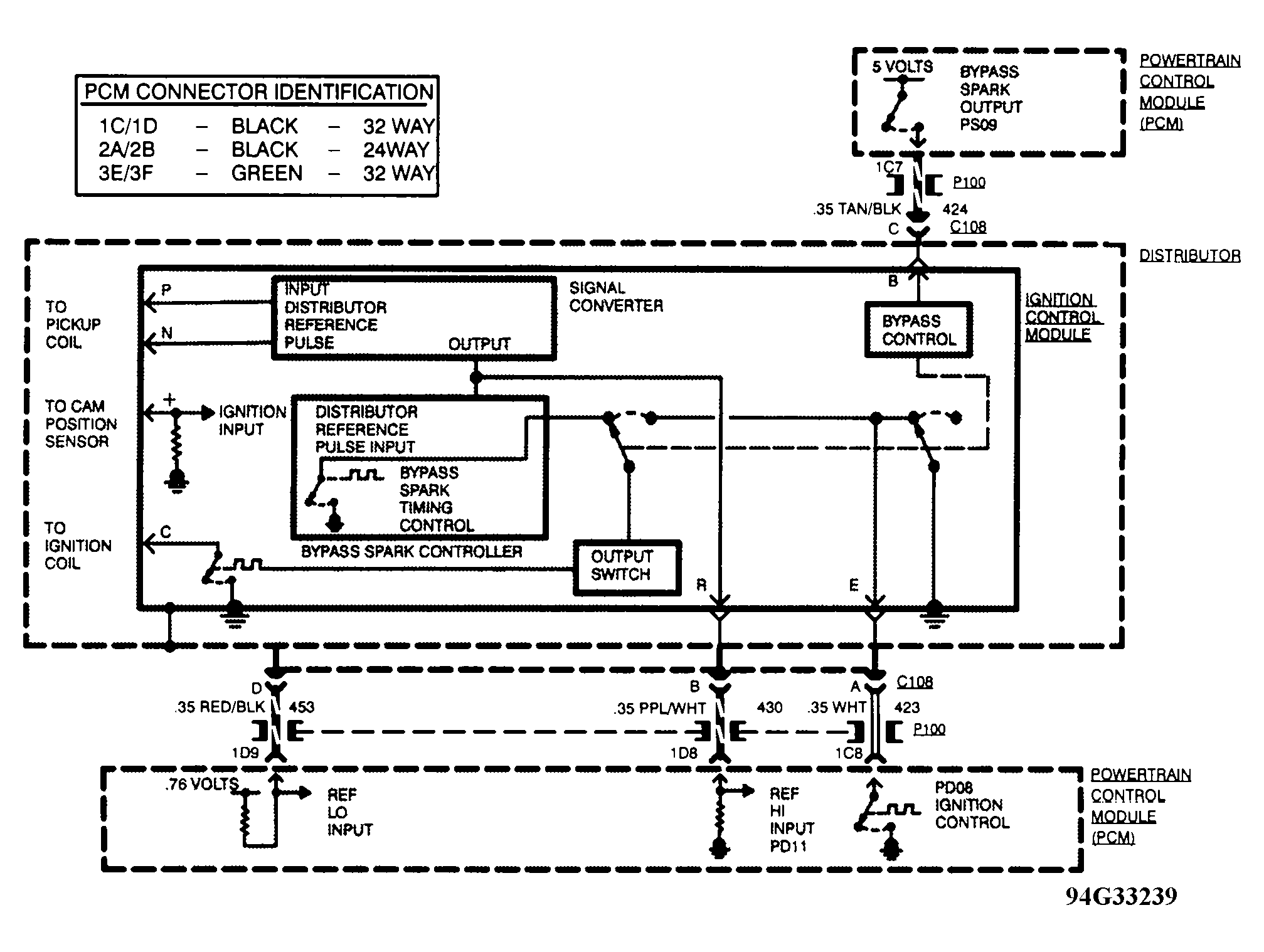
Fig 1: Code P023 Schematic - 1 Of 2, Ignition Control Circuit Problem
G94I33215Courtesy of GENERAL MOTORS CORP.
Fig 2: Code P023 Diagnostic Flow Chart - 1 Of 2, Ignition Control Circuit Problem
G94I33264Courtesy of GENERAL MOTORS CORP.
Fig 3: Code P023 Schematic - 2 Of 2, Ignition Control Circuit Problem
G94G33239Courtesy of GENERAL MOTORS CORP.
Fig 4: Code P023 Diagnostic Flow Chart - 2 Of 2, Ignition Control Circuit Problem
G94J33265Courtesy of GENERAL MOTORS CORP.