lemon-mirror:
Home >> Cadillac >> 2000 >> Seville SLS >> Repair and Diagnosis >> Body & Frame >> Body, Cab Control Systems >> Body Control Modules >> Self-Diagnostic System >> Scan Tool Does Not Communicate With Class 2 Device

Scan Tool Does Not Communicate With Class 2 Device

  1. If scan tool powers up, go to next step. If scan tool does not power up, go to SCAN TOOL DOES NOT POWER UP  .
  2. Turn ignition on. Attempt to establish communication with each module located along the class 2 serial data line. See CLASS 2 SERIAL DATA LINE  under OPERATION. If scan tool does not communicate with any modules, go to next step. If scan tool communicates with some or all modules, go to step  7 .
  3. Select DISPLAY DTC function for each module. If using a TECH 2 scan tool, select CLASS 2 MESSAGE MONITOR feature. Record all DTCs and what module they are set. If any DTCs from U1000 through U1255 are set, go to next step. If no DTCs from U1000 through U1255 are set, go to step  6 .
  4. If only DTC U1000 or U1255 is set, go to DTC U1000 & U1255: CLASS 2 COMMUNICATION MALFUNCTION  under DIAGNOSTIC TESTS. If DTCs between U1000 and U1255 are set, go to DTC U1001-U1254: LOSS XXX COMMUNICATIONS  under DIAGNOSTIC TESTS.
  5. Diagnose concern using DTC U1001-U1254: LOSS XXX COMMUNICATIONS  procedure under DIAGNOSTIC TESTS. After repairs, go to appropriate diagnostic system check for module that set DTC.
  6. Turn ignition off. Disconnect scan tool from Data Link Connector (DLC). Check for poor connections at DLC terminals No. 2 (Purple wire) and 5 (Black/White wire). If connections are okay, go to next step. if faulty connections are found and repaired, go to appropriate diagnostic system check for module that set DTC.
  7. Check for open in Black/White or Black wire between DLC and ground connections G200 and G201. See Fig 1 . If circuits are okay, go to next step. If faulty circuit is found and repaired, go to appropriate diagnostic system check for module that set DTC.
  8. Check for open, short to ground or short to voltage in Purple wire between DLC and 30-pin in-line connector located in the instrument panel harness under right side of instrument panel near rear of glove compartment. See DATA LINK CONNECTORS article in WIRING DIAGRAMS. If circuits are okay, go to next step. If faulty circuit is found and repaired, go to appropriate diagnostic system check for module that set DTC.
  9. Disconnect Powertrain Control Module (PCM) connectors. See COMPONENT LOCATIONS  . Using scan tool, attempt to establish communications with Dash Integration Module (DIM). If scan tool communicates with any module, go to next step. If scan tool does not communicate with any module, go to step  11 .
  10. Replace PCM. See POWERTRAIN CONTROL MODULE  under REMOVAL & INSTALLATION. After repairs, go to step  66 .
  11. Disconnect Electronic Brake Control Module (EBCM) connectors. See Figure . Attempt to establish communications with Dash Integration Module (DIM). If scan tool communicates with any module, go to next step. If scan tool does not communicate with any module, go to step  14 .
  12. Check for short to ground or short to voltage in Purple wire between EBCM connector C2 terminal No. 21 and PCM connector C1 terminal No. 18. See Fig 2 and Fig 3 . See appropriate wiring diagram in DATA LINK CONNECTORS article in WIRING DIAGRAMS. If circuit is okay, go to next step. If faulty circuit is found and repaired, go to step  66 .
    Fig 1: Locating Ground Connections
    G00016941Courtesy of GENERAL MOTORS CORP.
    Fig 2: Identifying PCM Connector C1 Terminals
    G00012127Courtesy of GENERAL MOTORS CORP.
    Fig 3: Identifying Electronic Brake Control Module Connector Terminals
    G00016873Courtesy of GENERAL MOTORS CORP.
  13. Replace EBCM. See ELECTRONIC BRAKE CONTROL MODULE  under REMOVAL & INSTALLATION. After repairs, go to step  66 .
  14. Verify vehicle options. See REGULAR PRODUCTION OPTION CODES  under DESCRIPTION. If vehicle is equipped with option code A45 (memory system), go to next step. If vehicle is not equipped with option code A45 (memory system), go to step  17 .
  15. Disconnect Memory Seat Module (MSM) connectors. See COMPONENT LOCATIONS  . Attempt to establish communication with any module still connected to class 2 serial data line. If scan tool communicates with any module, go to next step. If scan tool does not communicate with any module, go to step  17 .
  16. Replace MSM. See MEMORY SEAT MODULE  under REMOVAL & INSTALLATION. After repairs, go to step  66 .
  17. If vehicle is equipped with a factory equipped cellular phone, go to next step. If vehicle is not equipped with a factory equipped cellular phone, go to step  20 .
  18. Disconnect cellular telephone module connectors. See COMPONENT LOCATIONS  . Attempt to establish communication with any module still connected to class 2 serial data line. If scan tool communicates with any module, go to next step. If scan tool does not communicate with any module, go to step  20 .
  19. Replace cellular telephone module. See CELLULAR TELEPHONE MODULE  under REMOVAL & INSTALLATION. After repairs, go to step  66 .
  20. Disconnect Instrument Panel Cluster (IPC) connectors. See REMOVAL & INSTALLATION in ANALOG INSTRUMENT PANELS - SEVILLE article. Attempt to establish communication with any module still connected to class 2 serial data line. If scan tool communicates with any module, go to next step. If scan tool does not communicate with any module, go to step  23 .
  21. Check for short to ground or short to voltage in Purple wire between EBCM connector C2 terminal No. 7 and IPC connector C2 terminal B8. See Fig 3 and Fig 4 . See DATA LINK CONNECTORS article in WIRING DIAGRAMS. If circuit is okay, go to next step. If faulty circuit is found and repaired, go to step  66 .
  22. Replace IPC. After repairs, go to step  66 .
  23. Disconnect theft deterrent module connector. See COMPONENT LOCATIONS  . Attempt to establish communication with any module still connected to class 2 serial data line. If scan tool communicates with any module, go to next step. If scan tool does not communicate with any module, go to step  26 .
  24. Check for short to ground or short to voltage in Purple wire between IPC connector C1 terminal B8 and theft deterrent module connector terminal "D". See Fig 4 and Fig 5 . See DATA LINK CONNECTORS article in WIRING DIAGRAMS. If circuit is okay, go to next step. If faulty circuit is found and repaired, go to step  66 .
  25. Replace theft deterrent module. See THEFT DETERRENT MODULE  under REMOVAL & INSTALLATION. After repairs, go to step  66 .
  26. Verify vehicle options. See REGULAR PRODUCTION OPTION CODES  under DESCRIPTION. If vehicle is equipped with option code N37 (power tilt/telescoping steering column), go to next step. If vehicle is not equipped with option code N37 (power tilt/telescoping steering column), go to step  29 .
  27. Disconnect Steering Column Tilt/Telescoping Module (SCCM) connector. SCCM is located on left side of steering column. See COMPONENT LOCATIONS  . Attempt to establish communication with any module still connected to class 2 serial data line. If scan tool communicates with any module, go to next step. If scan tool does not communicate with any module, go to step  29 .
  28. Replace SCCM. See STEERING COLUMN TILT/TELESCOPING MODULE  under REMOVAL & INSTALLATION. After repairs, go to step  66 .
  29. Verify vehicle options. See REGULAR PRODUCTION OPTION CODES  under DESCRIPTION. If vehicle is not equipped with option code UY4 (navigation system), go to next step. If vehicle is equipped with option code UY4 (navigation system), go to step  33 .
  30. Disconnect radio connector. See RADIO  under REMOVAL & INSTALLATION. Attempt to establish communication with any module still connected to class 2 serial data line. If scan tool communicates with any module, go to next step. If scan tool does not communicate with any module, go to step  33 .
  31. Check for short to ground or short to voltage in Purple wire between radio connector terminal E6 and theft deterrent module connector terminal "E". See Fig 5 and Fig 6 . See DATA LINK CONNECTORS article in WIRING DIAGRAMS. If circuit is okay, go to next step. If faulty circuit is found and repaired, go to step  66 .
  32. Replace radio. After repairs, go to step  66 .
  33. Disconnect Instrument Panel Integration Module (IPM) connector. IPM is part of A/C-heater control panel. See COMPONENT LOCATIONS  . Attempt to establish communication with any module still connected to class 2 serial data line. If scan tool communicates with any module, go to next step. If scan tool does not communicate with any module, go to step  36 .
  34. Check for short to ground or short to voltage in Purple wire between IPM connector C1 terminal C7 and either theft deterrent module connector terminal "E" (with UY4) or radio connector terminal F6 (without UY4). See Fig 5 , Fig 6 and Fig 7 . If circuit is okay, go to next step. If faulty circuit is found and repaired, go to step  66 .
    Fig 4: Identifying Rear Integration Module & Instrument Cluster Connectors & Terminals
    G00011706Courtesy of GENERAL MOTORS CORP.
    Fig 5: Identifying Theft Deterrent Module Connector Terminals
    G00013348Courtesy of GENERAL MOTORS CORP.
    Fig 6: Identifying Radio Connectors & Terminals
    G00011716Courtesy of GENERAL MOTORS CORP.
    Fig 7: Identifying Instrument Panel Module (IPM) Connectors & Terminals
    G99H05529Courtesy of GENERAL MOTORS CORP.
  35. Replace IPM. See INSTRUMENT PANEL INTEGRATION MODULE (IPM)  under REMOVAL & INSTALLATION. After replacement, go to step  66 .
  36. Disconnect Driver's Door Module (DDM) connector. DDM is located behind driver's door panel. Attempt to establish communication with any module still connected to class 2 serial data line. If scan tool communicates with any module, go to next step. If scan tool does not communicate with any module, go to step  38 .
  37. Replace DDM. See DRIVER'S DOOR MODULE  under REMOVAL & INSTALLATION. After replacement, go to step  66 .
  38. Disconnect Remote Keyless Entry (RKE) module connector. Module is located under center of rear package tray shelf. See COMPONENT LOCATIONS  . Attempt to establish communication with any module still connected to class 2 serial data line. If scan tool communicates with any module, go to next step. If scan tool does not communicate with any module, go to step  38 .
  39. Replace RKE module. See REMOTE KEYLESS ENTRY MODULE  under REMOVAL & INSTALLATION. After replacement, go to step  66 .
  40. If vehicle is not equipped with option code UY4 (navigation system), go to next step. If vehicle is equipped with option code UY4 (navigation system), go to step  43 .
  41. Disconnect radio amplifier connector. Amplifier is located behind rear seat back on left side. See COMPONENT LOCATIONS  . Attempt to establish communication with any module still connected to class 2 serial data line. If scan tool communicates with any module, go to next step. If scan tool does not communicate with any module, go to step  38 .
  42. Check for short to ground or short to voltage in Purple wire between radio amplifier connector C1 terminal B11 (with UX9) or connector C3 terminal No. 5 (with UX8) and one of the following components:
    • RKE module connector terminals No. 2 and 3. See Fig 8 .
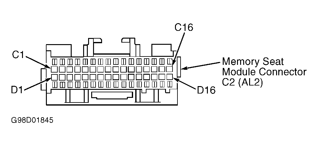
    • MSM connector C2 terminals D14 and D15 (with AC9) or B14 and B15 (w/o AC9). See Fig 9 - Fig 11 .
    • DDM connector C1 terminal No. 13. See Fig 12 .
    • SCCM connector C1 terminal "A". See Fig 13 .

    If circuits are okay, go to next step. If faulty circuit is found and repaired, go to step  66 .

    Fig 8: Identifying Remote Keyless Entry Connector Terminals
    G00011713Courtesy of GENERAL MOTORS CORP.
    Fig 9: Identifying Memory Seat Module Connector C1 Terminals (AC9 & AL2)
    G98H01847
    Fig 10: Identifying Memory Seat Module Connector C2 Terminals (AC9)
    G98I01843Courtesy of GENERAL MOTORS CORP.
    Fig 11: Identifying Memory Seat Module Connector C2 Terminals (AL2)
    G98D01845Courtesy of GENERAL MOTORS CORP.
    Fig 12: Identifying Driver Door Module Connector C1 Terminals
    G98I01857Courtesy of GENERAL MOTORS CORP.
    Fig 13: Identifying Steering Column Module Connectors & Terminals
    G00016871Courtesy of GENERAL MOTORS CORP.
  43. Disconnect radio connector. See RADIO  under REMOVAL & INSTALLATION. Attempt to establish communication with any module still connected to class 2 serial data line. If scan tool communicates with any module, go to next step. If scan tool does not communicate with any module, go to step  46 .
  44. Check for short to ground or short to voltage in Purple wire between radio connector C1 terminal F6 and RKE connector terminal No. 3. If circuit is okay, go to next step. If faulty circuit is found and repaired, go to step  66 .
  45. Replace radio. After repairs, go to step  66 .
  46. Disconnect navigation data processor connector. See COMPONENT LOCATIONS  . Attempt to establish communication with any module still connected to class 2 serial data line. If scan tool communicates with any module, go to next step. If scan tool does not communicate with any module, go to step  49 .
  47. Check for short to ground or short to voltage in Purple wire between radio connector C1 terminal E6 and navigation data processor connector C1 terminal A3. See Fig 14 . If circuit is okay, go to next step. If faulty circuit is found and repaired, go to step  66 .
  48. Replace navigation data processor. See NAVIGATION DATA PROCESSOR  under REMOVAL & INSTALLATION. After repairs, go to step  66 .
  49. Disconnect radio amplifier connector. See COMPONENT LOCATIONS  . Attempt to establish communication with any module still connected to class 2 serial data line. If scan tool communicates with any module, go to next step. If scan tool does not communicate with any module, go to step  52 .
  50. Check for short to ground or short to voltage in Purple wire between radio amplifier connector C1 terminal B11 (with UX9) or connector C3 terminal No. 5 (with UX8) and navigation data processor connector terminal A3. See Fig 14 and Fig 15 . If circuit is okay, go to next step. If faulty circuit is found and repaired, go to step  66 .
  51. Replace radio amplifier. See RADIO AMPLIFIER  under REMOVAL & INSTALLATION. After repairs, go to step  66 .
  52. Verify vehicle options. See REGULAR PRODUCTION OPTION CODES  under DESCRIPTION. If vehicle is equipped with option code F45 (real time dampening), go to next step. If vehicle is not equipped with option code F45 (real time dampening), go to step  56 .
  53. Disconnect Continuous Variable Road Sensing Suspension (CVRSS) module connector. Module is located behind rear seat back on right side. See COMPONENT LOCATIONS  . Attempt to establish communication with any module still connected to class 2 serial data line. If scan tool communicates with any module, go to next step. If scan tool does not communicate with any module, go to step  56 .
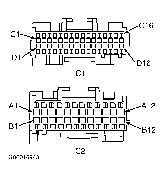
  54. Check for short to ground or short to voltage in Purple wire between radio amplifier connector C1 terminal B12 (with UX9) or connector C3 terminal No. 6 (with UX8) and CVRSS connector C1 terminal D4. See Fig 15 and Fig 16 . If circuit is okay, go to next step. If faulty circuit is found and repaired, go to step  66 .
    Fig 14: Identifying Navigation Data Processor & Display Connectors & Terminals
    G00011709Courtesy of GENERAL MOTORS CORP.
    Fig 15: Identifying Radio Amplifier Connectors & Terminals
    G00016942Courtesy of GENERAL MOTORS CORP.
    Fig 16: Identifying Continuously Variable Road Sensing Suspension Module Connectors & Terminals
    G00016943Courtesy of GENERAL MOTORS CORP.
  55. Replace CVRSS module. See CONTINUOUS VARIABLE ROAD SENSING SUSPENSION MODULE  under REMOVAL & INSTALLATION. After repairs, go to step  66 .
  56. Disconnect Rear Integration Module (RIM) connector. See COMPONENT LOCATIONS  . Attempt to establish communication with any module still connected to class 2 serial data line. If scan tool communicates with any module, go to next step. If scan tool does not communicate with any module, go to step  59 .
  57. Check for short to ground or short to voltage in Purple wire between RIM connector C2 terminal B3 and CVRSS connector C1 terminal D5 (with F45) or radio amplifier (without F45) connector C1 terminal B12 (with UX9) or connector C3 terminal No. 6 (with UX8). See Fig 4 , Fig 15 and Fig 16 If circuit is okay, go to next step. If faulty circuit is found and repaired, go to step  66 .
  58. Replace RIM. See REAR INTEGRATION MODULE (RIM)  under REMOVAL & INSTALLATION. After repairs, go to step  66 .
  59. Disconnect Sensing and Diagnostic Module (SDM) connector. Module is located under passenger's seat. See COMPONENT LOCATIONS  . Attempt to establish communication with any module still connected to class 2 serial data line. If scan tool communicates with any module, go to next step. If scan tool does not communicate with any module, go to step  62 .
  60. Check for short to ground or short to voltage in Purple wire between SDM connector terminal A4 and RIM connector C2 terminal B4 or cellular telephone module connector terminal "J". See Fig 4 , Fig 17 and Fig 18 . If circuit is okay, go to next step. If faulty circuit is found and repaired, go to step  66 .
  61. Replace SDM. See AIR BAG RESTRAINT SYSTEMS - DEVILLE, ELDORADO & SEVILLE article. After replacement, go to step  66 .
  62. Reconnect IPM connector and disconnect Dash Integration Module (DIM) connector. See COMPONENT LOCATIONS  . Attempt to communicate with IPM. If scan tool communicates with any module, go to next step. If scan tool does not communicate with any module, go to step  65 .
  63. Check for short to ground or short to battery voltage in Purple wire between SDM connector terminal A5 and DIM connector C2 terminal A11. See Fig 18 and Fig 19 . If circuit is okay, go to next step. If faulty circuit is found and repaired, go to step  66 .
  64. Replace DIM. See DASH INTEGRATION MODULE (DIM)  under REMOVAL & INSTALLATION. After repairs, go to step  66 .
  65. Repair short to ground or short to voltage in Purple wire between DLC terminal No. 2 and IPC connector C1 terminal B8 or DIM connector C2 terminal A12. See Fig 4 and Fig 19 . After repairs, go to step  66 .
  66. Reconnect all disconnected components and connectors. Connect scan tool to DLC. Turn ignition on. Wait 10 seconds and display DTC for each module along class 2 serial data line. Record all DTCs and which module they are set. If no DTCs that begin with "U" are set as current, go to next step. If any DTCs that begin with "U" are set as current, go to step  68 .
  67. If any DTCs that do not begin with "U" are set, go to next step. If no DTCs are set, go to step  70 .
  68. Diagnose module that set DTC. See appropriate diagnostic and repair procedure in appropriate article. PCM may set DTCs P1602, P1615 or P1626. If only P1600 and history "U" codes are seat an vehicle will start and run, repair is complete. Go to next step.
  69. Ensure all DTCs for each module have been diagnosed and repaired. Go to next step.
  70. Using scan tool, clear all DTCs. Repair is complete.
Fig 17: Identifying Cellular Telephone & Vehicle Interface Unit Connectors & Terminals
G00011708Courtesy of GENERAL MOTORS CORP.
Fig 18: Identifying Sensing & Diagnostic Module Connector Terminals
G00011705Courtesy of GENERAL MOTORS CORP.
Fig 19: Identifying Dash Integration Module (DIM) Connectors & Terminals
G99B05531Courtesy of GENERAL MOTORS CORP.