lemon-mirror:
Home >> Cadillac >> 2001 >> Catera >> Repair and Diagnosis >> Transmission >> Automatic Trans >> Shift Interlock Systems >> Removal & Installation >> Center Console >> Installation

Center Console: Installation

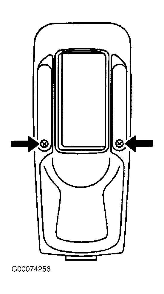
  1. To install, position the console into the mounting position. Reposition the shift selector to the park position. Install the bolts mounted in the rear of the console. See Figure . Tighten the bolts to 18 INCH lbs. (2 N.m). Install the screw in the center of the park brake trim panel. See Figure . Tighten the screw to 18 INCH lbs. (2 N.m).
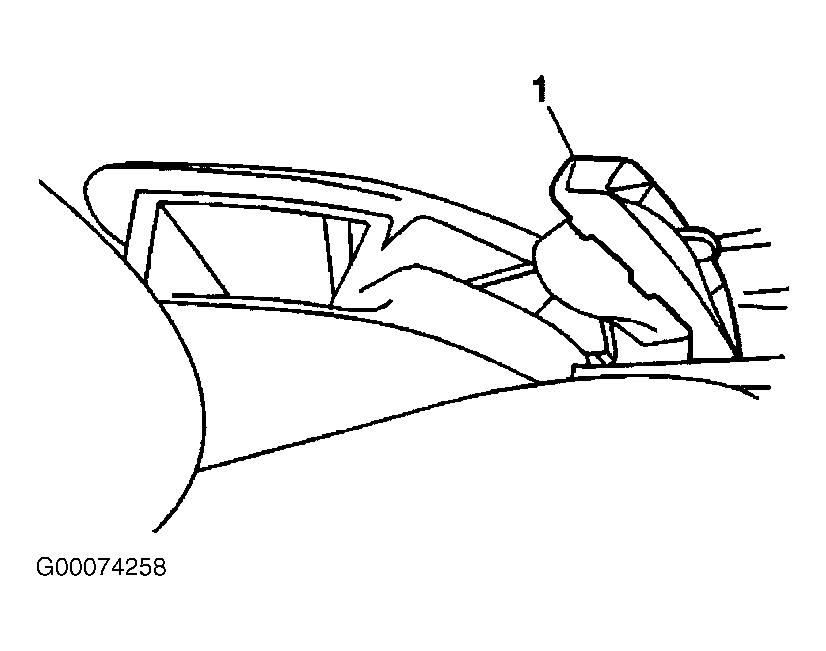
  2. Install the park brake boot (1). See Figure . Install the bolts mounted in the front of the console. See Figure . Tighten the bolts to 27 INCH lbs. (3 N.m). Install the console trim plate. Install the console trim plate screws. See Figure . Tighten the screws to 18 INCH lbs. (2 N.m).
  3. Install the winter mode switch. See WINTER MODE SWITCH  . Install the connector to the shift indicator. Install the shift indicator by snapping into place. See Figure . Install the gear selector boot to the lower console.