lemon-mirror:
Home >> Cadillac >> 2001 >> DeVille Base >> Repair and Diagnosis >> Body & Frame >> Windows >> Power Window System >> Removal & Installation >> Window Regulator >> Installation

Window Regulator: Installation

  1. Install window regulator (1) through access hole of inner door panel. Install window regulator fasteners (2, 3). See Fig 4 . Tighten fasteners to 80 INCH lbs. (9 N.m).
  2. Connect electrical connector to window regulator motor.
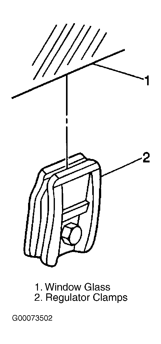
  3. Carefully raise window regulator clamps (2) to full up position, engaging window (1). Remove tape from window. See Fig 3 .
  4. Complete following to properly position window:
    • Lower window approximately two inches.
    • Seat window fully rearward against center pillar.
    • Adjust window forward 5/64-1/8" (2-3 mm).
    • Set glass with clamp fasteners. Tighten window clamp fasteners to 93 INCH lbs. (10.5 N.m).
  5. Connect power window switch and door module electrical connectors.
  6. Position rear of inside handle assembly (4) into opening of inner panel. Press front of assembly (4) inward until it fully engages inner panel. See Fig 1 .
  7. Connect handle rod (3) to clip guide (2). See Figure .
  8. Install water deflector. Install door module. Install door trim panel.
  9. Operate window to verify normal operation.
Fig 1: Removing & Installing Inner Door Handle Assembly Components (Front Doors)
G00073498Courtesy of GENERAL MOTORS CORP.
Fig 2: Removing & Installing Inner Door Handle Assembly Components (Rear Doors)
G00073510Courtesy of GENERAL MOTORS CORP.
Fig 3: Identifying Window Regulator Clamps
G00073502Courtesy of GENERAL MOTORS CORP.
Fig 4: Removing & Installing Window Regulator
G00073506Courtesy of GENERAL MOTORS CORP.