lemon-mirror:
Home >> Cadillac >> 2003 >> Escalade EXT >> Repair and Diagnosis >> External Pages >> Different car >> Section 1014 (Sunroof System) >> Repair Instructions >> Sunroof Track Timing/Synchronization >> Installation Procedure

Installation Procedure

WARNING: This page is about a different car, the 2009 Saturn Vue. However, it is still accessible from the selected car via links, so may be relevant.
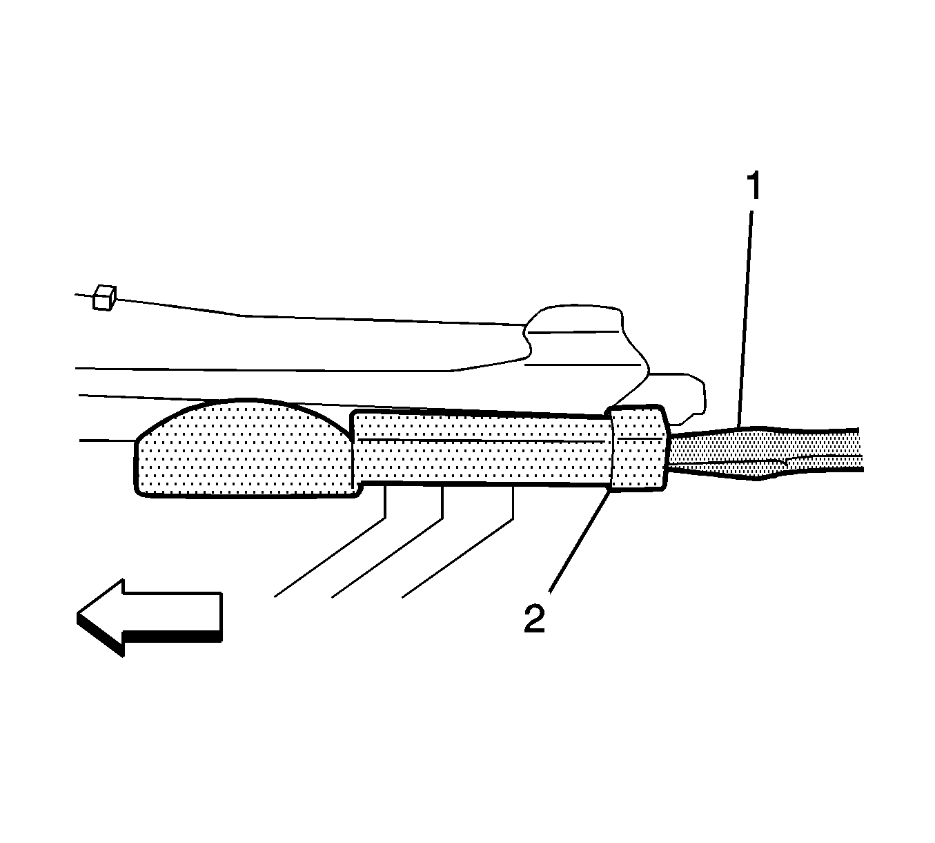
    Fig 1: Pushing Sunroof Cable Plate Rearward
    GM1938508Courtesy of GENERAL MOTORS CORP.
  1. Position a flat blade tool (1) inline with the sunroof cable plate (2) pushing rearward.
  2. Fig 2: Cable Plate & Sunroof Drive Wedge
    GM2084431Courtesy of GENERAL MOTORS CORP.
  3. Push the sunroof cable plate (1) until the sunroof drive wedge (2) reaches the synchronization position.
  4. Fig 3: Locating Drive Wedge & Hole
    GM1938509Courtesy of GENERAL MOTORS CORP.
  5. Align the drive wedge (1) with the hole (2) in the mechanism.
  6. Install the sunroof motor. Refer to Sunroof Motor/Actuator Replacement .
  7. Install the sunroof window to the sunroof module. Refer to Sunroof Window Replacement .
  8. Verify the sunroof operation.
  9. Install headliner. Refer to Headlining Trim Panel Replacement .