Body Control System Connector End Views
WARNING: This page is about a different car, the 2004 Cadillac CTS. However, it is still accessible from the selected car via links, so may be relevant.
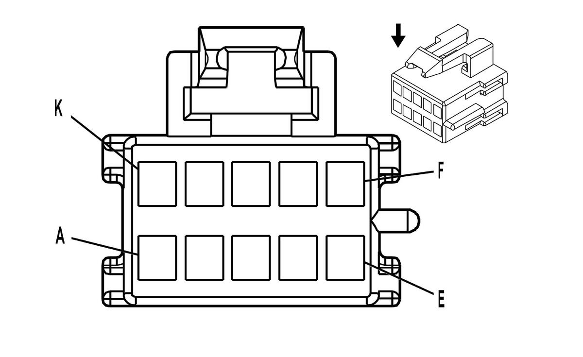
Dash Integration Module Terminal Identification (DIM) C1
| Connector Part Information |
|
||
|---|---|---|---|
| Pin | Wire Color | Circuit No. | Function |
| A-D | - | - | Not Used |
| E | BK/WH | 351 | Ground |
| F | - | - | Not Used |
| G | RD/WH | 1140 | Battery Positive Voltage |
| H | YE | 32 | Instrument Panel Lamp Fuse Supply Voltage-1 |
| J | - | - | Not Used |
| K | YE | 1491 | Backlight Lamps Control |
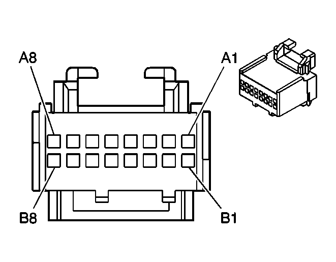
Dash Integration Module Terminal Identification (DIM) C2
| Connector Part Information |
|
||
|---|---|---|---|
| Pin | Wire Color | Circuit No. | Function |
| A1 | - | - | Not Used |
| A2 | BN | 4 | Accessory Voltage |
| A3 | PK | 3 | Ignition 1 Voltage |
| A4 | L-GN/BK | 592 | DRL Relay Control |
| A5 | WH | 111 | Hazard Switch Signal |
| A6 | TN | 28 | Horn Relay Control |
| A7 | D-GN/WH | 1317 | Fog Lamp Relay Control |
| A8 | D-GN | 1399 | Cigar Relay Control (Early Production) |
| A9-A11 | - | - | Not Used |
| A12 | RD/WH | 3340 | Battery Positive Voltage |
| B1-B3 | - | - | Not Used |
| B4 | PK/WH | 1970 | Headlamp Low Beam Relay Control |
| B5 | WH | 1080 | Park Lamp Relay Control |
| B6 | TN | 5052 | Headlamp Washer Ground |
| B7 | TN/WH | 1969 | Headlamp High Beam Relay Control |
| B8 | D-GN | 1483 | Lighting Relay Coil Supply Voltage Control |
| B9 | TN | 5026 | Ignition Lock Cylinder Control Switch Signal (M82) |
| B10-B11 | - | - | Not Used |
| B12 | BK/WH | 51 | Ground |
Dash Integration Module Terminal Identification (DIM) C3
| Connector Part Information |
|
||
|---|---|---|---|
| Pin | Wire Color | Circuit No. | Function |
| A1-A3 | - | - | Not Used |
| A4 | D-GN | 44 | Instrument Panel Lamps Dimmer Switch Signal |
| A5 | - | - | Not Used |
| A6 | YE | 5005 | Instrument Panel Lamps Dimmer Switch Low Reference |
| A7 | L-BU/BK | 1688 | 5-Volt Reference |
| A8 | TN/WH | 99 | Windshield Washer Fluid Level Signal |
| A9 | L-BU | 1717 | Hazard Request Signal |
| A10 | - | - | Not Used |
| A11 | PU | 1807 | Class 2 Serial Data |
| A12 | PU | 1807 | Class 2 serial Data |
| B1 | PK/BK | 109 | Hood Ajar Switch Signal (Export w/ UA2) |
| B2 | WH | 103 | Headlamp Switch Headlamps On Signal |
| B3 | BN/WH | 301 | Park Lamp Switch On Signal |
| B4 | WH | 1538 | Windshield Wiper Switch On Signal |
| B5 | PU | 1783 | Twilight Sentinel Delay Signal |
| B6 | OG | 192 | Front Fog Lamp Switch Signal |
| B7 | L-BU | 187 | Rear Fog Lamp Switch Signal (Export w/ T79) |
| B8 | BN | 1356 | Flash To Pass Switch Signal |
| B9 | PK/BK | 1597 | Courtesy Lamps Switch On Signal |
| B10 | L-GN | 80 | Key In Ignition Switch Signal |
| B11-B12 | - | - | Not Used |
Rear Integration Module Terminal Identification (RIM) C1
| Connector Part Information |
|
||
|---|---|---|---|
| Pin | Wire Color | Circuit No. | Function |
| A1 | L-BU | 5362 | Inclination Sensor Signal (Export w/UA2) |
| A2 | BN/WH | 1571 | Traction Control Switch Signal |
| A3 | D-BU | 2181 | Passenger Heated Seat Control Module Status Signal (KA1) |
| A4 | PK | 1339 | Ignition 1 Voltage |
| A5 | D-BU/WH | 149 | Courtesy Lamp Supply Voltage |
| A6 | WH | 111 | Theft Deterrent Alarm Enable Signal (Export w/UA2) |
| A7 | L-BU/WH | 181 | Heated Seat Control Module Status Signal (KA1) |
| A8 | BK/WH | 1051 | Ground |
| B1 | PU | 5059 | Intrusion Sensor Alarm On Signal (Export w/ UA2/UA6) |
| B2 | GY | 5054 | Sport Mode Switch Signal (M82) |
| B3 | OG/BK | 744 | Rear Compartment Lid Ajar Switch Signal |
| B4 | - | - | Not Used |
| B5 | L-GN | 5007 | Backup Lamp Switch Signal (M35) |
| 5053 | Winter Mode Switch Signal (M82) | ||
| B6-B7 | - | - | Not Used |
| B8 | BK/WH | 1051 | Ground |
Rear Integration Module Terminal Identification (RIM) C2
| Connector Part Information |
|
||
|---|---|---|---|
| Pin | Wire Color | Circuit No. | Function |
| A1 | TN | 755 | RAP Relay Coil Control |
| A2 | - | - | Not Used |
| A3 | YE | 1977 | Rear Fog Lamp Relay Control (Export w/ T79) |
| A4 | - | - | Not Used |
| A5 | D-GN/WH | 1135 | A/T Shift Lock Control Solenoid Control (M82) |
| A6 | BN/WH | 1429 | Standing Lamp Relay Control (Export w/ T79) |
| A7 | - | - | Not Used |
| A8 | PK | 5363 | Inclination Sensor Low Reference (Export w/UA2) |
| A9 | - | - | Not Used |
| A10 | GY | 157 | Courtesy Lamp Control |
| A11 | RD/WH | 540 | Battery Positive Voltage |
| A12 | PU | 1807 | Class 2 Serial Data |
| B1 | WH | 193 | Rear Defog Relay Control |
| B2 | D-GN | 646 | Reverse Relay Control |
| B3 | BN | 834 | Vehicle Speed Signal (CF5) |
| B4 | L-BU | 1344 | Trunk Release Relay Control |
| B5 | D-BU | 1393 | Courtesy Lamp Relay Control |
| B6 | YE | 5058 | Intrusion Sensor Armed Signal (Export w/ UA2/UA6) |
| B7 | PK/BK | 1503 | Passenger Heated Seat High/Low Signal (KA1) |
| B8 | PK | 1501 | Driver Heated Seat High/Low Signal (KA1) |
| B9 | - | - | Not Used |
| B10 | GY | 157 | Courtesy Lamp Control |
| B11 | BK | 1050 | Ground |
| B12 | PU | 1807 | Class 2 Serial Data |