lemon-mirror:
Home >> Cadillac >> 2003 >> Escalade EXT >> Repair and Diagnosis >> External Pages >> Different car >> Section 647 (Navigation Systems) >> Component Locator >> Navigation System Connector End Views

Navigation System Connector End Views

WARNING: This page is about a different car, the 2004 Cadillac CTS. However, it is still accessible from the selected car via links, so may be relevant.
Auxiliary RCA Video Jacks (Export w/U2Y/U2X)

GM258248Courtesy of GENERAL MOTORS CORP.
Connector Part Information
  • 12065398
  • 8-Way M Metri-Pack 150 Series (WH)
Pin Wire Color Circuit No. Function
A BARE 814 Drain Wire
B WH 2058 Auxiliary Audio Right Signal
C PU 2056 Auxiliary Video High Signal
D - - Not Used
E YE 2059 Auxiliary Audio Left Signal
F BARE 814 Drain Wire
G-H - - Not Used
Radio C4 (Export w/U2Y/U2X)

GM815050Courtesy of GENERAL MOTORS CORP.
Connector Part Information
  • 39-01-2295
  • 22-Way F Mini-Fit Jr. (WH)
Pin Wire Color Circuit No. Function
1-5 - - Not Used
6 OG 2047 Video Red Signal (+)
7 TN 5146 Video Red Signal (-)
8 D-BU 2048 Video Green Signal (+)
9 BN 5145 Video Green Signal (-)
10 D-GN 2049 Video Blue Signal (+)
11 GY 5144 Video Blue Signal (-)
12-14 - - Not Used
15 BN 2355 Navigation Display Serial Data Low (Japan w/ U2X)
16 OG 2354 Navigation Display Serial Data High (Japan w/ U2X)
17-19 - - Not Used
20 L-GN 2045 Video Synchronization Signal (+)
21 TN/BK 5147 Video Synchronization Signal (-)
22 - - Not Used
Traffic Information Receiver (Export w/U2Y/U2X)

GM40422Courtesy of GENERAL MOTORS CORP.
Connector Part Information
  • 12064762
  • 6-Way F Metri-Pack 150 Series (GY)
Pin Wire Color Circuit No. Function
A OG 2354 Navigation Display Serial Data High
B BN 2355 Navigation Display Serial Data Low
C BARE 514 Drain Wire
D PK 5165 SW Antenna Enable
E RD/WH 3240 Battery Positive Voltage
F BK/WH 851 Ground
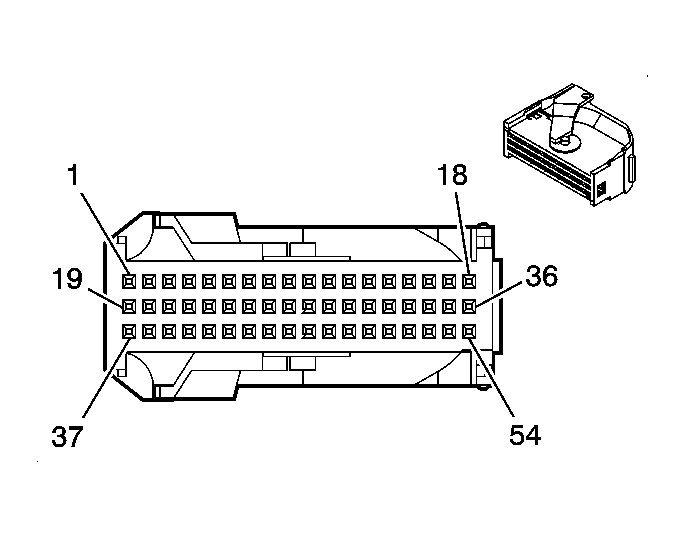
TV Antenna Module (Export w/U2Y/U2X)

GM815049Courtesy of GENERAL MOTORS CORP.
Connector Part Information
  • V23540-M1054-Y20
  • 54-Way F Siemens (BK)
Pin Wire Color Circuit No. Function
1-2 - - Not Used
3 PU 1807 Class 2 Serial Data
4 - - Not Used
5 BN/WH 367 Left Audio Signal (+) (U2K)
6 D-GN/WH 368 Right Audio Signal (+) (U2K)
7 TN/WH 372 Audio Common (U2K)
8-9 - - Not Used
10 BARE 814 Drain Wire
11 L-GN 2045 Video Synchronization Signal (+)
12 TN/BK 5147 Video Synchronization Signal (-)
13 D-GN 2049 Video Blue Signal (+)
14 GY 5144 Video Blue Signal (-)
15 D-BU 2048 Video Green Signal (+)
16 BN 5145 Video Green Signal (-)
17 OG 2047 Video Red Signal (+)
18 TN 5146 Video Red Signal (-)
19 BK/WH 851 Ground
20 RD/WH 3240 Battery Positive Voltage
21-46 - - Not Used
47 YE 2059 Auxiliary Audio Left Signal
48 WH 2058 Auxiliary Audio Right Signal
49 BARE 814 Drain Wire
50-51 - - Not Used
52 PU 2056 Auxiliary Video High Signal
53 BARE 814 Drain Wire
54 - - Not Used