lemon-mirror:
Home >> Cadillac >> 2004 >> Seville >> Repair and Diagnosis >> Electrical >> Body Electrical >> OEM Connector End Views >> Connector End Views >> Inflatable Restraint IP Module Connector End View

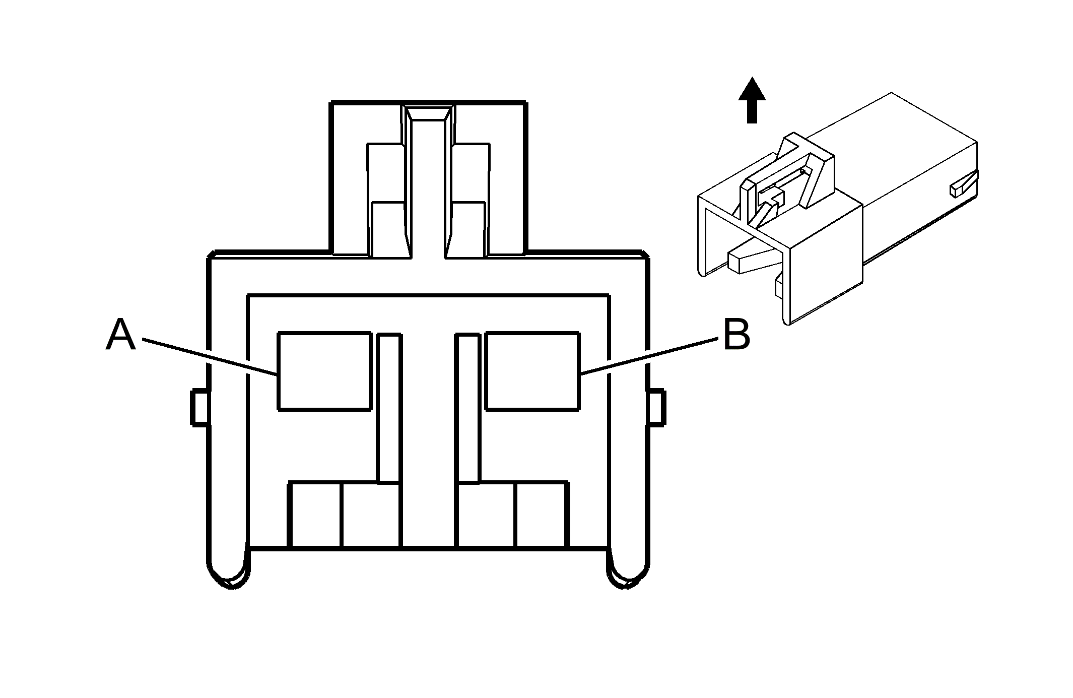
Inflatable Restraint IP Module Connector End View

Inflatable Restraint IP Module Connector End View

GM130685Courtesy of GENERAL MOTORS CORP.
Connector Part Information
  • 15336274
  • 2-Way M Micro-Pack 280 Series (YEL)
Pin Wire Color Circuit No. Function
A WHT/BLK 1403 Passenger Frontal Air Bag High Control
B DK GRN/
WHT
1404 Passenger Frontal Air Bag Low Control