lemon-mirror:
Home >> Cadillac >> 2004 >> Seville >> Repair and Diagnosis >> Electrical >> Component Locations >> Electrical Component Locator >> Component Location Graphics

Component Location Graphics

NOTE: Figures may show multiple component locations. Refer to appropriate table for proper figure references.
Fig 1: Behind Rear Seat
G00259304Courtesy of GENERAL MOTORS CORP.
Fig 2: Roof Overview
G00259303Courtesy of GENERAL MOTORS CORP.
Fig 3: Center Console
G00259302Courtesy of GENERAL MOTORS CORP.
Fig 4: Below Center Of Dash
G00259301Courtesy of GENERAL MOTORS CORP.
Fig 5: In Dash Compartment
G00259300Courtesy of GENERAL MOTORS CORP.
Fig 6: Steering Wheel
G00259299Courtesy of GENERAL MOTORS CORP.
Fig 7: Center Of Dash
G00259298Courtesy of GENERAL MOTORS CORP.
Fig 8: Cruise Control System Overview
G00259296Courtesy of GENERAL MOTORS CORP.
Fig 9: Behind Rear Seat Back
G00259294Courtesy of GENERAL MOTORS CORP.
Fig 10: Below Rear Package Shelf
G00259293Courtesy of GENERAL MOTORS CORP.
Fig 11: Below Rear Package Shelf
G00259292Courtesy of GENERAL MOTORS CORP.
Fig 12: SIR System Overview (1 Of 2)
G00259289Courtesy of GENERAL MOTORS CORP.
Fig 13: SIR System Overview (2 Of 2)
G00259290Courtesy of GENERAL MOTORS CORP.
Fig 14: Automatic Transmission Overview
G00259287Courtesy of GENERAL MOTORS CORP.
Fig 15: Beneath Center Console
G00259286Courtesy of GENERAL MOTORS CORP.
Fig 16: Top Of Fuel Tank
G00259285Courtesy of GENERAL MOTORS CORP.
Fig 17: Near Left Rear Wheel
G00259284Courtesy of GENERAL MOTORS CORP.
Fig 18: Left Side Of Engine
G00259282Courtesy of GENERAL MOTORS CORP.
Fig 19: Rear Fuse Block
G00259277Courtesy of GENERAL MOTORS CORP.
Fig 20: Left Rear Corner Of Rear Compartment
G00259276Courtesy of GENERAL MOTORS CORP.
Fig 21: Right Side Of Rear Compartment
G00259275Courtesy of GENERAL MOTORS CORP.
Fig 22: Under Left Front Seat
G00259272Courtesy of GENERAL MOTORS CORP.
Fig 23: Left End Of Dash
G00259271Courtesy of GENERAL MOTORS CORP.
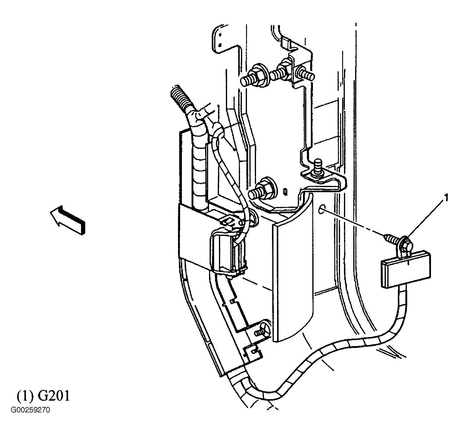
Fig 24: Below Right Side Of Dash
G00259270Courtesy of GENERAL MOTORS CORP.
Fig 25: Below Left Side Of Dash
G00259269Courtesy of GENERAL MOTORS CORP.
Fig 26: Lower Left Side Of Engine
G00259268Courtesy of GENERAL MOTORS CORP.
Fig 27: Left Side Of Engine
G00259267Courtesy of GENERAL MOTORS CORP.
Fig 28: Left Side Of Engine Compartment
G00259266Courtesy of GENERAL MOTORS CORP.
Fig 29: Under Right Side Of Rear Seat
G00259264Courtesy of GENERAL MOTORS CORP.
Fig 30: Under Left Side Of Rear Seat
G00259263Courtesy of GENERAL MOTORS CORP.
Fig 31: Below Center Of Dash
G00259262Courtesy of GENERAL MOTORS CORP.
Fig 32: Right Side Of Engine Compartment
G00259261Courtesy of GENERAL MOTORS CORP.
Fig 33: Below Center Of Dash
G00259347Courtesy of GENERAL MOTORS CORP.
Fig 34: Below Right Side Of Dash
G00259346Courtesy of GENERAL MOTORS CORP.
Fig 35: HVAC System Overview
G00259345Courtesy of GENERAL MOTORS CORP.
Fig 36: Lower Section Of Engine Compartment
G00259344Courtesy of GENERAL MOTORS CORP.
Fig 37: Steering Column
G00259341Courtesy of GENERAL MOTORS CORP.
Fig 38: Under Left Side Of Dash
G00259340Courtesy of GENERAL MOTORS CORP.
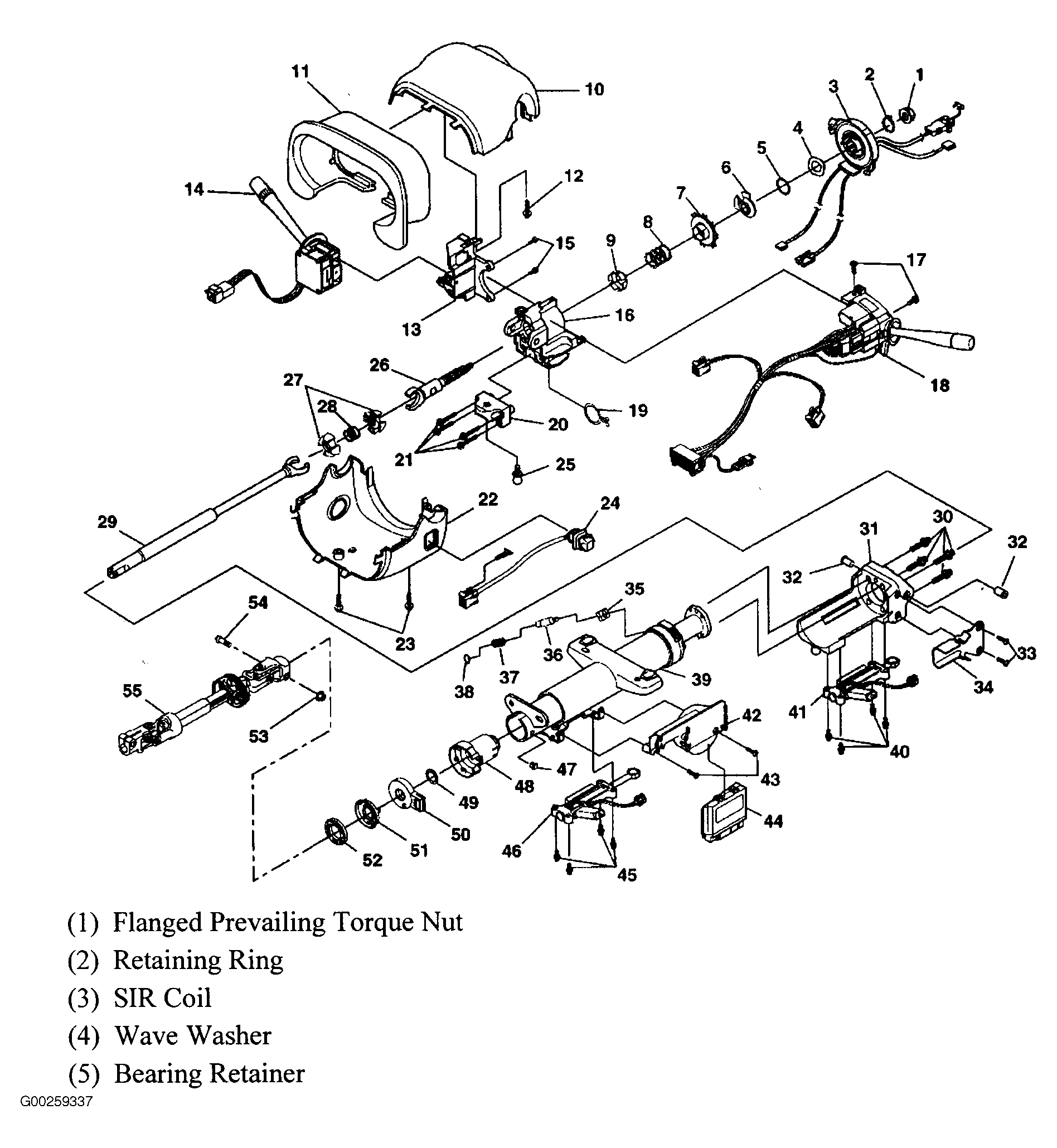
Fig 39: Steering Column Overview (1 Of 3)
G00259337Courtesy of GENERAL MOTORS CORP.
Fig 40: Steering Column Overview (2 Of 3)
G00259338Courtesy of GENERAL MOTORS CORP.
Fig 41: Steering Column Overview (3 Of 3)
G00259339Courtesy of GENERAL MOTORS CORP.
Fig 42: Suspension Control Overview
G00259336Courtesy of GENERAL MOTORS CORP.
Fig 43: Behind Right Side Of Rear Seat
G00259335Courtesy of GENERAL MOTORS CORP.
Fig 44: Anti-Lock Brake System Overview (1 Of 2)
G00259333Courtesy of GENERAL MOTORS CORP.
Fig 45: Anti-Lock Brake System Overview (2 Of 2)
G00259334Courtesy of GENERAL MOTORS CORP.
Fig 46: Rear Wheelwell
G00259330Courtesy of GENERAL MOTORS CORP.
Fig 47: Rear Strut
G00259329Courtesy of GENERAL MOTORS CORP.
Fig 48: Front Strut
G00259328Courtesy of GENERAL MOTORS CORP.
Fig 49: Left Front Wheelwell
G00259327Courtesy of GENERAL MOTORS CORP.
Fig 50: Right Rear Corner Of Engine Compartment
G00259323Courtesy of GENERAL MOTORS CORP.
Fig 51: Front Exhaust Manifold (Heated Oxygen Sensor Bank 2 Sensor 1)
G00259321Courtesy of GENERAL MOTORS CORP.
Fig 52: Catalytic Converter (Heated Oxygen Sensor Bank 1 Sensor 2)
G00259320Courtesy of GENERAL MOTORS CORP.
Fig 53: Right Rear Of Engine
G00259319Courtesy of GENERAL MOTORS CORP.
Fig 54: Top Front Of Engine
G00259318Courtesy of GENERAL MOTORS CORP.
Fig 55: Lower Front Of Engine
G00259317Courtesy of GENERAL MOTORS CORP.
Fig 56: Left Rear Of Engine
G00259316Courtesy of GENERAL MOTORS CORP.
Fig 57: Cooling System Overview
G00259314Courtesy of GENERAL MOTORS CORP.
Fig 58: Anti-Theft System Overview
G00259313Courtesy of GENERAL MOTORS CORP.
Fig 59: Center Rear Of Headliner
G00259307Courtesy of GENERAL MOTORS CORP.
Fig 60: Under Right Side Of Rear Package Shelf
G00259306Courtesy of GENERAL MOTORS CORP.
Fig 61: Left Front Of Vehicle
G00262219Courtesy of GENERAL MOTORS CORP.
Fig 62: Behind Left Side Of Dash
G00262221Courtesy of GENERAL MOTORS CORP.
Fig 63: Right Front Door
G00262223Courtesy of GENERAL MOTORS CORP.
Fig 64: Right Rear Door
G00262224Courtesy of GENERAL MOTORS CORP.
Fig 65: Right Front Door
G00262225Courtesy of GENERAL MOTORS CORP.
Fig 66: Rear Compartment Lid
G00262226Courtesy of GENERAL MOTORS CORP.
Fig 67: Under Drivers Seat
G00262227Courtesy of GENERAL MOTORS CORP.
Fig 68: Top Center Of Windshield
G00262229Courtesy of GENERAL MOTORS CORP.
Fig 69: Under Rear Seat
G00262230Courtesy of GENERAL MOTORS CORP.
Fig 70: Left "B" Pillar
G00262231Courtesy of GENERAL MOTORS CORP.
Fig 71: Underhood Fuse Block
G00262232Courtesy of GENERAL MOTORS CORP.
Fig 72: Front Of Engine
G00259326Courtesy of GENERAL MOTORS CORP.
Fig 73: Left Air Pump
G00259278Courtesy of GENERAL MOTORS CORP.
Fig 74: Left Side Of Engine Compartment
G00259309Courtesy of GENERAL MOTORS CORP.
Fig 75: Upper Right Rear Corner Of Passenger Compartment
G00259295Courtesy of GENERAL MOTORS CORP.