lemon-mirror:
Home >> Cadillac >> 2004 >> XLR >> Repair and Diagnosis >> Body & Frame >> Door Locks >> Keyless Entry System >> Component Locator >> Keyless Entry Connector End Views

Keyless Entry Connector End Views

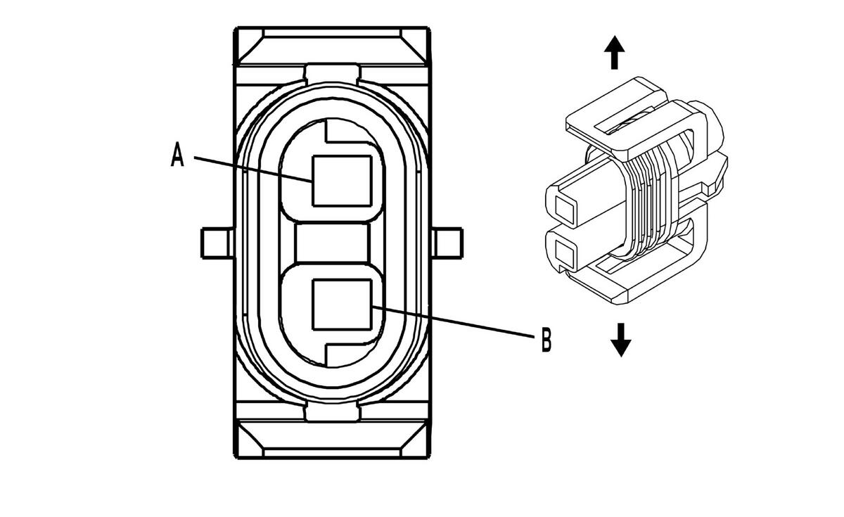
Keyless Entry Antenna - Back-up Connector End View

GM684852Courtesy of GENERAL MOTORS CORP.
Connector Part Information
  • OEM: 12162017
  • Service: 12101937
  • 2-Way F Metri-Pack 150 Series (GY)
Pin Wire Color Circuit No. Function
A OG 5708 Keyless Entry Antenna - Back Up Signal
B OG/BK 5712 Keyless Entry Antenna - Back Up Low Reference
Keyless Entry Antenna - Left Connector End View

GM684852Courtesy of GENERAL MOTORS CORP.
Connector Part Information
  • OEM: 12162017
  • Service: 12101937
  • 2-Way F Metri-Pack 150 Series (GY)
Pin Wire Color Circuit No. Function
A PU 218 Keyless Entry Antenna - Left Signal
B TN 219 Keyless Entry Antenna - Left Low Reference
Keyless Entry Antenna - Rear Compartment Connector End View

GM684852Courtesy of GENERAL MOTORS CORP.
Connector Part Information
  • OEM: 12162017
  • Service: 12101937
  • 2-Way F Metri-Pack 150 Series (GY)
Pin Wire Color Circuit No. Function
A PK 5700 Keyless Entry Antenna - Rear Compartment Signal
B PK/BK 5713 Keyless Entry Antenna - Rear Compartment Low Reference
Keyless Entry Antenna - Right Connector End View

GM684852Courtesy of GENERAL MOTORS CORP.
Connector Part Information
  • OEM: 12162017
  • Service: 12101937
  • 2-Way F Metri-Pack 150 Series (GY)
Pin Wire Color Circuit No. Function
A L-GN 5707 Keyless Entry Antenna - Right Signal
B L-GN/BK 219 Keyless Entry Antenna - Right Low Reference
Remote Control Door Lock Receiver (RCDLR) C1 Connector End View

GM800518Courtesy of GENERAL MOTORS CORP.
Connector Part Information
  • OEM: 15332177
  • Service: 15332177
  • 16-Way F GT 150 Series (BK)
Pin Wire Color Circuit No. Function
A D-BU 5876 Door Lock Actuator Lock Control
B L-GN/BK 5703 Driver Door Lock Actuator Lock Control
C PK 3 Ignition 1 Voltage
D D-GN/WH 1135 A/T Shift Lock Control Solenoid Supply Voltage
E OG 5880 Left Front Interior Door Handle Switch Signal
F PU 5877 Right Front Interior Door Handle Switch Signal
G L-BU/WH 5725 EKM Ignition Mode Data Signal
H RD/WH 2440 Battery Positive Voltage
J L-BU 5726 Ground
K - - Not Used
L PK 1045 RFA Class 2 Serial Data
M - - Not Used
N L-BU 395 Right Front Exterior Door Handle Switch Signal
P TN 1576 Trunk Release Switch Signal
R L-GN/BK 394 Left Front Exterior Door Handle Switch Signal
S BK/WH 851 Ground
Remote Control Door Lock Receiver (RCDLR) C2 Connector End View

GM646384Courtesy of GENERAL MOTORS CORP.
Connector Part Information
  • OEM: 15332153
  • Service: 88986440
  • 10-Way F GT 150 Series (BK)
Pin Wire Color Circuit No. Function
A OG 5708 Keyless Entry Antenna - Back Up Signal
B TN 219 Keyless Entry Antenna Low Reference
C L-GN 5707 Keyless Entry Antenna - Right Signal
D PK 5709 Keyless Entry Antenna - Rear Compartment Signal
E - - Not Used
F OG/BK 5712 Keyless Entry Antenna - Back Up Low Reference
G PU 218 Keyless Entry Antenna Signal
H L-GN/BK 5711 Keyless Entry Antenna - Right Low Reference
J PK/BK 5713 Keyless Entry Antenna - Rear Compartment Low Reference
K - - Not Used