lemon-mirror:
Home >> Cadillac >> 2005 >> DeVille Base >> Repair and Diagnosis >> Engine Performance >> System >> Engine Controls - Introduction >> Schematic and Routing Diagrams >> Engine Controls Schematics

Engine Controls Schematics

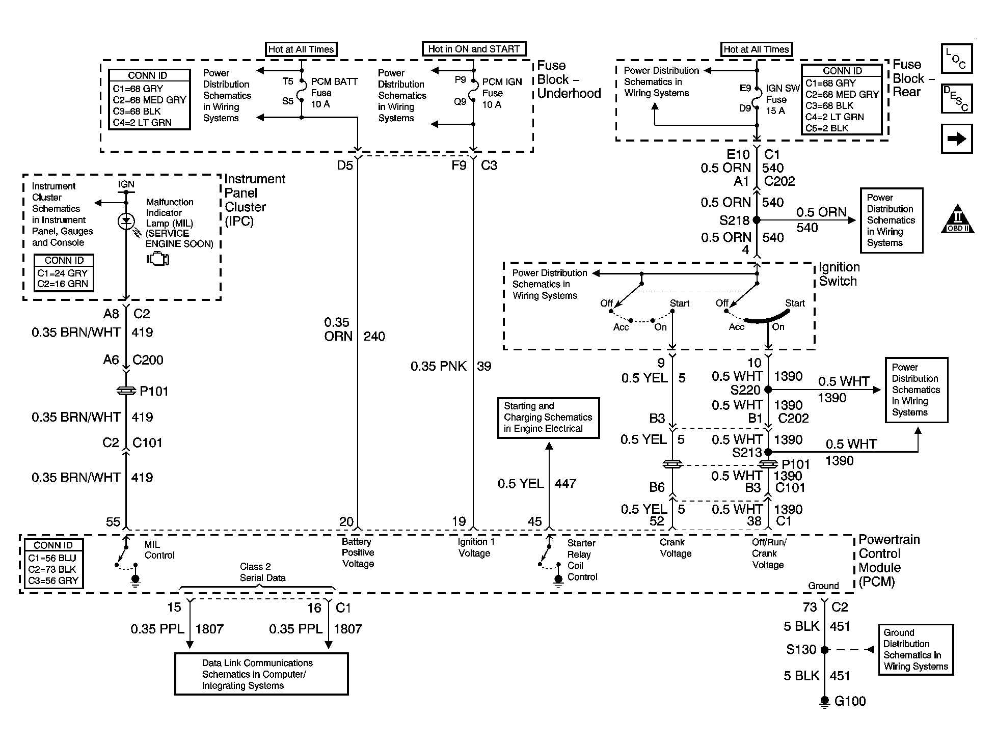
Fig 1: PCM Power, Ground, Serial Data, and MIL
GM1411441Courtesy of GENERAL MOTORS CORP.
Fig 2: Engine Data Sensors - 5-Volt and Low Reference
GM1411444Courtesy of GENERAL MOTORS CORP.
Fig 3: Pressure and Temperature Sensors
GM1411445Courtesy of GENERAL MOTORS CORP.
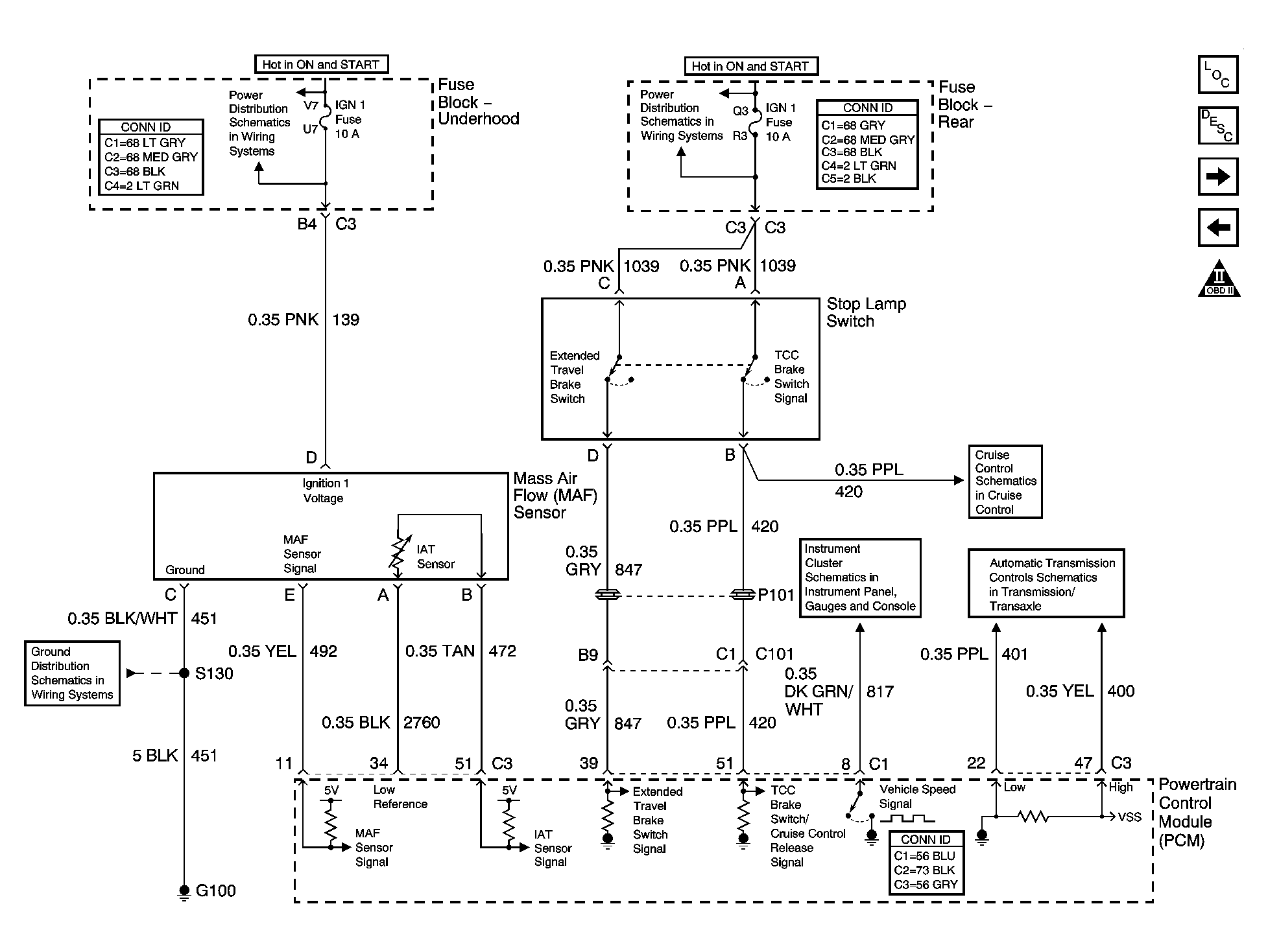
Fig 4: MAF, VSS, and Extended Brake Travel Switch Sensors
GM1411446Courtesy of GENERAL MOTORS CORP.
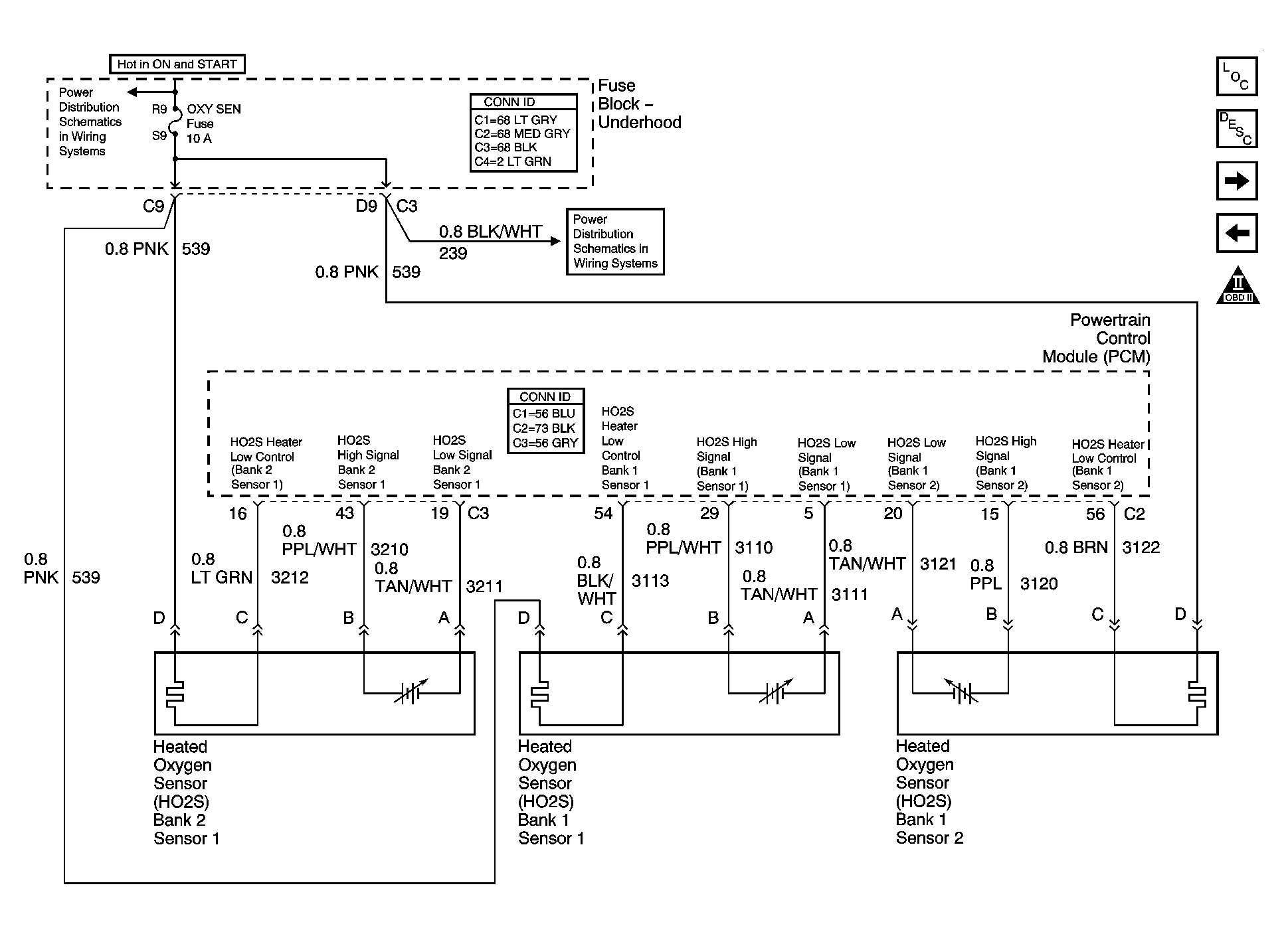
Fig 5: HO2S Sensors
GM1411449Courtesy of GENERAL MOTORS CORP.
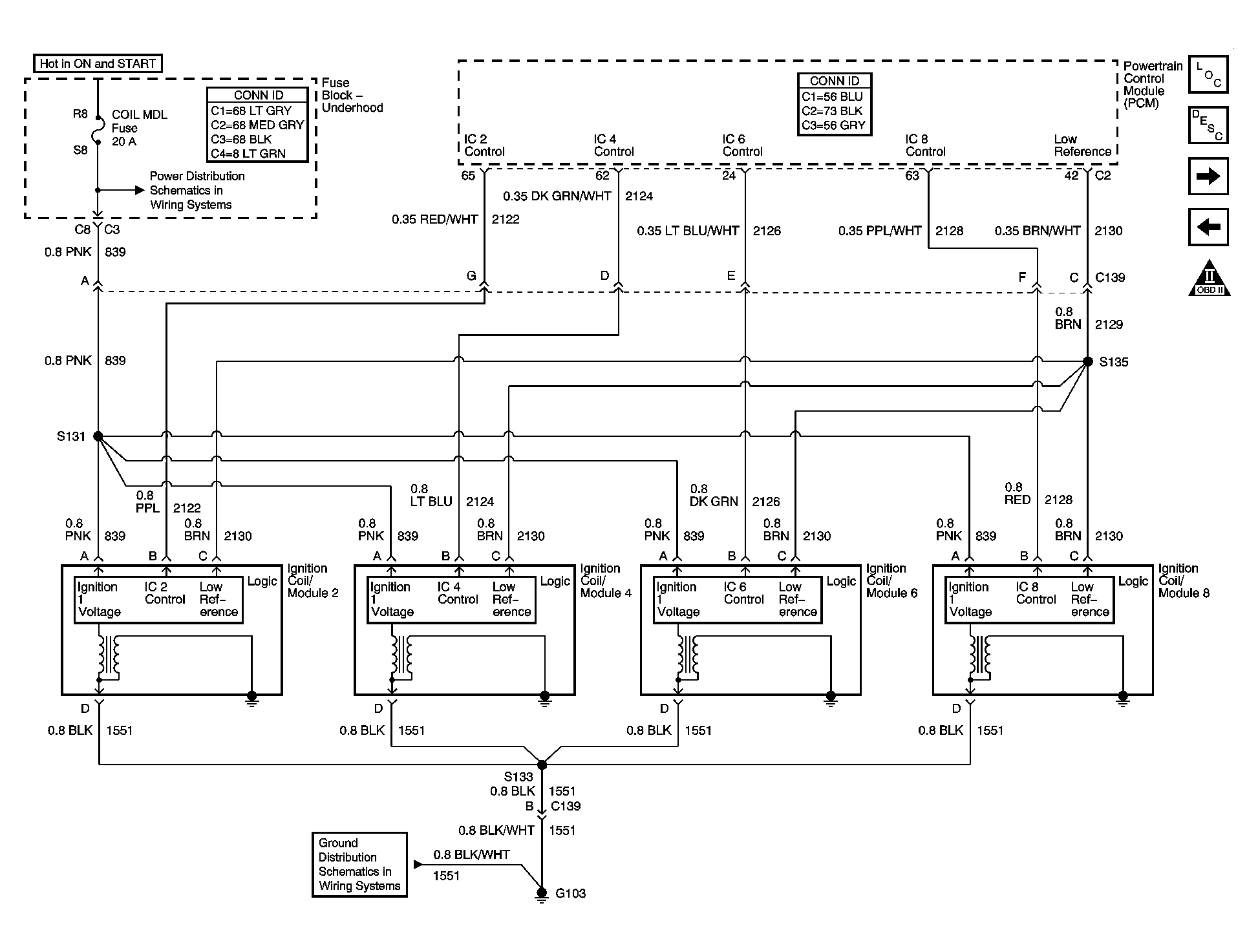
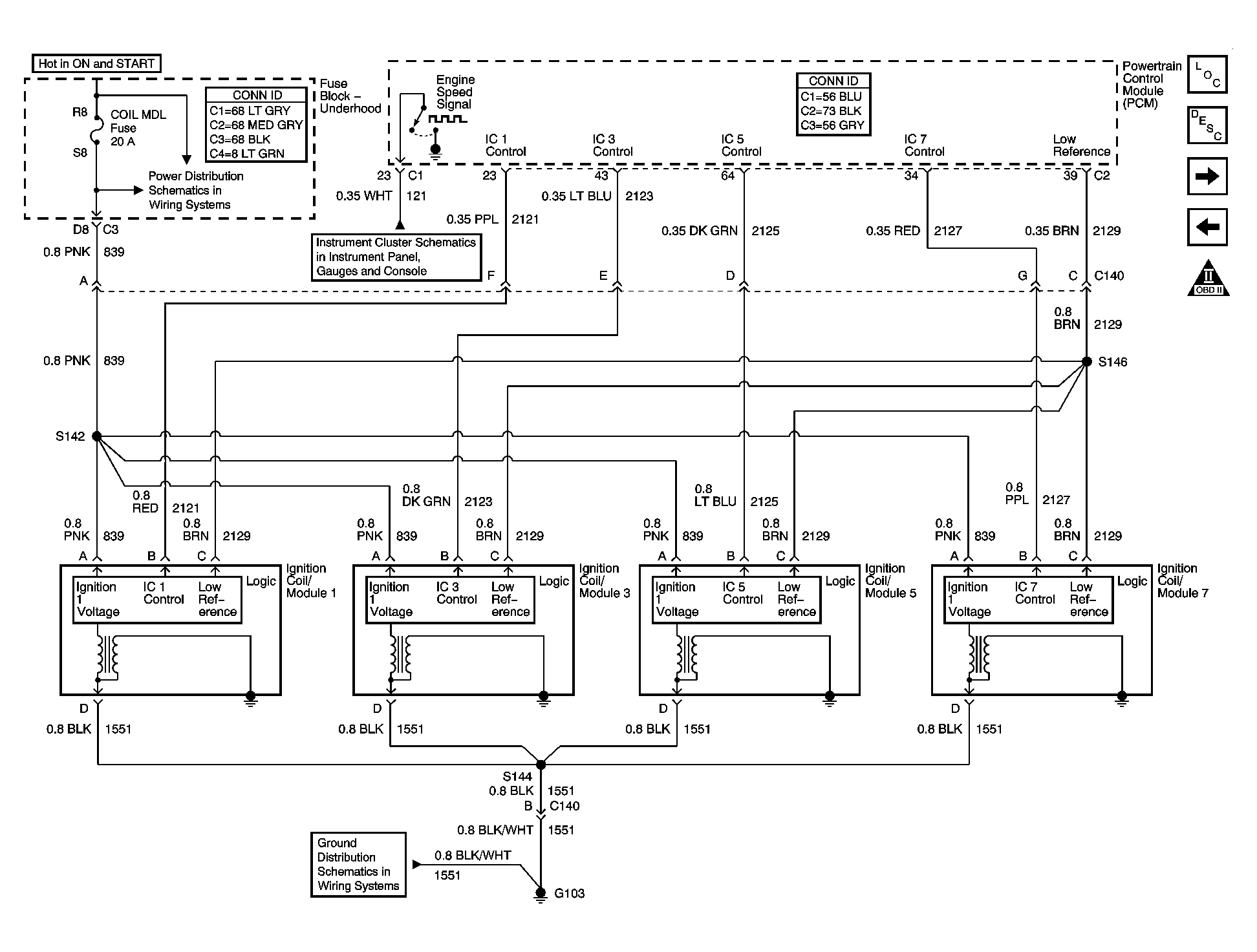
Fig 6: Ignition Controls - Ignition Coil/Modules 1, 3, 5 and 7
GM1411454Courtesy of GENERAL MOTORS CORP.
Fig 7: Ignition Controls - Ignition Coil/Modules 2, 4, 6 and 8
GM1411458Courtesy of GENERAL MOTORS CORP.
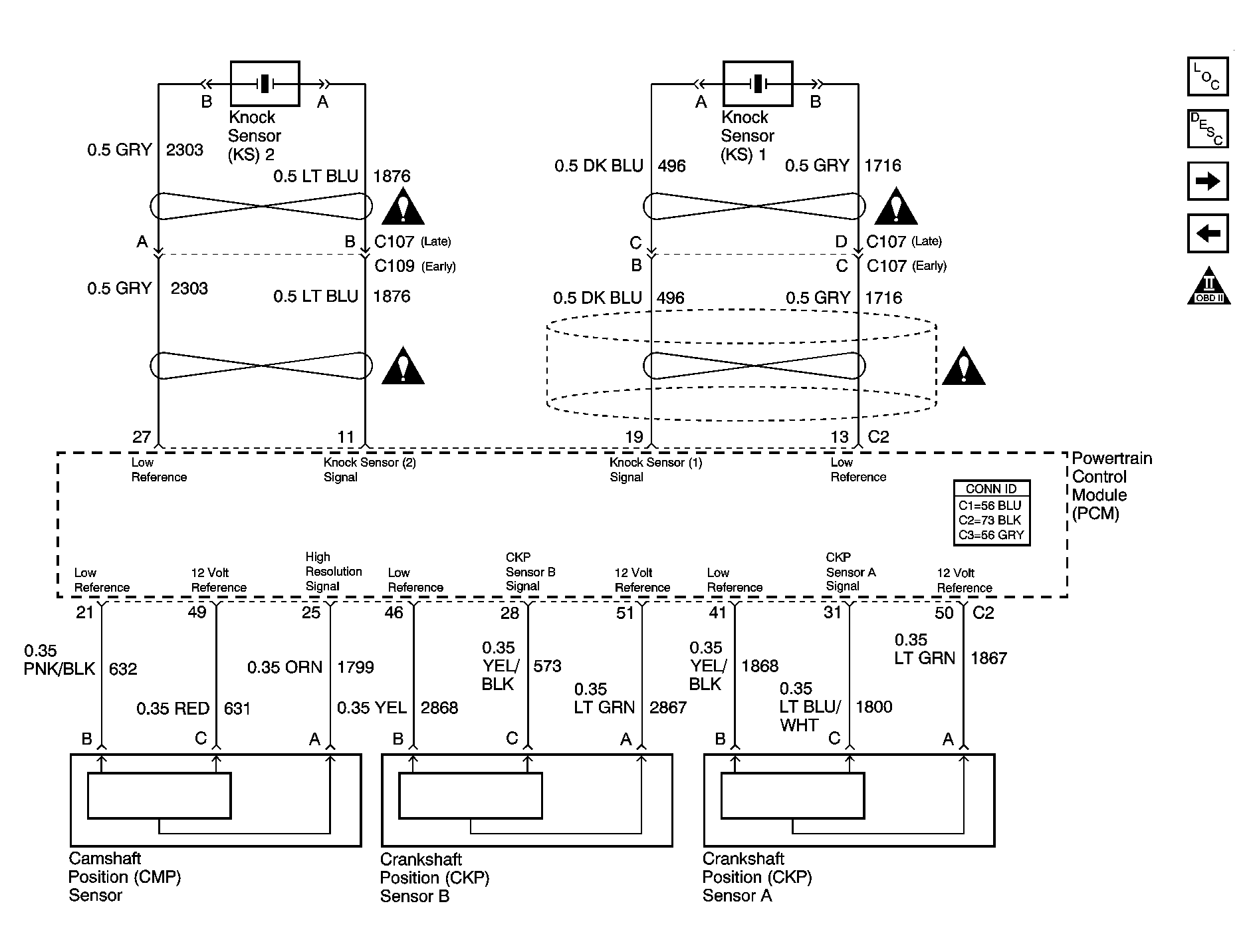
Fig 8: Ignition Controls - Sensors
GM1411463Courtesy of GENERAL MOTORS CORP.
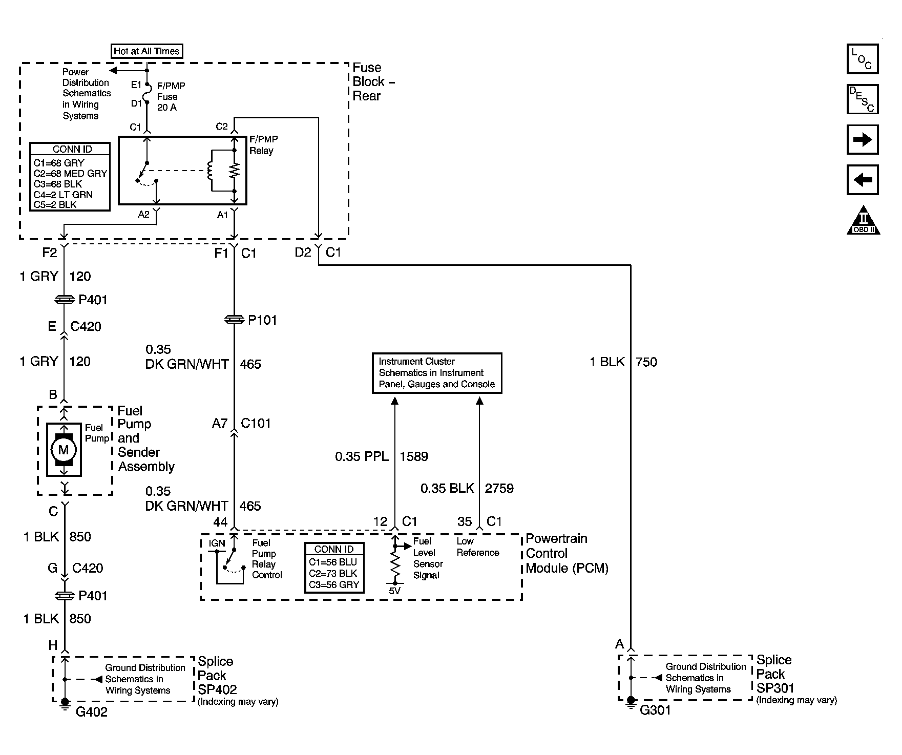
Fig 9: Fuel Controls - Fuel Pump Controls
GM1411465Courtesy of GENERAL MOTORS CORP.
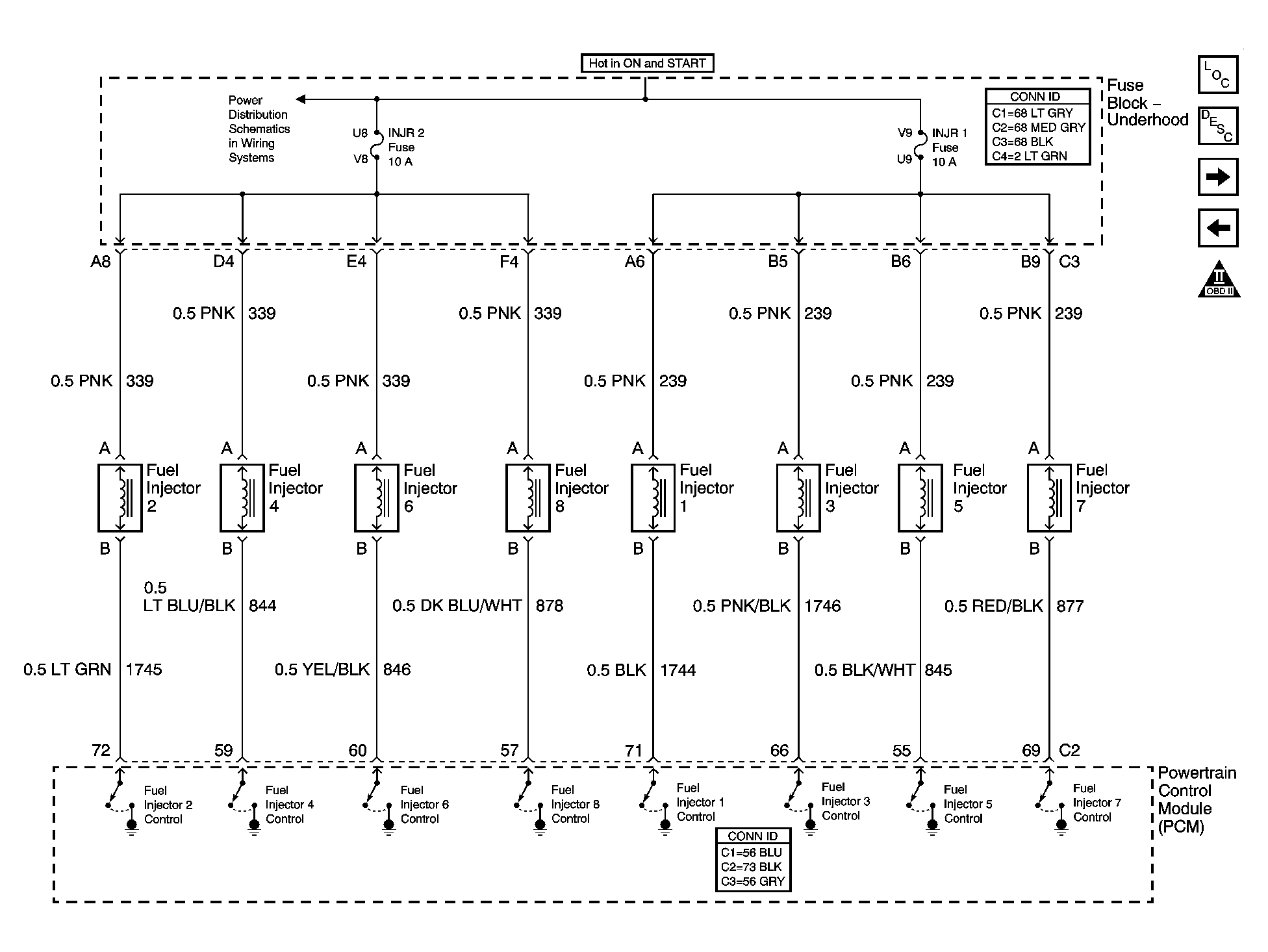
Fig 10: Fuel Controls - Fuel Injectors
GM1411466Courtesy of GENERAL MOTORS CORP.
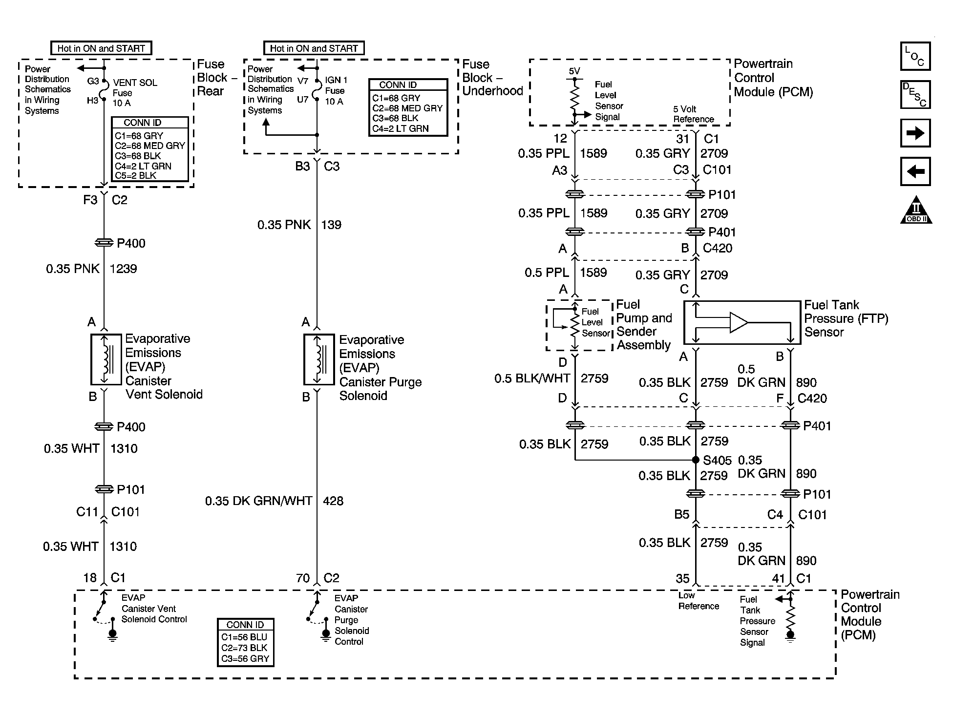
Fig 11: EVAP Controls
GM1411467Courtesy of GENERAL MOTORS CORP.
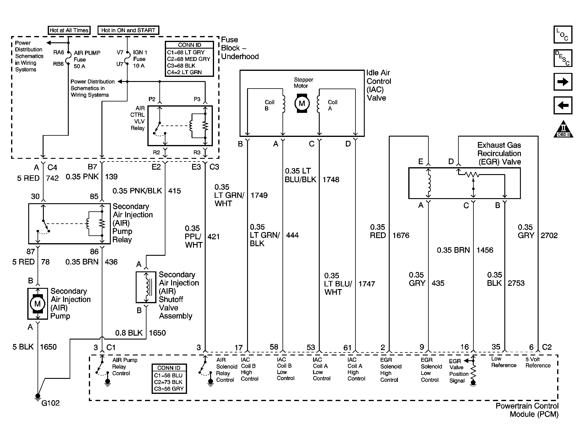
Fig 12: Device Controls
GM1411468Courtesy of GENERAL MOTORS CORP.
Fig 13: Controlled/Monitored Subsystem References
GM1411470Courtesy of GENERAL MOTORS CORP.
Fig 14: Transmission Controls References
GM1411471Courtesy of GENERAL MOTORS CORP.