lemon-mirror:
Home >> Cadillac >> 2005 >> Escalade EXT >> Repair and Diagnosis >> External Pages >> Different car >> Section 11 (Entertainment System) >> Component Locator >> Entertainment Component Views

Entertainment Component Views

WARNING: This page is about a different car, the 2004 GMC Sierra, 2004 GMC Cab & Chassis Sierra, 2004 Chevrolet Silverado, and 2004 Chevrolet Cab & Chassis Silverado. However, it is still accessible from the selected car via links, so may be relevant.
Fig 1: Console Harness
GM1407819Courtesy of GENERAL MOTORS CORP.
Callout Component Name
1 Auxiliary Power Outlet - Front Connector
2 S333
3 S307
4 S303
5 Rear Seat Audio (RSA) Controller Connector
6 Auxiliary Power Outlet - Console Connector
7 Audio Amplifier Connector C2
8 Audio Amplifier Connector C1
9 Cigar Lighter
10 C306
11 Speaker - Subwoofer Connector
12 Speaker - Subwoofer (UQ7)
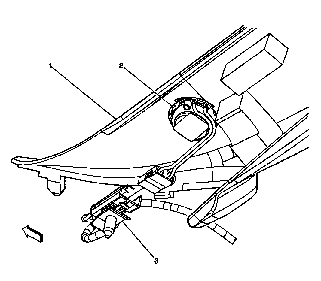
Fig 2: Radio (RPO Code UB7 w/Y91 Shown, Others Similar)
GM851267Courtesy of GENERAL MOTORS CORP.
Callout Component Name
1 Radio Connectors
2 Radio Antenna
3 Instrument Panel
4 HVAC Control Module
5 Radio
6 HVAC Control Module Connectors
Fig 3: Speaker - LR (Extended Cab)
GM350029Courtesy of GENERAL MOTORS CORP.
Callout Component Name
1 Inner Body Panel-LH
2 Speaker Connector - Harness
3 Electrical Connector - Speaker
4 Speaker-LR
Fig 4: Speaker - RF Door
GM851249Courtesy of GENERAL MOTORS CORP.
Callout Component Name
1 Door-RF
2 Speaker-RF Door
3 Speaker-RF Door Connector
Fig 5: Speaker - LF Door
GM851251Courtesy of GENERAL MOTORS CORP.
Callout Component Name
1 Door-LF
2 Speaker-LF Door
3 Window Motor-Driver Connector
4 Speaker-LF Door Connector
5 Driver Door Module (DDM) Connectors
6 Outside Rearview Mirror-Left Connector
Fig 6: Speaker - LF Tweeter (RF Similar)
GM851254Courtesy of GENERAL MOTORS CORP.
Callout Component Name
1 Left A-Pillar Trim Panel
2 Speaker-LF Tweeter
3 Speaker-LF Tweeter Connector
Fig 7: Speaker - LR Door (RR Similar)
GM851258Courtesy of GENERAL MOTORS CORP.
Callout Component Name
1 Door-LR
2 Window Motor-LR
3 Speaker-LR
Fig 8: Splice Pack SP250 (RPO Code UQ7)
GM1170964Courtesy of GENERAL MOTORS CORP.
Callout Component Name
1 Instrument Panel
2 C202
3 SP250
Fig 9: Rear of Center Console
GM851270Courtesy of GENERAL MOTORS CORP.
Callout Component Name
1 Center Console
2 Rear Seat Audio (RSA)/Rear HVAC Controller
3 Auxiliary Power Outlet-Console
Fig 10: Steering Wheel Components
GM851273Courtesy of GENERAL MOTORS CORP.
Callout Component Name
1 Steering Wheel Audio Controls-Left
2 Inflatable Restraint Steering Wheel Module - C4
3 Steering Wheel Audio Controls-Right
4 Steering Wheel Driver Information Center (DIC) Controls-Right
5 Inflatable Restraint Steering Wheel Module - C3
6 Inflatable Restraint Steering Wheel Module - C2
7 Steering Wheel Driver Information Center (DIC) Controls-Left
8 Steering Column
9 Steering Wheel
Fig 11: Remote Playback Device - CD Player
GM851274Courtesy of GENERAL MOTORS CORP.
Callout Component Name
1 Lower I/P Bezel
2 Remote Playback Device-CD Player
Fig 12: Digital Radio Receiver
GM851276Courtesy of GENERAL MOTORS CORP.
Callout Component Name
1 Right Side of Instrument Panel
2 Digital Radio Receiver
3 Digital Radio Receiver Connector
Fig 13: Rear Seat Entertainment (RSE) Assembly
GM851278Courtesy of GENERAL MOTORS CORP.
Callout Component Name
1 Headliner
2 Rear Seat Entertainment (RSE) Assembly
3 Rear Seat Entertainment (RSE) Display
4 Intermediate Bracket
5 Fir Tree Retainer
Fig 14: Steering Wheel and Column Sub-System Component Views
GM856748Courtesy of GENERAL MOTORS CORP.
Callout Component Name
1 Steering Wheel Audio Controls - Left
2 Passlock Sensor Connector
3 Ignition Key Alarm Switch
4 Ignition Lock Cylinder Control Actuator
5 Ignition Lock Cylinder Control Actuator Connector
6 Ignition Switch
7 Ignition Key Cylinder
8 Steering Wheel Audio Controls - Right
9 Horn Switch
10 Steering Wheel Driver Information (DIC) Controls - Right
11 C277
12 Steering Wheel Driver Information Center (DIC) Controls - Left
13 Turn Signal/Multifunction Switch