lemon-mirror:
Home >> Cadillac >> 2006 >> Escalade EXT >> Repair and Diagnosis >> Electrical >> Component Locations >> Wiring Systems - Component Views >> Electrical Center Identification Views >> Relay Block - I/P Body Bottom View >> Notes

Relay Block - I/P Body Bottom View: Notes

Fig 1: Relay Block - I/P Bottom View
GM892417Courtesy of GENERAL MOTORS CORP.
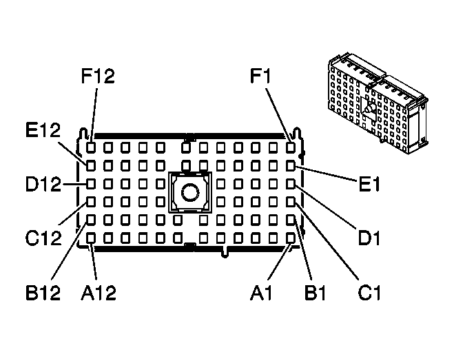
Relay Block - I/P - C1

GM365994Courtesy of GENERAL MOTORS CORP.
Connector Part Information
  • 12193905
  • 68-Way F Metri-Pack 280 Series Flexlock (GY)
Pin Wire Color Circuit No. Function
A1 L-GN 24 Backup Lamp Supply Voltage - BCM
L-GN 24 Backup Lamp Supply Voltage - Junction Block - Rear
A2 - - Not Used
A3 BK/WH 1704 Low Reference
A4 D-GN/
WH
636 Ambient Air Temperature Sensor Signal
A5 BK/WH 1851 Ground
BK/WH 1851 Ground
A6 WH 193 Rear Defog Relay Control
A7 - - Not Used
A8 BN/WH 230 Instrument Panel Lamps Dimming Control
BN/WH 230 Instrument Panel Lamps Dimming Control (Y91)
A9 YE 1139 Ignition 1 Voltage
A10 - - Not Used
A11 BN/WH 230 Instrument Panel Lamps Dimming Control (NP1/NP8)
BN/WH 230 Instrument Panel Lamps Dimming Control (VSES)
A12 GY/BK 690 Courtesy Lamp Supply Voltage
B1 PK 1045 Serial Communications Circuit (w/o Y91)
B2 OG 3740 Battery Positive Voltage (UQ7 w/o Y91)
B3 BK/WH 1851 Ground
BK/WH 1851 Ground
B4 - - Not Used
B5 BK/WH 1851 Ground
BK/WH 1851 Ground
B6 OG 1840 Battery Positive Voltage
B7 RD 642 Battery Positive Voltage
B8 BN/WH 230 Instrument Panel Lamps Dimming Control
BN/WH 230 Instrument Panel Lamps Dimming Control (JL4)
BN/WH 230 Instrument Panel Lamps Dimming Control (NYS)
B9 D-GN/WH 817 Vehicle Speed Signal (UQ7 w/Y91)
D-GN/WH 817 Vehicle Speed Signal
B10 - - Not Used
B11 OG 3240 Battery Positive Voltage (w/o Y91)
B12 - - Not Used
C1 OG 340 Battery Positive Voltage (YE9)
C2 BN/WH 230 Instrument Panel Lamps Dimming Control
BN/WH 230 Instrument Panel Lamps Dimming Control (YE9)
C3 BN/WH 230 Instrument Panel Lamps Dimming Control (YE9)
BN/WH 230 Instrument Panel Lamps Dimming Control (U1S)
C4 OG 1732 Inadvertent Power Supply Voltage
C5 BK/WH 1851 Ground
C6-C7 - - Not Available
C8 BN/WH 230 Instrument Panel Lamps Dimming Control
BN/WH 230 Instrument Panel Lamps Dimming Control
C9 OG 1340 Battery Positive Voltage
C10 BN 2409 Interior Park Lamps Supply Voltage
C11 OG 1732 Inadvertent Power Supply Voltage (Y91)
OG 1732 Inadvertent Power Supply Voltage (Avalanche/Escalade EXT)
C12 - - Not Used
D1 WH/BK 5515 Inside Air Temperature Sensor Assembly Control (CJ2)
D2 BN/WH 230 Instrument Panel Lamps Dimming Control
D3 BN/WH 230 Instrument Panel Lamps Dimming Control (T89/ w/o Y91)
BN/WH 230 Instrument Panel Lamps Dimming Control (UM8)
D4 OG 1732 Inadvertent Power Supply Voltage
D5 BK/WH 1851 Ground
BK/WH 1851 Ground (U42)
D6-D7 - - Not Available
D8 BK/WH 1851 Ground
BK/WH 1851 Ground (Y91)
D9 BK 1050 Ground
D10 BN 2409 Interior Park Lamps Supply Voltage (906 w/NYS)
D11 - - Not Used
D12 OG 2340 Battery Positive Voltage (VYU)
E1 BN 718 Low Reference (CJ2)
E2 PK 1691 Automatic Day/Night Mirror Low Reference (DL3)
E3 - - Not Used
E4 PU/WH 1382 LED Dimming Signal
PU/WH 1382 LED Dimming Signal (NP1/NP8)
E5 BK/WH 1851 Ground (AU3/YE9)
BK/WH 1851 Ground (UQ7/Y91)
E6 D-GN/WH 817 Vehicle Speed Signal
D-GN/WH 817 Vehicle Speed Signal (NYS)
E7 PU/WH 1382 LED Dimming Signal
PU/WH 1382 LED Dimming Signal
E8 BK/WH 1851 Ground
BK/WH 1851 Ground
E9 - - Not Used
E10 RD 242 Battery Positive Voltage
E11-E12 - - Not Used
F1 D-GN 734 Inside Air Temperature Sensor Signal (CJ2)
F2 GY 1690 Automatic Day/Night Mirror Signal (DL3)
F3 PK 739 Ignition 1 Voltage
F4 TN/WH 1384 Selective Ride Control Switch Signal
F5 BK/WH 1851 Ground (NP1/NP8)
BK/WH 1851 Ground (U2K/U2L & Y91)
F6 PU/WH 1382 LED Dimming Signal (Z75 or T79)
PU/WH 1382 LED Dimming Signal (NYS)
F7 OG 4540 Battery Positive Voltage
OG 4540 Battery Positive Voltage (T79)
F8 BK/WH 1851 Ground ( Y91)
BK/WH 1851 Ground (VD1)
F9 L-BU 1620 Trailer CHMSL Supply Voltage
F10 D-BU 47 Trailer Auxiliary Supply Voltage (w/o LU3)
F11 YE 243 Accessory Voltage
F12 - - Not Used
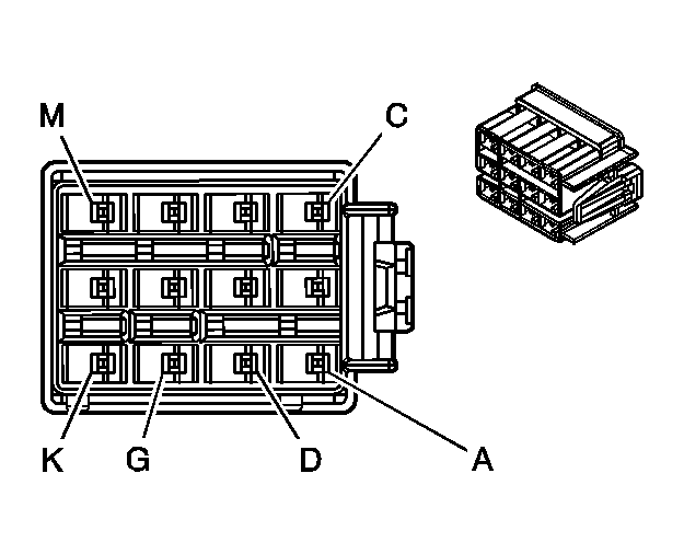
Relay Block - I/P - C3

GM655838Courtesy of GENERAL MOTORS CORP.
Connector Part Information
  • 15328768
  • 12-Way F Metri-Pack 280 Series Flexlock (BN)
Pin Wire Color Circuit No. Function
A L-GN 24 Backup Lamp Supply Voltage
B OG 4540 Battery Positive Voltage
C BK 1050 Ground
D - - Not Used
E YE 1139 Ignition 1 Voltage
F D-GN 2308 Passenger Air Bag OFF Indicator Control (ALO)
G BK/WH 1704 Low Reference (YE9)
H D-BU 2307 Passenger Air Bag ON Indicator Control (ALO)
J - - Not Used
K D-GN/WH 636 Ambient Air Temperature Sensor Signal (YE9)
L GY/BK 690 Courtesy Lamp Supply Voltage
GY/BK 690 Courtesy Lamp Supply Voltage (Avalanche/Escalade EXT)
M OG 1732 Inadvertent Power Supply Voltage
Relay Block - I/P - C4

GM886342Courtesy of GENERAL MOTORS CORP.
Connector Part Information
  • 12193922
  • 6-Way F Metri-Pack 280 Series Flexlock (CM)
Pin Wire Color Circuit No. Function
A BN/WH 230 Instrument Panel Lamps Dimming Control (YE9)
BN/WH 230 Instrument Panel Lamps Dimming Control (C36 or C69)
B PK 1691 Automatic Day/Night Mirror Low Reference (DL3)
C GY 1690 Automatic Day/Night Mirror Signal (DL3)
D D-GN 734 Inside Air Temperature Sensor Signal (CJ2)
E BN 718 Low Reference (CJ2)
F WH/BK 5515 Inside Air Temperature Sensor Assembly Control (CJ2)
Relay Block - I/P - C7 (Z82 w/Electric Trailer Brake Jumper Installed)

GM886343Courtesy of GENERAL MOTORS CORP.
Connector Part Information
  • 12193924
  • 6-Way F Metri-Pack 280 Series Flexlock (BN)
Pin Wire Color Circuit No. Function
A BN 2409 Interior Park Lamps Supply Voltage
B RD 242 Battery Positive Voltage
C D-BU 47 Trailer Auxiliary Supply Voltage
D L-BU 1620 Trailer CHMSL Supply Voltage
E - - Not Used
F BK 1050 Ground
Relay Block - I/P - C8 (VYU)

GM886362Courtesy of GENERAL MOTORS CORP.
Connector Part Information
  • 12193930
  • 6-Way F Metri-Pack 280 Series (BK)
Pin Wire Color Circuit No. Function
A OG 2340 Battery Positive Voltage
B-D - - Not Used
E OG 4540 Battery Positive Voltage
F BK 1050 Ground
Relay Block - I/P - C9 (Except Y91)

GM524807Courtesy of GENERAL MOTORS CORP.
Connector Part Information
  • 12194035
  • 12-Way F Metri-Pack 280 Series (BK)
Pin Wire Color Circuit No. Function
A - - Not Used
B PK 1045 Serial Communications Circuit
C - - Not Used
D OG 3740 Battery Positive Voltage (UQ7)
E OG 340 Battery Positive Voltage (UK6)
OG 340 Battery Positive Voltage (U2K/U2L)
F-G - - Not Used
H OG 3240 Battery Positive Voltage (UE1)
OG 3240 Battery Positive Voltage (UE1)
J OG 3240 Battery Positive Voltage (U42)
K BK/WH 1851 Ground (UE1)
BK/WH 1851 Ground (U42)
L BK/WH 1851 Ground (UE1)
M BK/WH 1851 Ground (UQ7)
BK/WH 1851 Ground (U2K/U2L)
Relay Block - I/P - C10

GM831381Courtesy of GENERAL MOTORS CORP.
Connector Part Information
  • 15357030
  • 12-Way F Metri-Pack 280 Series Flex-Lock (WH)
Pin Wire Color Circuit No. Function
A OG 4540 Battery Positive Voltage - LR Heated Seat Module (Y91)
OG 4540 Battery Positive Voltage - RR Heated Seat Module (Y91)
B GY/BK 690 Courtesy Lamp Supply Voltage (Suburban/Escalade ESV)
C GY/BK 690 Courtesy Lamp Supply Voltage - LR Door
GY/BK 690 Courtesy Lamp Supply Voltage - RR Door
D D-GN 2308 Passenger Air Bag OFF Indicator Control (ALO)
E OG 1440 Battery Positive Voltage
F BN/WH 230 Instrument Panel Lamps Dimming Control
BN/WH 230 Instrument Panel Lamps Dimming Control
G D-BU 2307 Passenger Air Bag ON Indicator Control (w/ALO)
H OG 1440 Battery Positive Voltage
J D-GN/WH 817 Vehicle Speed Signal (Z75)
K OG 1340 Battery Positive Voltage
L PU 293 Rear Defog Element Supply Voltage
M YE 1139 Ignition 1 Voltage
YE 1139 Ignition 1 Voltage (ALO)