lemon-mirror:
Home >> Cadillac >> 2007 >> Escalade EXT >> Repair and Diagnosis >> Body & Frame >> Ignition Switch/Steering Lock >> Immobilizer System >> Visual Identification >> Immobilizer Connectors >> Theft Deterrent Control Module

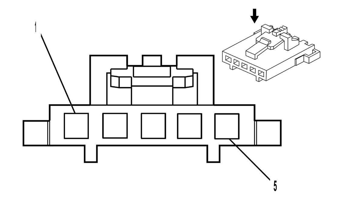
Theft Deterrent Control Module

Fig 1: Theft Deterrent Control Module Connector End View
GM1593355Courtesy of GENERAL MOTORS CORP.
Theft Deterrent Control Module Connector Parts Information

Connector Part Information 
  • OEM: 15383337
  • Service: 88988353
  • Description: 5-Way F MISC (BK)
Terminal Part Information 
  • Terminal/Tray: 16-02-1110/20
  • Core/Insulation Crimp: H/H
  • Release Tool/Test Probe: J-38125-213/J-35616-64A (L-BU)
Theft Deterrent Control Module Connector Terminal Identification

Pin Wire Color Circuit No. Function
1 RD/WH 540 Battery Positive Voltage
2 YE 4 Accessory Voltage
3 BK/WH 1851 Ground
4 D-GN 5060 Low Speed GMLAN Serial Data
5 - - Not Used