lemon-mirror:
Home >> Cadillac >> 2007 >> Escalade EXT >> Repair and Diagnosis >> Body & Frame >> Mirrors >> Mirror System >> Repair Instructions >> Mirror Face Replacement

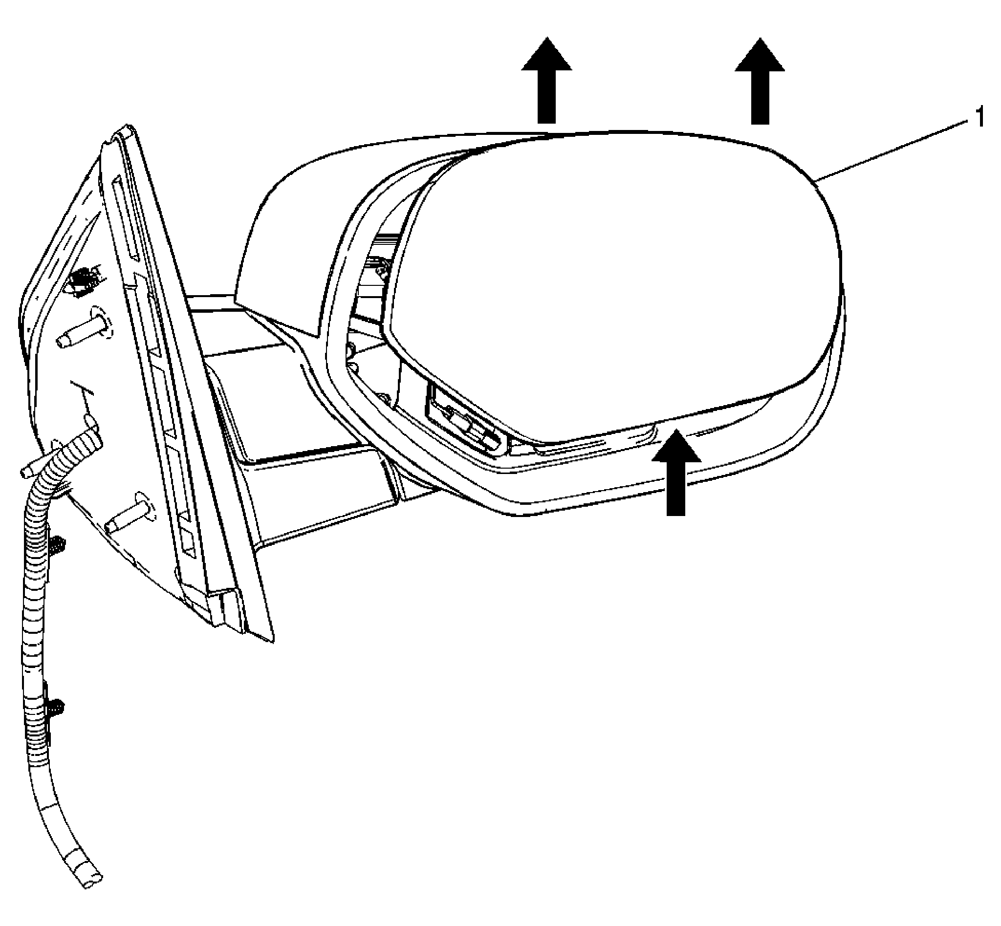
Mirror Face Replacement

Fig 1: View Of Outside Rearview Mirror Face
GM1730647Courtesy of GENERAL MOTORS CORP.
Mirror Face Replacement

Callout Component Name
Fastener Tightening Specifications:  Refer to Fastener Tightening Specifications .
1 Outside Rearview Mirror Face
Tip: 
  1. Tilt the mirror face outward at the bottom.
  2. With a twisting motion push upward on the bottom of the mirror face and pull forward until it releases from the rearview mirror motor.
  3. Disconnect the electrical connectors.