lemon-mirror:
Home >> Cadillac >> 2007 >> Escalade EXT >> Repair and Diagnosis >> Electrical >> Body Electrical >> Accessory Power Socket >> Component Locator >> Power Outlet Component Views

Power Outlet Component Views

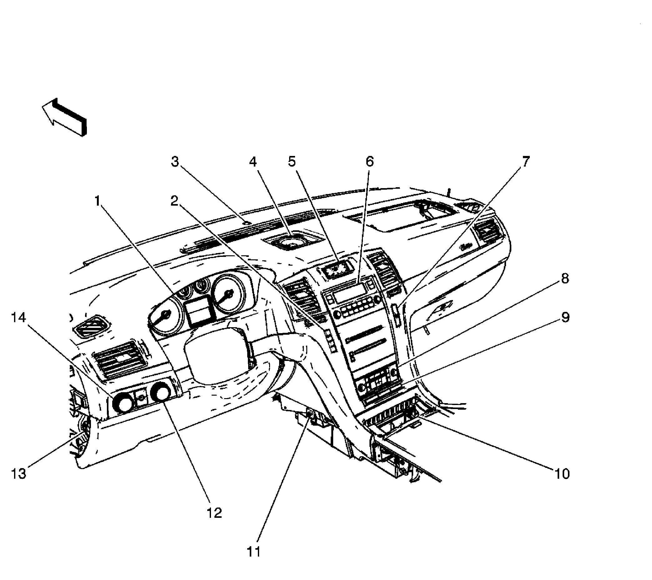
Fig 1: Front of the I/P (Except Z75)
GM1714203Courtesy of GENERAL MOTORS CORP.
Callout Component Name
1 Turn Signal Multifunction Switch
2 Inflatable Restraint Steering Wheel Module Coil
3 Instrument Panel Cluster (IPC)
4 Tow/Haul Switch
5 Driver Information Center (DIC) Switch
6 Ambient Light/Sunload Sensor Assembly (CJ2) or Ambient Light Sensor (CJ3)
7 HVAC Control Module
8 Auxiliary Power Outlet - Front 2
9 I/P Multifunction Switch Assembly
10 Auxiliary Power Outlet - Front 1
11 Radio
12 Transfer Case Shift Control Switch
13 Headlamp and Panel Dimmer Switch
Fig 2: Front of the I/P (Z75)
GM1732568Courtesy of GENERAL MOTORS CORP.
Callout Component Name
1 Instrument Panel Cluster (IPC)
2 Driver Information Center (DIC) Switch
3 Ambient Light/Sunload Sensor Assembly (CJ2)
4 Speaker - Center
5 Analog Clock
6 Radio
7 Traction Control / Rear Object Detection Switch
8 HVAC Control Module
9 I/P Multifunction Switch Assembly
10 Auxiliary Power Outlet - Front 1
11 Noise Compensation Microphone (Y91)
12 Transfer Case Shift Control Switch
13 Fuse Block - I/P
14 Headlamp and Panel Dimmer Switch
Fig 3: RR of the Passenger Compartment (E52)
GM1714229Courtesy of GENERAL MOTORS CORP.
Callout Component Name
1 Information Center Telltale Assembly (UD7)
2 Speaker - Right D-Pillar
3 Auxiliary Power Outlet (APO) - Rear