lemon-mirror:
Home >> Cadillac >> 2007 >> STS V >> Repair and Diagnosis >> Body & Frame >> Door Locks >> Keyless Entry System And Remote Functions >> Component Locator >> Remote Function Component Views

Remote Function Component Views

Fig 1: Center of the Core Support
GM1488439Courtesy of GENERAL MOTORS CORP.
Callout Component Name
1 Air Quality Sensor (K14)
2 Ambient Air Temperature Sensor
3 Hood Ajar Switch Connector
Fig 2: Headliner Components
GM1530189Courtesy of GENERAL MOTORS CORP.
Callout Component Name
1 Overhead Courtesy/Reading Lamps - Front
2 Garage Door Opener (UG1)
3 Keyless Entry Antenna - Headliner
4 Sunroof Control Module (CF5)
5 Overhead Courtesy/Reading Lamps-Rear
6 Rear Parking Assist (RPA) Display (UD7)
7 Sunroof Assembly (CF5)
8 Top of Headliner
9 Noise Compensation Microphone (UY5)
10 Sunroof Switches (CF5)
Fig 3: Remote Control Door Lock and Theft Deterrent - Keyless Entry
GM1744537Courtesy of GENERAL MOTORS CORP.
Callout Component Name
1 Keyless Entry Antenna
2 Keyless Entry Backup Antenna
3 Keyless Entry Antenna Headliner
4 Remote Keyless Entry Receiver Module
Fig 4: Rear Compartment Lid Switch
GM1617362Courtesy of GENERAL MOTORS CORP.
Callout Component Name
1 Rear Compartment Lid Release Switch - Exterior
2 Keyless Entry Antenna - Rear Compartment
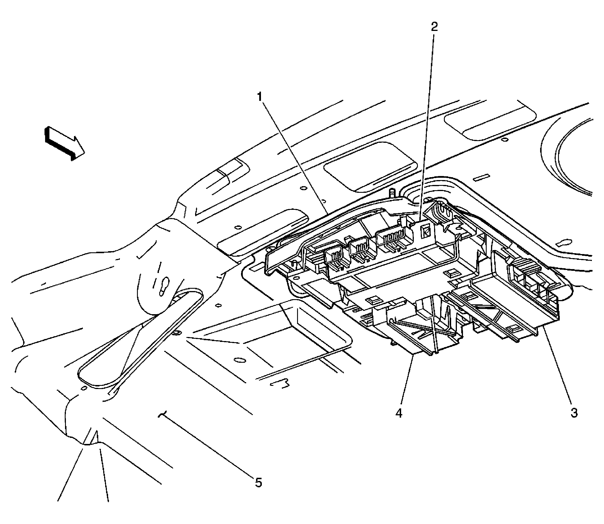
Fig 5: Under the Rear Window Shelf
GM1488523Courtesy of GENERAL MOTORS CORP.
Callout Component Name
1 Module Bracket Assembly
2 Remote Control Door Lock Receiver (RCDLR)
3 Rear Integration Module (RIM)
4 Rear Object Sensor Control Module (UD7)
5 Rear Window Shelf
Fig 6: Under Left Rear Window Panel
GM1721660Courtesy of GENERAL MOTORS CORP.
Callout Component Name
1 Rear Parking Assist Diagnostic Connector
2 Speaker Grille -LR
3 Wheel Well -LR
Fig 7: Left and Right Front Door
GM1772368Courtesy of GENERAL MOTORS CORP.
Callout Component Name
1 Outer Door Panel
2 Keyless Entry Antenna