lemon-mirror:
Home >> Cadillac >> 2007 >> STS V >> Repair and Diagnosis >> Body & Frame >> Door Locks >> Keyless Entry System And Remote Functions >> Component Locator >> Remote Function Connector End Views >> Keyless Entry Antenna - Backup

Keyless Entry Antenna - Backup

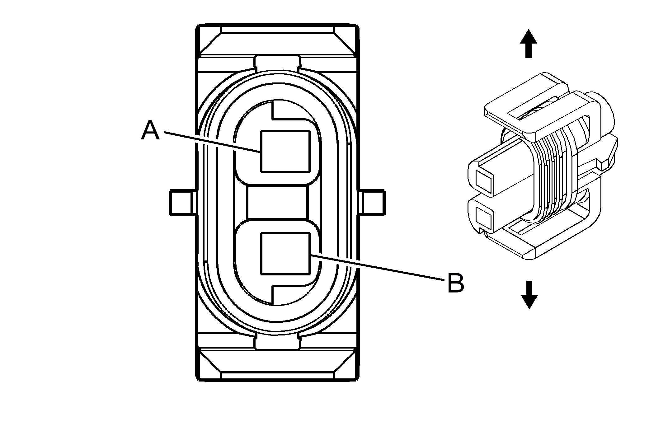
Fig 1: Keyless Entry Antenna - Backup Connector End View
GM1334534Courtesy of GENERAL MOTORS CORP.
Keyless Entry Antenna - Backup Connector Parts Information

Connector Part Information 
  • OEM: 12162017
  • Service: 12101937
  • Description: 2-Way F Metri-Pack 150 Series Sealed (M-GY)
Terminal Part Information 
  • Terminal/Tray: 12048074/2
  • Core/Insulation Crimp: E/1
  • Release Tool/Test Probe: 12094429/J-35616-2A (GY)
Keyless Entry Antenna - Backup Connector Terminal Identification

Pin Wire Color Circuit No. Function
A PU 218 Keyless Entry Antenna Signal (1)
B TN 219 Keyless Entry Antenna Low Reference (1)