lemon-mirror:
Home >> Cadillac >> 2007 >> XLR Base >> Repair and Diagnosis >> Engine Mechanical >> Engine Exhaust System >> Component Locator >> Exhaust System Connector End Views >> Exhaust Flow Control Module C2

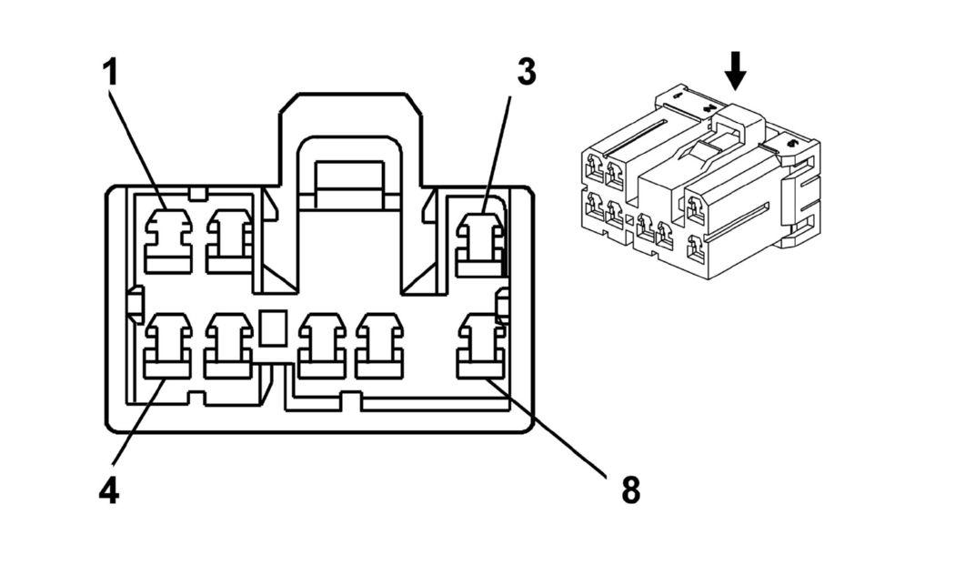
Exhaust Flow Control Module C2

Fig 1: Exhaust Flow Control Module C2 Connector End View
GM1391782Courtesy of GENERAL MOTORS CORP.
Exhaust Flow Control Module C2 Connector Parts Information

Connector Part Information 
  • OEM: 12196605
  • Service: 88953352
  • Description: 8-Way F 070 Series (WH)
Terminal Part Information 
  • Terminal/Tray: 173630-7/7
  • Core/Insulation Crimp: E/4
  • Release Tool/Test Probe: 15315247/J-35616-33 (YE)
Exhaust Flow Control Module C2 Connector Terminal Identification

Pin Wire Color Circuit No. Function
1 - - Not Used
2 RD/WH 1240 Battery Positive Voltage
3 - - Not Used
4 BK 1150 Ground
5-6 - - Not Used
7 L-GN/BK 1098 Class 2 Serial Data
8 - - Not Used