lemon-mirror:
Home >> Cadillac >> 2012 >> Escalade EXT >> Repair and Diagnosis >> External Pages >> Different car >> Section 249 (Stationary Window System) >> Repair Instructions >> Hinged Body Side Window Replacement >> Installation Procedure

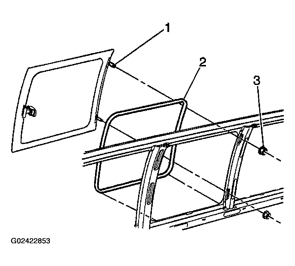
Installation Procedure

WARNING: This page does not describe the selected car, but rather 6 other vehicles, including the 2003 GMC Savana Special, 2003 GMC Savana Camper Special, 2003 GMC Savana, 2003 Chevrolet RV Cutaway, and 2003 Chevrolet Cutaway. However, it is still accessible from the selected car via links, so may be relevant.
  1. Install the window assembly to the vehicle.
    CAUTION: Refer to FASTENER NOTICE .
  2. Install the nuts (3) that retain the hinge to the vehicle.

    Tighten 

    Tighten the nuts to 10 N.m (89 lb in).

  3. Install the screws that retain the latch to the vehicle.

    Tighten 

    Tighten the screws to 3 N.m (27 lb in).

    Fig 1: Installing Hinged Body Side Window
    G02422853Courtesy of GENERAL MOTORS CORP.