lemon-mirror:
Home >> Cadillac >> 2012 >> Escalade EXT >> Repair and Diagnosis >> External Pages >> Different car >> Section 587 (Front Suspension System) >> Repair Instructions >> Front Transverse Spring Replacement >> Installation Procedure

Installation Procedure

WARNING: This page is about a different car, the 2004 Chevrolet Corvette. However, it is still accessible from the selected car via links, so may be relevant.
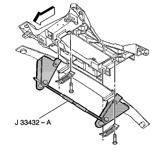
    Fig 1: Removing/Installing Transverse Spring Using J 33432-A
    GM65337Courtesy of GENERAL MOTORS CORP.
  1. Install the transverse spring compressor J 33432-A  to the transverse spring. See Special Tools and Equipment .
  2. Install the transverse spring to the crossmember.
  3. Fig 2: Transverse Spring, Transverse Spring Compressor & Bolts
    GM423106Courtesy of GENERAL MOTORS CORP.
    NOTE: Refer to Fastener Notice .
    NOTE: Do not remove the transverse leaf spring compressor tool until after the shock absorber has been installed. The pad on the transverse leaf spring bolt could move out of position resulting in damage to the pad or a rattle in the suspension.
  4. Install the transverse spring retainers and bolts (Use New Bolts) to the crossmember.

    Tighten:  Tighten the transverse spring retainer bolts (Use New Bolts) to 62 N.m (46 lb ft).

  5. Fig 3: Lower Control Arm & Bolts
    GM65339Courtesy of GENERAL MOTORS CORP.
  6. Install the lower control arm to the front crossmember.
  7. Install the cam bolts to the position that was marked during disassembly.

    Due to a required wheel alignment, tighten the cam bolts but do not set to the final torque specification at this time.

  8. Fig 4: Lower Control Arm Ball Joint, Stud & Nuts
    GM168544Courtesy of GENERAL MOTORS CORP.
    IMPORTANT: Use a new ball joint stud nut.
  9. Install the lower control arm ball joint stud to the steering knuckle.

    Tighten:  Tighten the lower control arm ball joint stud nut to 30 N.m (20 lb ft) plus 180 degrees.

  10. Fig 5: Lower Shock Absorber & Bolts
    GM65335Courtesy of GENERAL MOTORS CORP.
  11. Support the lower control arm with a jackstand.
  12. Install the shock absorber lower mounting bolts.

    Tighten:  Tighten the shock absorber lower mounting nuts to 28 N.m (21 lb ft).

  13. Fig 6: Stabilizer Shaft Link & Lower Control Arm
    GM172678Courtesy of GENERAL MOTORS CORP.
  14. Connect the stabilizer shaft link to the lower control arm.

    Tighten:  Tighten the stabilizer link nut to 72 N.m (53 lb ft).

  15. Fig 7: Removing/Installing Transverse Spring Using J 33432-A
    GM65337Courtesy of GENERAL MOTORS CORP.
  16. Remove the J 33432-A  transverse spring compressor from the transverse spring. See Special Tools and Equipment .
  17. Remove the jackstand from the lower control arms.
  18. Install the tire and wheel assemblies. Refer to Tire and Wheel Removal and Installation in Tires and Wheels.
  19. Adjust the front trim height. Refer to Trim Height Inspection Procedure in Suspension General Diagnosis.
  20. Perform a front wheel alignment. Refer to Measuring Wheel Alignment in Wheel Alignment.