lemon-mirror:
Home >> Cadillac >> 2012 >> Escalade EXT >> Repair and Diagnosis >> External Pages >> Different car >> Section 794 (Data Communication System) >> Visual Identification >> Data Communication Connectors >> Body Control Module (BCM) C2

Body Control Module (BCM) C2

WARNING: This page does not describe the selected car, but rather 8 other vehicles, including the 2007 GMC Yukon XL, 2007 GMC Yukon, 2007 Chevrolet Tahoe, 2007 Chevrolet Suburban, and 2007 Chevrolet Avalanche. However, it is still accessible from the selected car via links, so may be relevant.
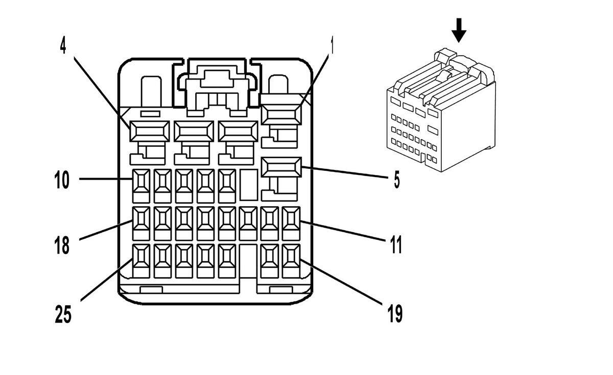
Fig 1: Body Control Module (BCM) C2 Connector End View
GM1664496Courtesy of GENERAL MOTORS CORP.
Body Control Module (BCM) C2 Connector Parts Information

Connector Part Information 
  • OEM: 15482790
  • Service: 88988839
  • Description: 25-Way F HIT Series (NA)
Terminal Part Information 
  • Pins: 1-5
  • Terminal/Tray: SNAC-A061T-M2.8/20
  • Core/Insulation Crimp: E/A
  • Release Tool/Test Probe: 12094429/J-35616-4A (PU)
  • Pins: 6-25
  • Terminal/Tray: SNAC3-A021T-M0.64/20
  • Core/Insulation Crimp: J/J
  • Release Tool/Test Probe: 12094429/J-35616-64B (L-BU)
Body Control Module (BCM) C2 Connector Terminal Identification

Pin Wire Color Circuit No. Function
1 OG 6815 Inadvertent Power Control
2 RD/WH 2540 Battery Positive Voltage
3 BN/WH 230 Instrument Panel Lamp Dimming Control
4 - - Not Used
5 GY 157 Interior Lamp Control
6-7 - - Not Used
8 L-BU 13 Headlamp Switch Park Lamp Signal
9-10 - - Not Used
11 WH 278 Ambient Light Sensor Signal
12 WH 103 Headlamp Switch On Signal
13-16 - - Not Used
17 D-GN 306 Headlamp Switch Headlamps Off Signal
18 D-BU/WH 149 Courtesy Lamp Supply Voltage
19 - - Not Used
20 PU 5357 Right Tail Lamp Outage Detection Signal (Z75)
21 L-BU 1788 Traction Control Switch Signal
22 D-BU 38 Backup Lamp Relay Control
23-24 - - Not Used
25 PU 328 Interior Lamp Switch Voltage Supply Voltage