lemon-mirror:
Home >> Cadillac >> 2012 >> Escalade EXT >> Repair and Diagnosis >> External Pages >> Different car >> Section 907 (Trailer Brake Control System) >> Component Locator >> Trailer Brake Control Connectors >> Trailer Brake Controller Module (TBCM)

Trailer Brake Controller Module (TBCM)

WARNING: This page is about a different car, the 2007 GMC Sierra and 2007 Chevrolet Silverado. However, it is still accessible from the selected car via links, so may be relevant.
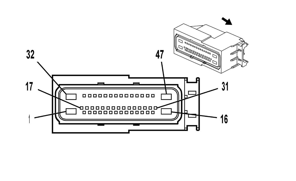
Fig 1: Trailer Brake Controller Module (TBCM) Connector End View
GM1711002Courtesy of GENERAL MOTORS CORP.
Trailer Brake Controller Module (TBCM) Connector Parts Information

Connector Part Information 
  • OEM: 15491307
  • Service: See Catalog
  • Description: 47-Way F ASG Series (BK)
Terminal Part Information 
  • Pins: 1, 32
  • Terminal/Tray: 15476168/5
  • Core/Insulation Crimp: F/3
  • Release Tool/Test Probe: 15315247/J-35616-42 (RD)
  • Pins: 2, 6-9, 10-11, 14-15, 17, 21-22, 25, 28, 33, 37
  • Terminal/Tray: 7116-3703-02/14
  • Core/Insulation Crimp: 9/9
  • Release Tool/Test Probe: J-38125-215/J-35616-64B (L-BU)
Trailer Brake Controller Module (TBCM) Connector Terminal Identification

Pin Wire Color Circuit No. Function
1 2 BK 1750 Ground
2 0.5 D-BU 7632 5-Volt Reference
3-5 - - Not Used
6 0.5 TN 2501 High Speed GMLAN Serial Data Bus-
7 0.5 TN/BK 2500 High Speed GMLAN Serial Data Bus+
8 0.5 TN 7631 Low Reference
9 0.5 L-GN 944 Relay Feedback
10 0.5 YE 7635 Integrated Trailer Brake Controller Manual Apply Signal
11 0.5 L-GN/BK 7633 Integrated Trailer Brake Controller User Gain Signal
12-13 - - Not Used
14 0.5 TN 945 Integrated Trailer Brake Relay Control Active Low
15 0.5 PK 239 Ignition 1 Voltage
16 - - Not Used
17 0.5 L-BU 5986 Serial Data Communication Enable
18-20 - - Not Used
21 0.5 TN 2501 High Speed GMLAN Serial Data Bus-
22 0.5 TN/BK 2500 High Speed GMLAN Serial Data Bus+
23-24 - - Not Used
25 0.5 BN 7634 Integrated Trailer Brake Controller Redundant Manual Apply Signal
26-27 - - Not Used
28 0.5 D-BU 47 Solid State Relay Feedback
29-31 - - Not Used
32 2 RD/WH 4340 Battery Positive Voltage
33 0.5 YE/BK 7521 Solid State Relay Enable
34-36 - - Not Used
37 0.5 L-BU/WH 6311 TCC Brake Signal
38-47 - - Not Used