lemon-mirror:
Home >> Cadillac >> 2014 >> ELR >> Repair and Diagnosis >> Electrical >> Charging Systems >> Plug-In Charging >> Diagnostic Information and Procedures >> Plug-In Charging Malfunction >> Circuit/System Testing

Circuit/System Testing

WARNING:

Always perform the High Voltage Disabling procedure prior to servicing any High Voltage component or connection. Personal Protection Equipment (PPE) and proper procedures must be followed.

The High Voltage Disabling procedure includes the following steps:

  • Identify how to disable high voltage.
  • Identify how to test for the presence of high voltage.
  • Identify condition under which high voltage is always present and personal protection equipment (PPE) and proper procedures must be followed.

Before working on any high voltage system, be sure to wear the following Personal Protection Equipment:

  • Safety glasses with appropriate side shields when within 15 meters (50 feet) of the vehicle, either indoors or outdoors.
  • Certified and up-to-date Class "0" Insulation gloves rated at 1000V with leather protectors.
    • Visually and functionally inspect the gloves before use.
    • Wear the Insulation gloves with leather protectors at all times when working with the high voltage battery assembly, whether the system is energized or not.

Failure to follow the procedures may result in serious injury or death.

Charging Malfunction

  1. Connect drive motor battery charger cable to household power outlet, but not the battery charger receptacle.
  2. After 25 seconds, verify drive motor battery charger cable LEDs illuminate solid green.
    • If drive motor battery charger cable LEDs do not illuminate solid green 
    1. Connect a known good drive motor battery charger cable to the same household power outlet.
      • If known good drive motor battery charger cable LEDs illuminate solid green, have the service provider check for high frequency noise on the dedicated home outlet. If no high frequency noise is found, replace drive motor battery charger cable.
      • If known good drive motor battery charger cable LEDs do not illuminate solid green, have the service provider inspect the household power outlet for insufficient voltage, high frequency noise, or open/high resistance.
    • If drive motor battery charger cable LEDs do illuminate solid green 
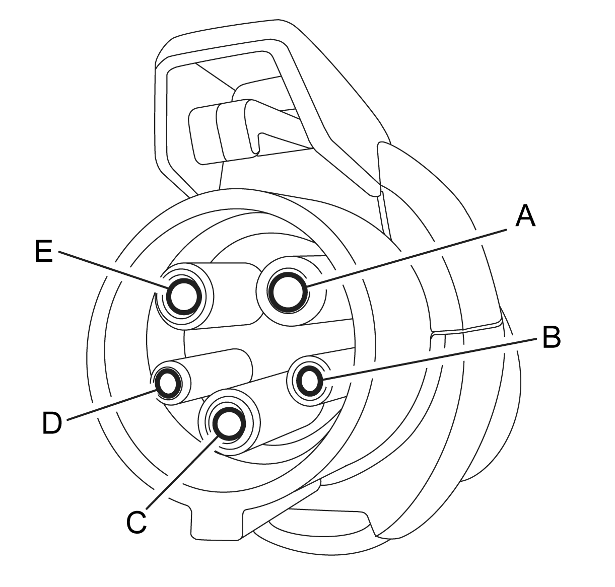
  3. Fig 1: X98 Hybrid/EV Battery Charger Receptacle And Terminals
    GM3631526Courtesy of GENERAL MOTORS COMPANY
  4. Test for B+ between the low voltage circuits listed below on drive motor battery charger cable.
    • Proximity status signal circuit terminal D
    • Control pilot signal circuit terminal B
      • If not B+ 

        Replace drive motor battery charger cable.

    • If B+ 
  5. Fig 2: X98 Hybrid/EV Battery Charger Receptacle And Terminals
    GM2874492Courtesy of GENERAL MOTORS COMPANY
    NOTE:

    The following tests are performed at the X98 Hybrid/EV Battery Charger Receptacle and not at the harness connector to the X98 Hybrid/EV Battery Charger Receptacle.

  6. Vehicle OFF and all vehicle systems OFF. It may take up to 2 minutes for all vehicle systems to power down. Test for 100k Ω-4M Ω between the control pilot signal terminal B at the X98 Hybrid/EV Battery Charger Receptacle and ground.
    • If 4M Ω or greater 
    1. Disconnect the X2 harness connector from K114B Hybrid/EV Powertrain Control Module 2
    2. Test for 2 Ω in the control pilot signal circuit end to end.
      • If 2 Ω or greater, repair the open/high resistance in the circuit.
      • If less than 2 Ω, replace the K114B Hybrid/EV Powertrain Control Module 2.
    • If less than 100k Ω 
    1. Disconnect the X2 harness connector from K114B Hybrid/EV Powertrain Control Module 2
    2. Test for infinite resistance between the control pilot signal circuit and ground.
      • If less than infinite resistance, repair the short to ground in the circuit.
      • If infinite resistance, replace the K114B Hybrid/EV Powertrain Control Module 2.
    • If within the specified range 
  7. Fig 3: X98 Hybrid/EV Battery Charger Receptacle And Terminals
    GM2874492Courtesy of GENERAL MOTORS COMPANY
  8. Test for less than 1 V between the control pilot signal terminal B at the X98 Hybrid/EV Battery Charger Receptacle and ground.
    • If greater than 1 V 
    1. Disconnect the X2 harness connector from K114B Hybrid/EV Powertrain Control Module 2
    2. Test for less than 1 V between the control pilot signal circuit and ground.
      • If greater than 1 V, repair the short to voltage in the circuit.
      • If less than 1 V, replace the K114B Hybrid/EV Powertrain Control Module 2.
    • If less than 1 V 
  9. Vehicle in Service Mode.
  10. Fig 4: X98 Hybrid/EV Battery Charger Receptacle And Terminals
    GM2874492Courtesy of GENERAL MOTORS COMPANY
  11. Test for 4.2-4.8 V between the proximity status signal terminal D at the X98 Hybrid/EV Battery Charger Receptacle and ground.
    • If less than 4.2 V 
    1. Vehicle OFF, test for infinite resistance between the proximity status signal circuit and ground.
      • If less than infinite resistance, repair the short to ground on the circuit.
      • If infinite resistance
    2. Disconnect the X2 harness connector from K114B Hybrid/EV Powertrain Control Module 2.
    3. Test for less than 2 Ω in the proximity status signal circuit end to end.
      • If 2 Ω or greater, repair the open/high resistance in the circuit.
      • If less than 2 Ω, replace the K114B Hybrid/EV Powertrain Control Module 2.
    • If greater than 4.8 V 
    1. Disconnect the X2 harness connector from K114B Hybrid/EV Powertrain Control Module 2
    2. Test for 0 V between the proximity status signal circuit and ground.
      • If greater than 0 V, repair the short to voltage in the circuit.
      • If 0 V, replace the K114B Hybrid/EV Powertrain Control Module 2.
    • If within the specified range 
  12. Vehicle OFF, disconnect the X3 harness connector from T18 Battery Charger.
  13. Fig 5: X98 Hybrid/EV Battery Charger Receptacle And Terminals
    GM2874492Courtesy of GENERAL MOTORS COMPANY
  14. Test for infinite resistance between the terminals listed below at the X98 Hybrid/EV Battery Charger Receptacle:
    • 110/220 V A/C Line 1 terminal E and 110/220 V A/C Neutral Line 2 terminal A
    • 110/220 V A/C Line 1 terminal E and 110/220 V A/C Ground terminal C
    • 110/220 V A/C Line 1 terminal E and Control pilot signal circuit terminal B
    • 110/220 V A/C Line 1 terminal E and Proximity status signal circuit terminal D
    • 110/220 V A/C Neutral Line 2 terminal A and 110/220 V A/C Ground terminal C
    • 110/220 V A/C Neutral Line 2 terminal A and Control pilot signal circuit terminal B
    • 110/220 V A/C Neutral Line 2 terminal A and Proximity status signal circuit terminal D
    • 110/220 V A/C Ground terminal C and Control pilot signal circuit terminal B
    • Control pilot signal circuit terminal B and Proximity status signal circuit terminal D
      • If less than infinite resistance 

        Repair the short between the circuits.

    • If infinite resistance 
  15. Disconnect the harness connector from the X98 Hybrid/EV Battery Charger Receptacle.
  16. Fig 6: X98 Hybrid/EV Battery Charger Receptacle And Terminals
    GM2874492Courtesy of GENERAL MOTORS COMPANY
  17. Test for 2.56-2.84k Ω between the 110/220 V A/C Ground terminal C and Proximity status signal circuit terminal D at the X98 Hybrid/EV Battery Charger Receptacle.
    • If not within the specified range 

      Replace the X98 Hybrid/EV Battery Charger Receptacle.

    • If within the specified range 
  18. NOTE:

    This test is performed on the vehicle side of the harness connector.

  19. Test for infinite resistance between the 110/220 V A/C Ground terminal C and Proximity status signal circuit terminal D of the harness connector.
    • If less than infinite resistance 

      Repair the short between the circuits.

    • If infinite resistance 
  20. Replace the T18 Battery Charger.

Flashing Yellow Indicator

  1. Vehicle OFF, disconnect the X3 harness connector from T18 Battery Charger.
  2. Fig 7: X98 Hybrid/EV Battery Charger Receptacle And Terminals
    GM2874492Courtesy of GENERAL MOTORS COMPANY
  3. Test for infinite resistance between the terminals listed below at the X98 Hybrid/EV Battery Charger Receptacle:
    • 110/220 V A/C Line 1 terminal E and 110/220 V A/C Neutral Line 2 terminal A
    • 110/220 V A/C Line 1 terminal E and 110/220 V A/C Ground terminal C
    • 110/220 V A/C Line 1 terminal E and Control pilot signal circuit terminal B
    • 110/220 V A/C Line 1 terminal E and Proximity status signal circuit terminal D
    • 110/220 V A/C Neutral Line 2 terminal A and 110/220 V A/C Ground terminal C
    • 110/220 V A/C Neutral Line 2 terminal A and Control pilot signal circuit terminal B
    • 110/220 V A/C Neutral Line 2 terminal A and Proximity status signal circuit terminal D
    • 110/220 V A/C Ground terminal C and Control pilot signal circuit terminal B
    • Control pilot signal circuit terminal B and Proximity status signal circuit terminal D
      • If less than infinite resistance 
    1. Disconnect the harness connector from the X98 Hybrid/EV Battery Charger Receptacle.
    2. Fig 8: X98 Hybrid/EV Battery Charger Receptacle And Terminals
      GM2874492Courtesy of GENERAL MOTORS COMPANY
    3. Test for infinite resistance between the terminals listed below at the X98 Hybrid/EV Battery Charger Receptacle:
    4. 110/220 V A/C Line 1 terminal E and 110/220 V A/C Neutral Line 2 terminal A
    5. 110/220 V A/C Line 1 terminal E and 110/220 V A/C Ground terminal C
    6. 110/220 V A/C Line 1 terminal E and Control pilot signal circuit terminal B
    7. 110/220 V A/C Line 1 terminal E and Proximity status signal circuit terminal D
    8. 110/220 V A/C Neutral Line 2 terminal A and 110/220 V A/C Ground terminal C
    9. 110/220 V A/C Neutral Line 2 terminal A and Control pilot signal circuit terminal B
    10. 110/220 V A/C Neutral Line 2 terminal A and Proximity status signal circuit terminal D
    11. 110/220 V A/C Ground terminal C and Control pilot signal circuit terminal B
    12. Control pilot signal circuit terminal B and Proximity status signal circuit terminal D
      • If less than infinite resistance, replace the X98 Hybrid/EV Battery Charger Receptacle and K114B Hybrid/EV Powertrain Control Module 2.
      • If infinite resistance
    13. Disconnect the X2 harness connector from K114B Hybrid/EV Powertrain Control Module 2
    14. Test for infinite resistance between the circuits.
      • If less than infinite resistance, repair the short between the circuits.
      • If infinite resistance, replace the K114B Hybrid/EV Powertrain Control Module 2.
    • If infinite resistance 
  4. Replace the K114B Hybrid/EV Powertrain Control Module 2.