lemon-mirror:
Home >> Cadillac >> 2018 >> XTS Base >> Repair and Diagnosis >> Transmission >> Automatic Trans >> Power Transfer Unit/Transfer Case - AAM >> Component Locator >> Transfer Case Disassembled View >> Transfer Case Components

Transfer Case Components

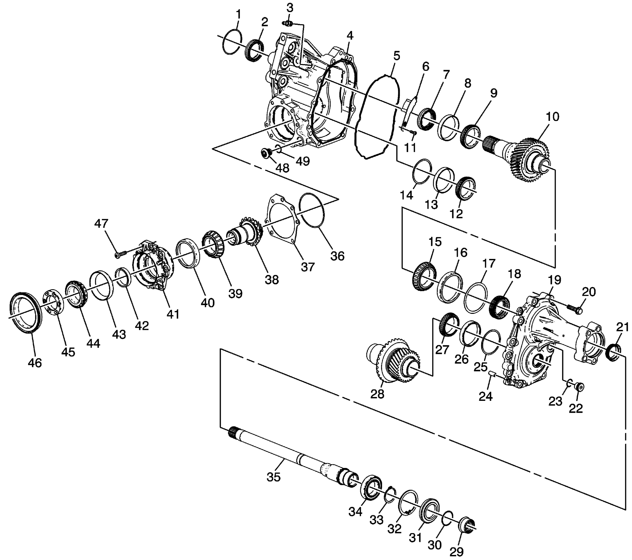
Fig 1: Exploded View Of Transfer Case Components
GM2968008Courtesy of GENERAL MOTORS COMPANY
Callout Component Name
1 Transmission-to-Transfer Case O-ring Seal
2 Input Shaft Front (outer) Seal
3 Transfer Case Vent Hose Connector
4 Transfer Case Housing
5 Transfer Case Rear Extension Housing-to-Transfer Case Seal
6 Transfer Case Vent Baffle
7 Input Shaft Front (inner) Seal
8 Input Shaft Front Bearing Race
9 Input Shaft Front Bearing
10 Input Shaft
11 Transfer Case Vent Baffle Bolt
12 Idler Shaft Front Bearing
13 Idler Shaft Front Bearing Race
14 Idler Shaft Front Bearing Shim
15 Input Shaft Rear Bearing
16 Input Shaft Rear Bearing Race
17 Input Shaft Rear Bearing Shim
18 Input Shaft Bearing Retainer Rear Seal
19 Rear Extension Housing
20 Transfer Case-to-Rear Extension Housing Bolt
21 Intermediate Shaft Seal
22 Transfer Case Fill Plug
23 Transfer Case Fill Plug Sealing Washer
24 Transfer Case-to-Rear Extension Housing Locating Pin
25 Idler Shaft Rear Bearing Shim
26 Idler Shaft Rear Bearing Race
27 Idler Shaft Rear Bearing
28 Idler Shaft
29 Transfer Case Seal
30 Intermediate Shaft O-ring Seal
31 Intermediate Shaft Dirt Deflector
32 Intermediate Shaft Assembly Retaining Ring
33 Intermediate Shaft Bearing Retaining Ring
34 Intermediate Shaft Bearing
35 Intermediate Shaft
36 Rear Output Shaft Housing O-ring Seal
37 Rear Output Shaft Shim
38 Rear Output Shaft
39 Rear Output Shaft Bearing
40 Rear Output Shaft Bearing Race
41 Rear Output Shaft Housing
42 Rear Output Shaft Bearing Spacer
43 Rear Output Shaft Bearing Race
44 Rear Output Shaft Bearing
45 Rear Output Drive Gear Nut
46 Rear Output Shaft Seal
47 Rear Output Shaft Housing Bolt
48 Transfer Case Drain Plug
49 Transfer Case Drain Plug Sealing Washer