lemon-mirror:
Home >> Cadillac >> 2021 >> CT4 V, RWD >> Repair and Diagnosis >> Transmission >> Automatic Trans >> Shift Lock Control System >> Schematic Wiring Diagrams >> Shift Lock Control Wiring Schematics >> Shift Lock Control

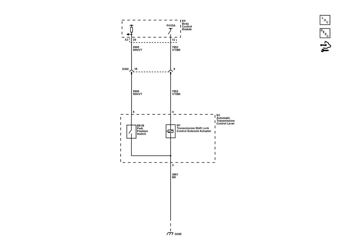
Shift Lock Control

GM5522773Courtesy of GENERAL MOTORS COMPANY