lemon-mirror:
Home >> Chevrolet >> 1982 >> Corvette >> Repair and Diagnosis >> Engine Performance >> Vacuum Diagrams >> Model Identification

Model Identification

Reference will be made to body style codes for GM cars in the vacuum diagrams index. Refer to the table below for identification of these body style codes.

Body Code GM Division Model Name
A Buick Century
A Chevrolet Celebrity
A Oldsmobile Cutlass Ciera
A Pontiac 6000
B Buick Estate Wagon, LeSabre
B Chevrolet Caprice Classic, Impala
B Oldsmobile 88
C Buick Electra
C Cadillac DeVille, Fleetwood
C Oldsmobile Ninety-Eight
D Cadillac Fleetwood Limousine
E Buick Riviera
E Cadillac Eldorado
E Oldsmobile Toronado
F Chevrolet Camaro
F Pontiac Firebird
G Buick Regal
G Chevrolet Malibu, Monte Carlo
G Oldsmobile Cutlass
G Pontiac Bonneville, Grand Prix
J Buick Skyhawk
J Cadillac Cimarron
J Chevrolet Cavalier
J Oldsmobile Firenza
J Pontiac J2000
K Cadillac Seville
T Chevrolet Chevette
T Pontiac T1000
X Buick Skylark
X Chevrolet Citation
X Oldsmobile Omega
X Pontiac Phoenix
Y Chevrolet Corvette
1982 GENERAL MOTORS VACUUM DIAGRAM REFERENCE CHART

Engine & Make Body Style Application Trans. Fuel System Fig. No.
1.6L (98") 4 Cyl. (VIN C) Chev., Pont. T Federal Both 2-Bbl. 1
1.6L (98") 4 Cyl. (VIN C) Chev., Pont. T Calif. Both 2-Bbl. 2
1.8L (112") 4 Cyl. (VIN G) Buick, Cad., Chev., Olds., Pont. J Federal Both 2-Bbl. 3
1.8L (112") 4 Cyl. (VIN 0) Buick, Pont. J Federal Both EFI 4
2.0L (122") 4 Cyl. Cad. J Hi. Alt. Auto. 2-Bbl. 5
2.5L (151") 4 Cyl. (VIN R) Buick, Olds., Pont. A, X Hi. Alt. Both EFI 6
2.5L (151") 4 Cyl. (VIN 2) Pont. F Hi. Alt. Both 2-Bbl. 7
2.8L (173") V6 (VIN X) Buick, Chev., Olds., Pont. A, X Federal, Calif. Both 2-Bbl. 8
2.8L (173") V6 (VIN X) Buick, Chev., Olds., Pont. A, X Federal, Calif. Man. 2-Bbl. 9
2.8L (173") V6 (VIN Z) Buick, Chev., Olds., Pont. A, X Calif. Auto. 2-Bbl. 10
3.8L (229") V6 Chev. G Federal Auto. 2-Bbl. 11
4.1L (250") V8 (VIN 8) Cad. C, E, K All Auto. DFI 12
4.3L (262") V6 Diesel (VIN V) Chev. G Federal Auto. Fl 13
4.3L (260") V8 (VIN 8) Olds. B, G Federal Auto. 2-Bbl. 14
4.4L (267") V8 (VIN J) Chev. B, G Federal Auto. 2-Bbl. 15
5.0L (305") V8 (VIN H) Chev., Pont. B, F, G Federal, Calif. Auto. 4-Bbl. 16
5.0L (305") V8 (VIN H) Chev., Pont. F Federal Man. 4-Bbl. 17
5.0L (307") V8 (VIN Y) Buick, Olds. B, C, E Calif. Auto. 4-Bbl. 18
5.7L (350") V8 Diesel (VIN N) Buick, Cad., Chev., Olds., Pont. B, C, E, G Federal Auto. FI 19
5.7L (350") V8 Diesel (VIN N) Buick, Chev., Olds. B Hi. Alt. Auto. FI 20
Fig 1: 1.6L (98") 4 Cyl. 2-Bbl. VIN C Federal Auto. & Man. Trans.
G09316082Courtesy of GENERAL MOTORS COMPANY
Fig 2: 1.6L (98") 4 Cyl. 2-Bbl. VIN C Calif. Auto. & Man. Trans.
G09316083Courtesy of GENERAL MOTORS COMPANY
Fig 3: 1.8L(112") 4 Cyl. 2-Bbl. VIN G Federal Auto. & Man. Trans.
G09316084Courtesy of GENERAL MOTORS COMPANY
Fig 4: 1.8L(112") 4 Cyl. FFI, VIN 0 Federal Auto. & Man. Trans.
G09316085Courtesy of GENERAL MOTORS COMPANY
Fig 5: 2.0L (122") 4 Cyl. 2-Bbl. Hi. Alt. Auto. Trans.
G09316086Courtesy of GENERAL MOTORS COMPANY
Fig 6: 2.5L (151") 4 Cyl. EFI, VIN R Hi. Alt. Auto. & Man. Trans.
G09316087Courtesy of GENERAL MOTORS COMPANY
Fig 7: 2.5L(151") 4 Cyl. 2-Bbl. VIN 2 Hi. Alt. Auto. & Man. Trans.
G09316088Courtesy of GENERAL MOTORS COMPANY
Fig 8: 2.8L (173") V6 2-Bbl. VIN X Federal, Calif. Auto. & Man. Trans.
G09316089Courtesy of GENERAL MOTORS COMPANY
Fig 9: 2.8L (173") V6 2-Bbl. VIN X Federal, Calif. Man. Trans.
G09316090Courtesy of GENERAL MOTORS COMPANY
Fig 10: 2.8L(173") V6 2-Bbl. VIN Z Calif. Auto. Trans.
G09316091Courtesy of GENERAL MOTORS COMPANY
Fig 11: 3.8L (229") V6 2-Bbl. Federal Auto. Trans.
G09316092Courtesy of GENERAL MOTORS COMPANY
Fig 12: 4.1L (250") Y8 DFI VIN 8 All Auto. Trans.
G09316093Courtesy of GENERAL MOTORS COMPANY
Fig 13: 4.3L (262") V6 Diesel VIN V Federal Auto. Trans.
G09316094Courtesy of GENERAL MOTORS COMPANY
Fig 14: 4.3L (260") V8 2-Bbl. VIN 8 Federal Auto. Trans.
G09316095Courtesy of GENERAL MOTORS COMPANY
Fig 15: 4.4L (267") V8 2-Bbl. VIN J Federal Auto. Trans.
G09316096Courtesy of GENERAL MOTORS COMPANY
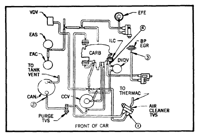
Fig 16: 5.0L (305") V8 4-Bbl. VIN H Federal, Calif. Auto. Trans.
G09316097Courtesy of GENERAL MOTORS COMPANY
Fig 17: 5.0L (305") V8 4-Bbl. VIN H Federal Man. Trans.
G09316098Courtesy of GENERAL MOTORS COMPANY
Fig 18: 5.0L (307") V8 4-Bbl. VIN Y Calif. Auto. Trans.
G09316099Courtesy of GENERAL MOTORS COMPANY
Fig 19: 5.7L (350") V8 Diesel VIN N Federal Auto. Trans.
G09316100Courtesy of GENERAL MOTORS COMPANY
Fig 20: 5.7L (350") V8 Diesel VIN N HI. Alt. Auto. Trans.
G09316101Courtesy of GENERAL MOTORS COMPANY