Est System
All spark timing changes are controlled by the Electronic Control Module (ECM). The ECM (not the distributor HEI-EST module) receives information from various sensors. The ECM computes desired spark timing and signals the distributor to change timing accordingly. To control timing, the ECM receives information on crankshaft position, engine speed, engine load, atmospheric pressure, engine temperature, and transmission gear position.
A back-up spark advance system is also incorporated to signal the ignition module in case of ECM failure.
Distributors on some vehicles equipped with 4-cylinder engines contain a Hall Effect switch and shutter blades. The Hall Effect switch and shutter blades act as a second pick-up coil and timer core. When the engine is cranking, the pick-up coil and timer core are used to send RPM impulses to the ECM. When the engine is running, the Hall Effect switch and shutter blades perform this function.
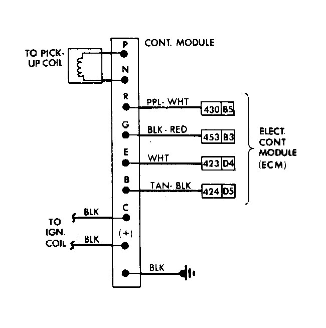
The distributor module is connected to the ECM by a 4-wire connector. The circuits perform the following functions:
- Module terminal "E" triggers the HEI module. The ECM does not know actual timing, but it does sense when it receives the reference signal. It advances or retards spark from that point. If base timing is incorrectly set, advance curve will be incorrect.
- Module terminal "R" is the distributor reference which provides the ECM with RPM and crankshaft position information. If wire is open or grounded on fuel injected vehicles, engine will not run because ECM will not operate injectors.
- Module terminal "B" is the by-pass circuit. At about 400 RPM, ECM applies 5 volts to this circuit to switch spark timing control from HEI module to ECM. On some models, the wire goes through a connector between the 4-wire connector and the ECM. This is disconnected to set base timing. On all models, an open or grounded by-pass circuit will set a Code 42. The engine will run at base timing plus a small amount of advance built into the HEI module.
- Module terminal "G" is the reference ground. Wire is grounded in the distributor. The wire ensures there is no voltage drop which could affect performance.
- On distributors with a Hall Effect switch, the change in position of the by-pass switch opens the circuit between the pick-up coil and ignition coil. The pick-up coil has no RPM reference connection to the ECM, as HEI-EST module terminal "R" is not used. The function of supplying RPM signals to the ECM is accomplished by the Hall Effect switch. The wires from the Hall Effect switch connect directly to the ECM and do not connect to the distributor module.