lemon-mirror:
Home >> Chevrolet >> 1985 >> Spectrum 2D Hatchback, Automatic >> Repair and Diagnosis >> Engine Performance >> Ignition System - Electronic >> Testing >> IGNITOR Module Test

IGNITOR Module Test

  1. On Spectrum, remove distributor cap. Disconnect coil wire from cap and hold wire about 1/4" away from ground. Turn ignition on. Connect a flashlight (1.5 volt) battery between Red (positive) and White (negative) ignitor wires.
  2. Ignitor is okay if sparks are generated between coil wire and ground when one flashlight battery lead is disconnected. DO NOT  apply voltage to ignitor for more than 3 seconds.
  3. If no spark occurs, ensure ignition coil is energized with ignition on. Perform resistance test on ignition coil. If both tests indicate coil is normal, ignitor module is at fault.
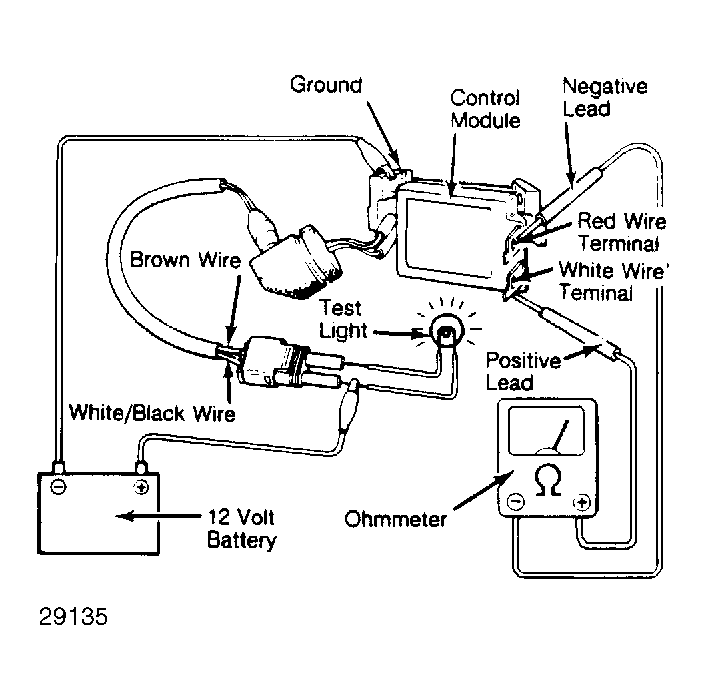
  4. On Sprint, remove distributor cap and dust cover from module. Connect ohmmeter, test lamp, and 12-volt battery to module. See Fig 1.
    Fig 1: Testing Sprint Ignitor Module DO NOT reverse ohmmeter connections. Courtesy of General Motors
    G29135
  5. Set ohmmeter to x1 scale. Connect ohmmeter negative lead to Red wire terminal and positive lead to White wire terminal. Test lamp should light, indicating module is okay. If not, replace module.
NOTE: DO NOT  reverse ohmmeter connections as module will be damaged.