lemon-mirror:
Home >> Chevrolet >> 1986 >> Sprint Base, 2D Hatchback, Automatic >> Repair and Diagnosis >> Engine Performance >> System >> Feedback Carburetor System >> Testing >> Oxygen Sensor Signal Check

Oxygen Sensor Signal Check

  1. Remove ECM from instrument panel without disconnecting coupler. (Connect coupler if disconnected.) Warm engine to normal operating temperature and keep at idle.
  2. Connect voltmeter between terminal Nos. 10 (oxygen sensor ground) and 19 (ground). If voltmeter indicator deflects between zero and .8 volts when engine speed varies from idle to 1500-2000 RPM, feedback system is operating properly.
  3. If voltmeter indicator remains at zero, check for the following: oxygen sensor lead wire disconnected, intake system leak, air/fuel ratio too lean, pulse air constantly sent to exhaust, voltmeter inner resistance too small, or faulty oxygen sensor.
  4. If voltmeter does not deflect from about .8 volts, check for the following: engine not warmed up (choke operating), defective thermal switch, defective WOT microswitch, or disconnected mixture control solenoid lead wire.
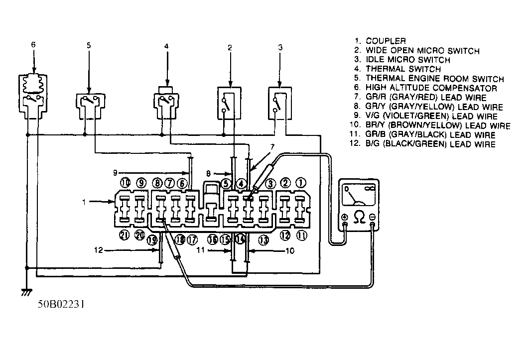
  5. Connect ohmmeter negative (-) lead to terminal No. 20 and positive (+) lead to body ground. If ohmmeter indicator deflects, the ECM is sending out feedback signal and system is operating properly.
  6. Turn cancel switch on. Cancel switch should cause sensor light to flash. If sensor light does not flash, check to see if bulb is burned out. Install ECM to instrument panel, making sure coupler is connected.
Fig 1: Sensor & Circuit Check
G50B02231
SENSOR RESISTANCE CHART

Sensor Terminal Condition Resistance
Thermal Switch No. 4 Coolant Temperature low 0
"" No. 4 Coolant Temperature above 116°F (47°C) Infinity
Idle Micro Switch No. 15 With engine warm 0
"" No. 15 Accelerator slightly depressed Infinity
High Altitude Compensator No. 14 Altitude below 4000 ft Infinity
"" No. 14 Altitude above 4000 ft 0
Thermal Engine Room Switch No. 6 When Temperature in Engine Room is low 0
"" No. 6 When Temperature in Engine Room is above 68°F (20° C) Infinity
Wide Open Micro Switch No. 5 Accelerator not depressed Infinity
"" No. 5 Accelerator fully depressed 0