lemon-mirror:
Home >> Chevrolet >> 1988 >> Spectrum Express >> Repair and Diagnosis >> Engine Performance >> System >> Fuel Evaporation System >> Component Testing >> Tank Pressure Control Valve

Tank Pressure Control Valve

Remove rubber hoses from control valve. Apply vacuum to pipe "A". See Fig 2 . Blow into pipe "B" and check if valve is open. With pipe "C" capped, apply pressure to pipe "B" and ensure air does not pass through valve. If valve does not perform as outlined, replace valve.

Fig 1: Evaporation System (Spectrum Turbo)
G93748Courtesy of GENERAL MOTORS CORP.
Fig 2: Testing Tank Pressure Control Valve
G37880Courtesy of GENERAL MOTORS CORP.
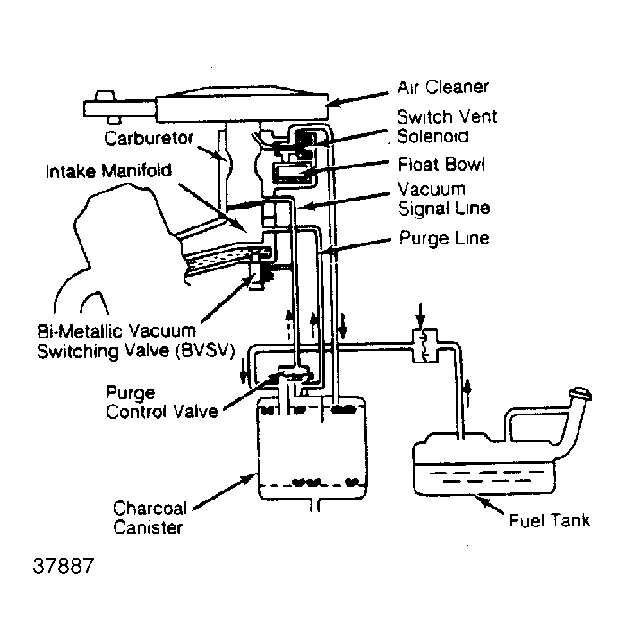
Fig 3: Fuel Evaporation System (Sprint Non-Turbo)
G37887Courtesy of GENERAL MOTORS CORP.
Fig 4: Evaporation System (Sprint Turbo)
G93751Courtesy of GENERAL MOTORS CORP.