lemon-mirror:
Home >> Chevrolet >> 2002 >> C3500 HD 8.1 G, Automatic >> Repair and Diagnosis >> Engine Performance >> System >> Engine Controls - 8.1L >> Component Locator >> Engine Controls Component Views

Engine Controls Component Views

Fig 1: Throttle Actuator Control (TAC) Module
G01599203Courtesy of GENERAL MOTORS CORP.
Fig 2: Fuse Block - Underhood, PCM, EBCM & Aux Battery
G01599204Courtesy of GENERAL MOTORS CORP.
Fig 3: A/C Compressor Connectors, C105 & C148
G01599205Courtesy of GENERAL MOTORS CORP.
Fig 4: Throttle Body & EVAP Control
G01599206Courtesy of GENERAL MOTORS CORP.
Fig 5: Camshaft Position (CMP) Sensor & Knock Sensor (KS) - Left Side
G01599207Courtesy of GENERAL MOTORS CORP.
Fig 6: MAP Sensor, ECT Sensor & Ignition Coils - Right Side
G01599208Courtesy of GENERAL MOTORS CORP.
Fig 7: Starter & Knock Sensor - Bank 2
G01599209Courtesy of GENERAL MOTORS CORP.
Fig 8: MAF & IAT Sensor
G01599210Courtesy of GENERAL MOTORS CORP.
Fig 9: P101, A/C Low Pressure Switch & G108
G01599211Courtesy of GENERAL MOTORS CORP.
Fig 10: EGR Valve, Engine Oil Pressure (EOP) Sensor, G104 & G105
G01599212Courtesy of GENERAL MOTORS CORP.
Fig 11: Crankshaft Position (CKP) Sensor & Engine Oil Pressure (EOP) Sensor
G01599213Courtesy of GENERAL MOTORS CORP.
Fig 12: Manual Transmission
G01599214Courtesy of GENERAL MOTORS CORP.
Fig 13: Automatic Transmission
G01599215Courtesy of GENERAL MOTORS CORP.
Fig 14: Heated Oxygen Sensor (HO2S) - Bank 2
G01599216Courtesy of GENERAL MOTORS CORP.
Fig 15: Fuel Tank & G404
G01599217Courtesy of GENERAL MOTORS CORP.
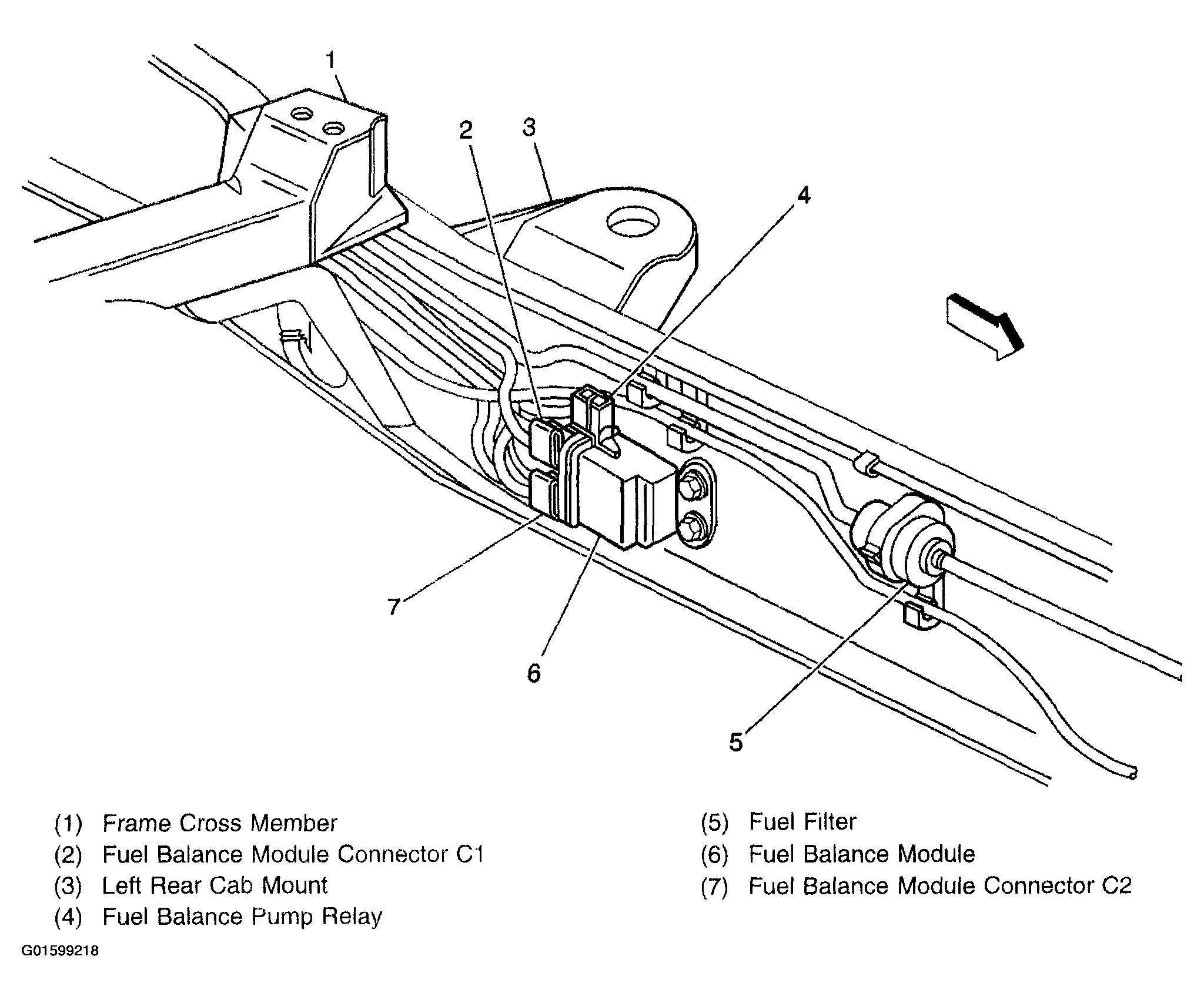
Fig 16: Fuel Balance Module - Dual Tanks & Fuel Filter
G01599218Courtesy of GENERAL MOTORS CORP.
Fig 17: Auxiliary Fuel Tank & Fuel Pump - Secondary - Dual Tank Option
G01599219Courtesy of GENERAL MOTORS CORP.
Fig 18: Accelerator Pedal Position (APP) Sensor
G01599220Courtesy of GENERAL MOTORS CORP.
Fig 19: Data Link Connector (DLC)
G01599221Courtesy of GENERAL MOTORS CORP.
Fig 20: Theft Deterrent Control Module & DRL Diode
G01599222Courtesy of GENERAL MOTORS CORP.