lemon-mirror:
Home >> Chevrolet >> 2002 >> Impala LS >> Repair and Diagnosis >> External Pages >> Different car >> Section 545 (Cellular Communication System) >> Repair Instructions >> Communication Interface Module Replacement >> Installation Procedure

Installation Procedure

WARNING: This page is about a different car, the 2003 Chevrolet Monte Carlo and 2003 Chevrolet Impala. However, it is still accessible from the selected car via links, so may be relevant.
    Fig 1: Communication Interface Module (Generation 4)
    GM813770Courtesy of GENERAL MOTORS CORP.
  1. When replacing a generation 4 VCIM, perform the following steps:
    1. Record the 11-digit electronic serial number (ESN) and the 10-digit station identification (STID) number from the label on the new VCIM.
    2. Align the connector side of the module to the large cutout on the plastic bracket. Insert the module into the plastic bracket. Make sure the small GPS connector is inserted into the small round hole in the plastic bracket.
  2. Fig 2: Plastic Bracket Assembly & Module (Generation 4)
    GM813771Courtesy of GENERAL MOTORS CORP.
  3. When replacing a generation 4 module, perform the following steps:
    1. Spread the large tang side of the plastic bracket over the edge of the module. The bottom, undercut edge of the plastic bracket will snap over the bottom of the module when fully seated.
    2. The connectors on the module must be outboard. Slide the plastic bracket assembly outboard, under the metal bracket.
    3. Engage the outboard plastic tabs to the outboard edge of the metal bracket.
    4. Squeeze the plastic bracket assembly upward until the large, plastic snap-fingers engage on the inboard edge of the metal bracket.
  4. Fig 3: Communication Interface Module (Generation 5)
    GM903662Courtesy of GENERAL MOTORS CORP.
  5. When replacing a generation 5 module, perform the following steps:
    1. Record the 11-digit electronic serial number (ESN) and the 10-digit station identification (STID) number from the label on the new VCIM.
    2. Position the communication interface module to the bracket.
  6. Fig 4: Communication Interface Module Bolt (Generation 5)
    GM903659Courtesy of GENERAL MOTORS CORP.
    NOTE: Refer to Fastener Notice in Cautions and Notices.
  7. On a generation 5 module, install the bolt to the communication interface module.

    Tighten:  Tighten the bolt to 3 N.m (27 lb in).

  8. Fig 5: Communication Interface Module Connectors
    GM813766Courtesy of GENERAL MOTORS CORP.
  9. Gently connect the GPS antenna cable to the module by pushing inward on the circular metal sleeve.
  10. Connect the 2 lower connectors to the module.
  11. Connect the cellular antenna cable to the module by pushing inward on the square plastic housing.
  12. IMPORTANT: After replacing the VCU, you must reconfigure the OnStar® system. Failure to reconfigure the system will result in an additional customer visit for repair.
  13. Press and hold the white dot button until the OnStar® status LED turns from green to red, and back again to green.
  14. Install a scan tool. Use the ID information menu to access the new ESN.
  15. Move the vehicle to an open area that is away from tall buildings and with a clear view of unobstructed sky. Allow the vehicle to run for 10 minutes.
  16. Press the blue OnStar® button to connect to the OnStar® call center
    1. Tell the advisor that this vehicle has received a new VCU.
    2. Ask the advisor to add the new ESN to update the customer's account.
    3. Follow any additional instructions from the OnStar® advisor.
    4. Ask the advisor to activate the OnStar® personal calling feature, if available.
  17. Voice recognition in the generation 4 module can NOT be changed.

    The default language for voice recognition in the generation 5 OnStar® module is English. To change the language resident in the module, refer to Service Programming System (SPS) (Remote Procedure) or Service Programming System (SPS) (Pass-Thru Procedure) or Service Programming System (SPS) (Off Board Remote Procedure) or Service Programming System (SPS) (Off Board Pass-Thru Procedure) in Programming.

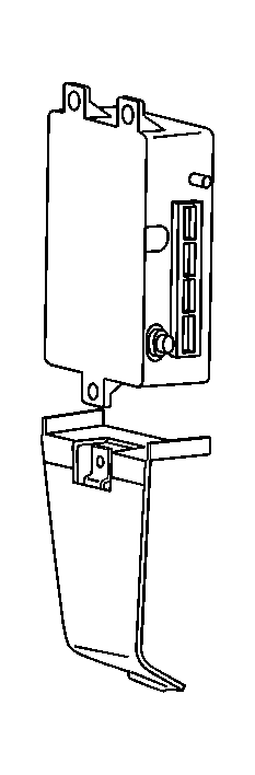
  18. Fig 6: Communication Interface Module - Bracket Nuts
    GM769963Courtesy of GENERAL MOTORS CORP.
  19. Position the assembly to the studs. The generation 4 module is shown; the generation 5 module is similar.
  20. Install the communication interface module nuts.

    Tighten:  Tighten the nuts to 4 N.m (35 lb in).

  21. Fig 7: Communication Interface Module & Cover
    GM769971Courtesy of GENERAL MOTORS CORP.
  22. Perform one of the following steps:
    • On the generation 4 module, install the plastic OnStar® cover.
    • On the generation 5 module, install the rear compartment trim.
  23. Close the rear compartment.