lemon-mirror:
Home >> Chevrolet >> 2002 >> Monte Carlo LS >> Repair and Diagnosis >> Engine Performance >> System >> Engine Control System Self-Diagnostics - 3.4L >> Component Locations

Component Locations

Fig 1: Locating Camshaft Position Sensor, Crankshaft Position Sensor "A", EGR Valve, Engine Oil Pressure Sensor, Knock Sensor, MAP Sensor & TP Sensor
G00117359Courtesy of GENERAL MOTORS CORP.
Fig 2: Locating Camshaft Position Sensor, Crankshaft Position Sensor "B", EVAP Canister Purge Solenoid, HO2S 1, IAC Valve, MAP Sensor & TP Sensor
G00117360Courtesy of GENERAL MOTORS CORP.
Fig 3: Locating EGR Valve, EVAP Canister Purge Solenoid & Idle Air Control Valve
G00117361Courtesy of GENERAL MOTORS CORP.
Fig 4: Locating Crankshaft Position Sensor "A", Engine Oil Pressure Sensor & Knock Sensor
G00117362Courtesy of GENERAL MOTORS CORP.
Fig 5: Locating Vehicle Speed Sensor
G00117363Courtesy of GENERAL MOTORS CORP.
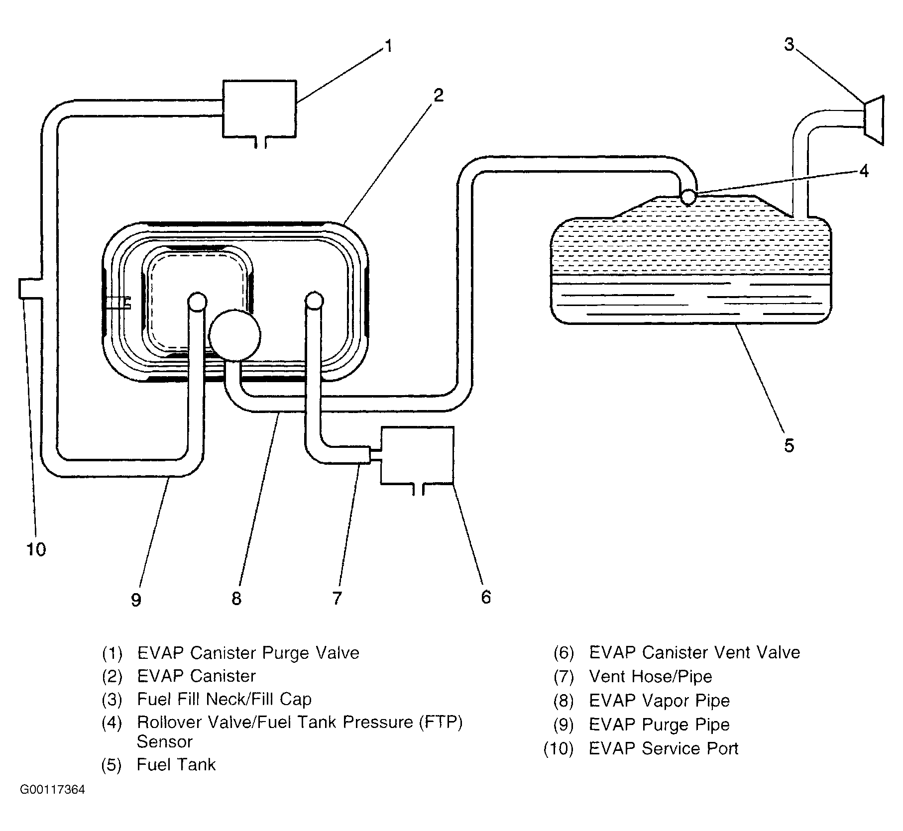
Fig 6: Locating EVAP System Components & Hose Routing
G00117364Courtesy of GENERAL MOTORS CORP.