lemon-mirror:
Home >> Chevrolet >> 2002 >> Venture Plus >> Repair and Diagnosis >> Accessories & Equipment >> Communication Devices >> Body Control System >> Repair Instructions >> Body Control Module Replacement >> Installation Procedure

Installation Procedure

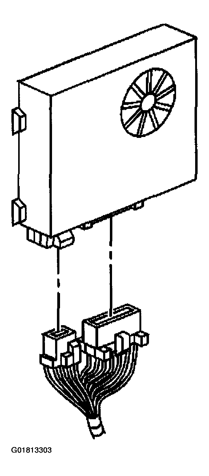
  1. Connect the electrical connectors to the body control module.
    Fig 1: Connecting Body Control Module Electrical Connectors
    G01813303Courtesy of GENERAL MOTORS CORP.
  2. Align the tabs on the body control module with the slots in the mounting bracket. Push the body control module up until it clicks in place.
  3. Install the right side instrument panel insulator. Refer to CLOSEOUT/INSULATOR PANEL REPLACEMENT - RIGHT .
  4. Connect the battery negative cable. Refer to BATTERY NEGATIVE CABLE DISCONNECT/CONNECT PRO .
  5. Setup the BCM's customized options.
    Fig 2: Installing Body Control Module
    G01813304Courtesy of GENERAL MOTORS CORP.