lemon-mirror:
Home >> Chevrolet >> 2002 >> Venture Plus >> Repair and Diagnosis >> Engine Mechanical >> Engine Exhaust System >> Repair Instructions >> Muffler Replacement >> Installation Procedure

Installation Procedure

  1. Install the muffler and exhaust pipes over the rear axle and towards the rear of the vehicle.
  2. Install the exhaust hanger insulators to the exhaust pipes.
  3. Install rear crossover. AWD models refer to CROSSMEMBER REPLACEMENT .
    Fig 1: Installing Exhaust Hanger Insulators
    G01829700Courtesy of GENERAL MOTORS CORP.
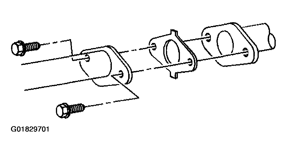
  4. Install a new catalytic converter gasket.
    NOTE: Refer to FASTENER NOTICE .
  5. Install the catalytic converter bolts.

    Tighten 

    Tighten the catalytic converter bolts to 34 N.m (25 lb ft).

  6. Lower the vehicle.
    Fig 2: Installing Catalytic Converter, Gasket & Bolts
    G01829701Courtesy of GENERAL MOTORS CORP.