lemon-mirror:
Home >> Chevrolet >> 2002 >> Venture Plus >> Repair and Diagnosis >> Suspension >> Electronic Suspension System - Automatic Level Control >> Repair Instructions >> Automatic Level Control Sensor Adjustment >> Tools Required

Tools Required

J 34825  Height Sensor Adjustment Tool

Use the following procedure in order to manually adjust the height sensor:

  1. Load 181 kg (400 lbs) or more into the rear of the passenger compartment enough load to activate the compressor, distributed evenly from left to right.
    NOTE: When diagnosis or repair requires raising the vehicle on a hoist, it is important that the rear axle remains in the normal trim height position at all times. Therefore, the hoists should support the rear wheels or axle housing. Use two additional jack stands to support the rear axle when a frame contact hoist is used or damage to the auto level control air compressor could occur.
  2. Raise and support the vehicle. Refer to LIFTING & JACKING VEHICLE . Ensure that the vehicle is level and supported by the rear wheels or the rear axle.
  3. Inspect the height sensor for damage. Ensure that the height sensor link is properly connected to the tie rod and height sensor arm.
  4. Turn the ignition ON.
  5. Wait for approximately 1 minute for the arc to complete.
  6. Measure the D dimension at the rear axle on the vehicle right side and the vehicle left side. Refer to TRIM HEIGHT INSPECTION PROCEDURE . If the average dimension D dimension is within specifications, do NOT adjust the height sensor.

    If the D dimension is not within specifications, adjust the height sensor as follows:

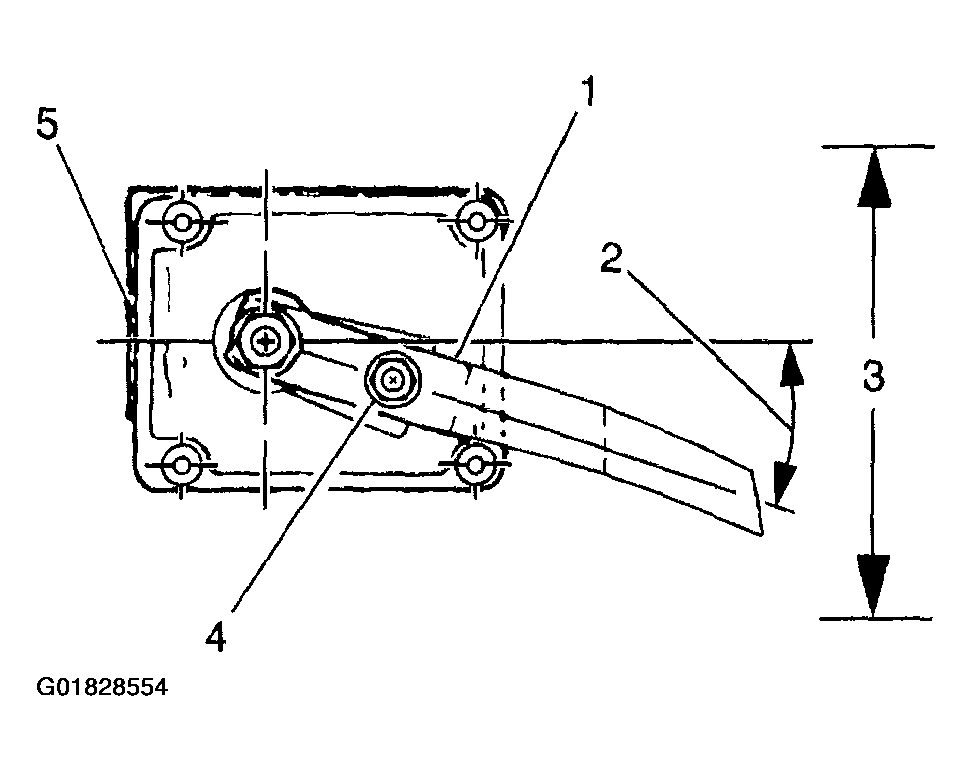
      Fig 1: Adjusting Automatic Level Control Sensor
      G01828554Courtesy of GENERAL MOTORS CORP.
    1. Loosen the height sensor arm adjustment bolt (4).
    2. In order to raise the vehicle, move the plastic portion of the height sensor arm upwards. In order to lower the vehicle, move the plastic portion of the height sensor arm downwards. Rotating the plastic portion of the height sensor arm one degree will change the D dimension by 4 mm (0.16 in).
      NOTE: Refer to FASTENER NOTICE .
    3. Tighten the height sensor adjuster bolt (4).

      Tighten 

      Tighten the height sensor adjuster bolt to 5 N.m (44 lb in).

    4. In order to verify that the height sensor is adjusted properly, repeat steps 4 through 6.