lemon-mirror:
Home >> Chevrolet >> 2003 >> Avalanche 2500, RWD >> Repair and Diagnosis >> Engine Performance >> System >> Engine Controls - Basic Diagnostic Procedures - 8.1L >> Ignition Systems >> Electronic Ignition System >> Notes

Electronic Ignition System: Notes

Fig 1: Locating Camshaft Position Sensor
G00028343Courtesy of GENERAL MOTORS CORP.
Fig 2: Locating Crankshaft Position Sensor
G00028342Courtesy of GENERAL MOTORS CORP.
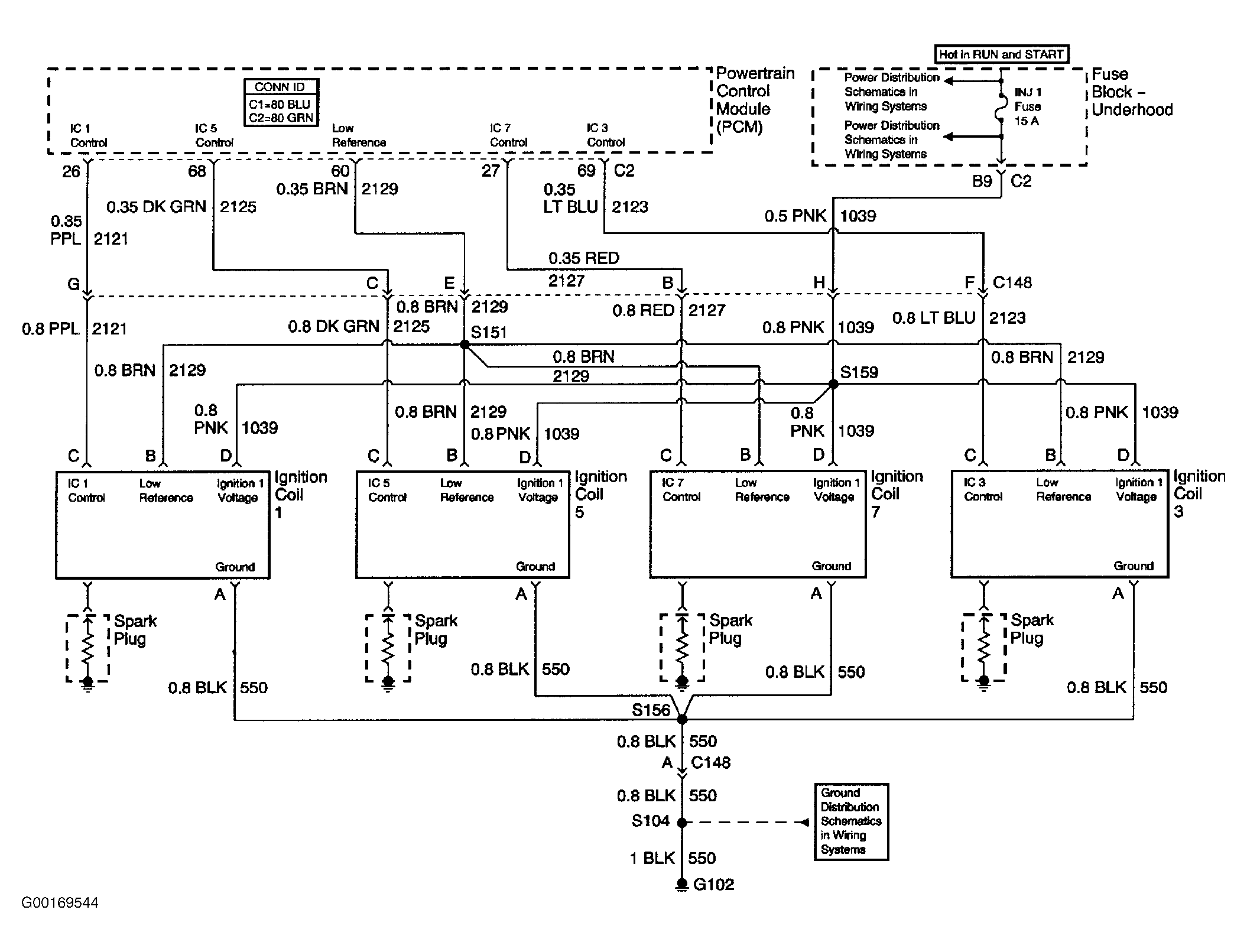
Fig 3: Ignition Coils No. 1, 3, 5 & 7 Electrical Schematic
G00169544Courtesy of GENERAL MOTORS CORP.
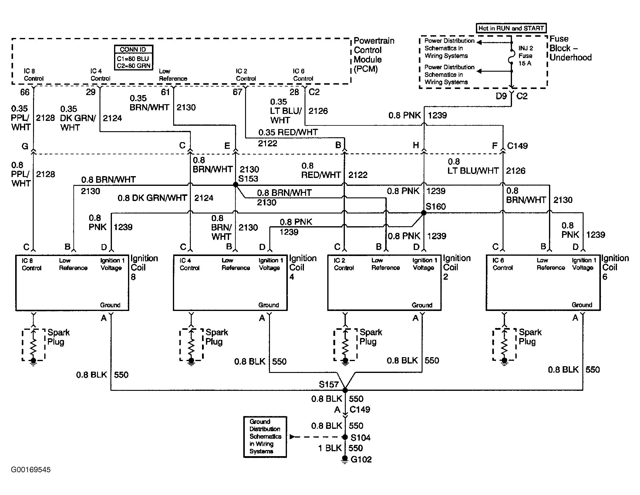
Fig 4: Ignition Coils No. 2, 4, 6 & 8 Electrical Schematic
G00169545Courtesy of GENERAL MOTORS CORP.
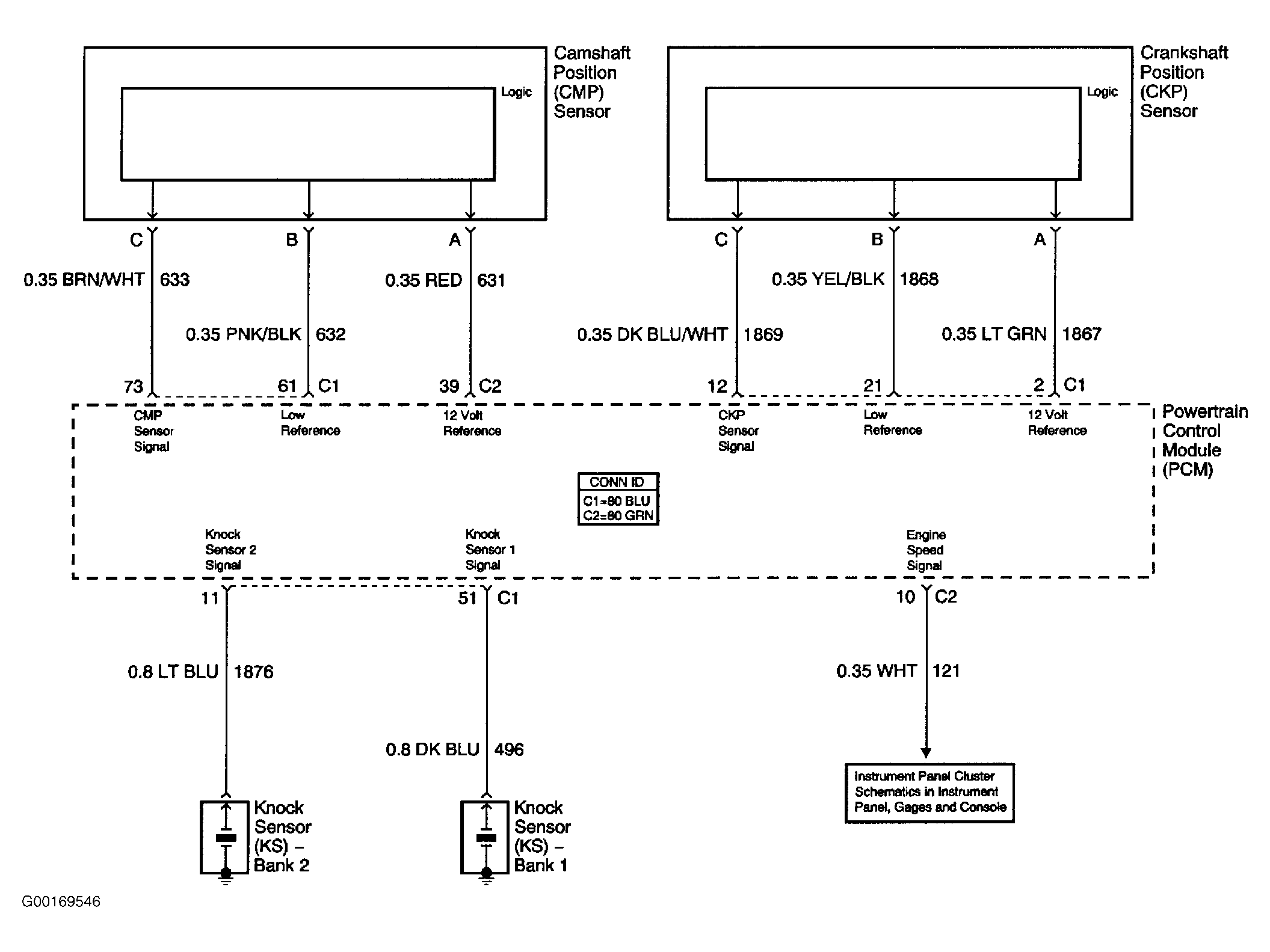
Fig 5: Camshaft Position, Crankshaft Position & Knock Sensors Electrical Schematic
G00169546Courtesy of GENERAL MOTORS CORP.