lemon-mirror:
Home >> Chevrolet >> 2003 >> SSR Base >> Repair and Diagnosis >> Brakes >> Antilock Brake System With Traction Control System >> Component Locator >> ABS Connector End Views

ABS Connector End Views

Center Console Switch Assembly Terminal Identification

GM1372723Courtesy of GENERAL MOTORS CORP.
Connector Part Information
  • 174910-2
  • 20-Way 04 Series Multilock I/O (BK)
Pin Wire Color Circuit No. Function
1 BN/WH 230 Instrument Panel Lamps Dimming Control
2 L-BU 166 Power Window Motor Right Up Signal
3 L-BU 195 Door Lock Control
4 OG 110 Retractable Roof Switch Up Signal
5-7 - - Not Used
8 BN/WH 1571 Traction Control Switch Signal
9 OG 2764 Power Window Motor Left Down Signal
10 BK 1350 Ground
11 - - Not Used
12 TN 167 Power Window Motor Right Down Signal
13 WH 194 Door Unlock Control
14 BN 100 Retractable Roof Switch Down Signal
15-17 - - Not Used
18 BN 341 Ignition 3 Voltage
19 L-GN 2763 Power Window Motor Left Up Signal
20 - - Not Used
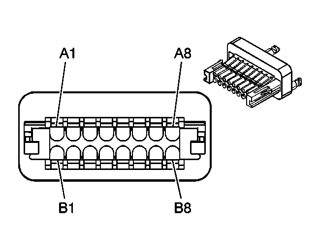
Electronic Brake Control Module (EBCM) C1 Terminal Identification

GM684792Courtesy of GENERAL MOTORS CORP.
Connector Part Information
  • 12052613
  • 2-Way F Metri-Pack 480 Series, Sealed (BK)
Pin Wire Color Circuit No. Function
A BK 1850 Ground
B RD 642 Battery Positive Voltage
Electronic Brake Control Module (EBCM) C2 Terminal Identification

GM365992Courtesy of GENERAL MOTORS CORP.
Connector Part Information
  • 12193519
  • 16-Way F Micro-Pack 100W Body (BK)/ TPA (Clear)
Pin Wire Color Circuit No. Function
A1 BN 441 Ignition 3 Voltage
A2 YE 873 Left Front Wheel Speed Sensor Low Reference
A3 D-GN 872 Right Front Wheel Speed Sensor Signal
A4 TN/BK 464 Delivered Torque Signal
A5-A7 - - Not Used
A8 BN/WH 1571 Traction Control Switch Signal
B1 YE/BK 1827 Vehicle Speed Signal
B2 L-BU 830 Left Front Wheel Speed Sensor Signal
B3 TN 833 Right Front Wheel Speed Sensor Low Reference
B4 OG/BK 463 Requested Torque Signal
B5 PU 420 TCC Brake Switch/Cruise Control Release Signal
B6 L-BU 1122 ABS/TCS Class 2 Serial Data
B7 - - Not Used
B8 PU 333 Brake Fluid Level Sensor Signal
Wheel Speed Sensor (WSS) Terminal Identification - LF

GM523630Courtesy of GENERAL MOTORS CORP.
Connector Part Information
  • 15326801
  • 2-Way F GT 150 Series (BK)
Pin Wire Color Circuit No. Function
A L-BU 830 Left Front Wheel Speed Sensor Signal
B YE 873 Left Front Wheel Speed Sensor Low Reference
Wheel Speed Sensor (WSS) Terminal Identification - RF

GM523630Courtesy of GENERAL MOTORS CORP.
Connector Part Information
  • 15326801
  • 2-Way F GT 150 Series (BK)
Pin Wire Color Circuit No. Function
A D-GN 872 Right Front Wheel Speed Sensor Signal
B TN 833 Right Front Wheel Speed Sensor Low Reference